Results for the query

Showing matches for "A63F2300/554".

158 records found

Figure Patent No. Title Assignee Issue Date
U.S. Pat. No. 10,569,178 U.S. Pat. App. No. 15/955,222 AUTOMATIC MOVEMENT OF PLAYER CHARACTER IN NETWORK GAME KABUSHIKI KAISHA SQUARE ENIX April 17, 2018
U.S. Pat. No. 10,532,279 U.S. Pat. App. No. 15/890,773 VIDEO GAMEPLAY HAPTICS Immersion Corporation February 7, 2018
U.S. Pat. No. 10,512,841 U.S. Pat. App. No. 15/792,682 Game State Save, Transfer and Resume for Cloud Gaming Sony Interactive Entertainment America LLC October 24, 2017
U.S. Pat. No. 10,118,100 U.S. Pat. App. No. 15/628,612 SYSTEMS AND METHODS FOR FITNESS AND VIDEO GAMES Unknown assignee June 20, 2017
U.S. Pat. No. 10,369,465 U.S. Pat. App. No. 15/614,586 SYSTEM AND METHOD FOR STREAMING GAME VIDEO Sony Interactive Entertainment America LLC June 5, 2017
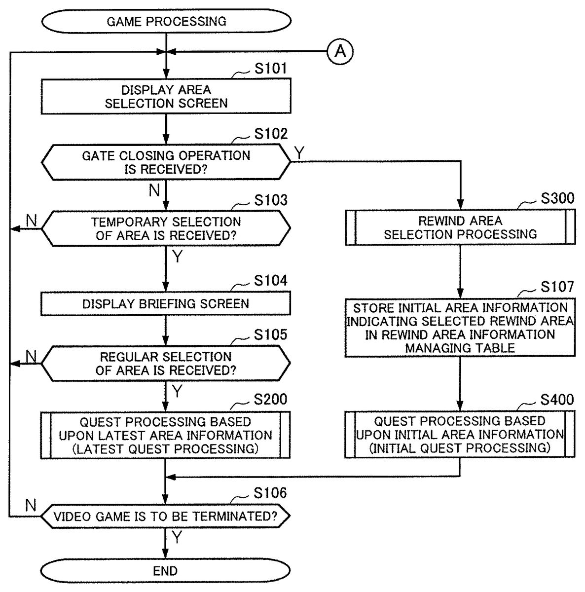
U.S. Pat. No. 10,150,035 U.S. Pat. App. No. 15/494,983 VIDEO GAME PROCESSING APPARATUS AND VIDEO GAME PROCESSING PROGRAM KABUSHIKI KAISHA SQUARE ENIX April 24, 2017
U.S. Pat. No. 10,486,066 U.S. Pat. App. No. 15/359,449 WEB-BASED GAME CONTROLLER Sony Interactive Entertainment America LLC November 22, 2016
U.S. Pat. No. 9,669,307 U.S. Pat. App. No. 15/097,207 System and Method for Streaming Game Video Sony Interactive Entertainment America LLC April 12, 2016
U.S. Pat. No. 10,029,182 U.S. Pat. App. No. 15/095,741 Method And System For Randomly Altering Information And Content In An Online Game Trivver, Inc. April 11, 2016
U.S. Pat. No. 9,975,049 U.S. Pat. App. No. 15/058,281 AUTOMATIC MOVEMENT OF PLAYER CHARACTER IN NETWORK GAME KABUSHIKI KAISHA SQUARE ENIX March 2, 2016

Disclaimer: Data collected from the USPTO and may be malformed, incomplete, and/or otherwise inaccurate.