Results for the query

Showing matches for "A63F13/573".

83 records found

Figure Patent No. Title Assignee Issue Date
U.S. Pat. No. 10,449,451 U.S. Pat. App. No. 15/690,671 VIDEO GAME WITH STEERING ASSIST THAT CONSIDERS PROXIMITY TO A COURSE EDGE Nintendo Co., Ltd. August 30, 2017
U.S. Pat. No. 10,596,467 U.S. Pat. App. No. 15/617,872 SYSTEM AND METHOD FOR DETERMINING CURVED PATH OF TRAVEL FOR A CHARACTER IN COVER MODE IN A GAME ENVIRONMENT Square Enix Ltd June 8, 2017
U.S. Pat. No. 10,653,964 U.S. Pat. App. No. 15/466,569 Transmitting Sensor Data Created in a Game Environment to a Set of Processors Outside the Game Environment Based on Predefined Event Determinations Murdock Wilbert Q; Williams Philip A March 22, 2017
U.S. Pat. No. 9,873,050 U.S. Pat. App. No. 15/446,172 METHOD FOR IMPLEMENTING A COMPUTER GAME KING.COM LTD. March 1, 2017
U.S. Pat. No. 9,943,760 U.S. Pat. App. No. 15/346,254 GAME CONSOLE AND GAMING OBJECT WITH MOTION PREDICTION MODELING AND METHODS FOR USE THEREWITH AVAGO TECHNOLOGIES GENERAL IP (SINGAPORE) PTE. LTD November 8, 2016
U.S. Pat. No. 9,950,255 U.S. Pat. App. No. 15/177,505 METHOD FOR IMPLEMENTING A COMPUTER GAME KING.COM LTD. June 9, 2016
U.S. Pat. No. 10,272,328 U.S. Pat. App. No. 15/174,429 METHOD OF DESIGNING MULTIPLE COMPUTER GAMES KING.COM LTD. June 6, 2016
U.S. Pat. No. 10,226,701 U.S. Pat. App. No. 15/142,468 SYSTEM AND METHOD FOR IDENTIFYING SPAWN LOCATIONS IN A VIDEO GAME ACTIVISION PUBLISHING, INC. April 29, 2016
U.S. Pat. No. 9,795,881 U.S. Pat. App. No. 14/524,903 CONTROLLING GROUPS OF GAME ENTITIES IN A VIDEO GAME IN A COLLECTIVE, COORDINATED, AND/OR COLLABORATIVE MANNER USING A GROUP ENTITY Disney Enterprises, Inc. October 27, 2014
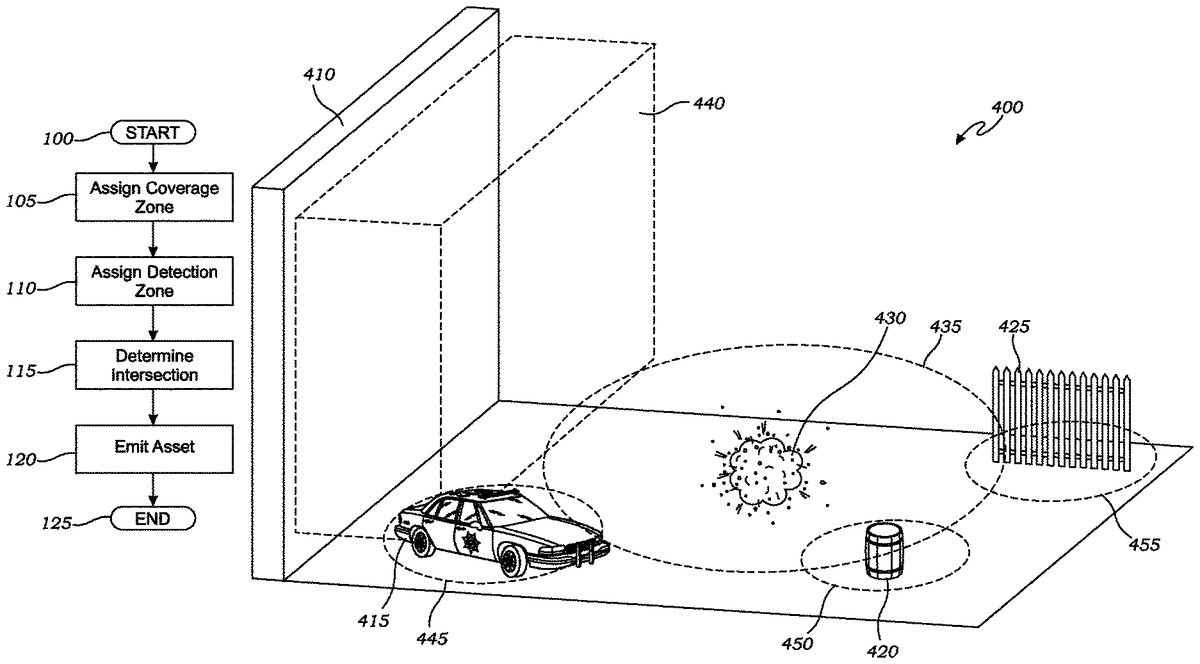
U.S. Pat. No. 10,532,286 U.S. Pat. App. No. 14/267,824 REACTIVE EMITTERS OF A VIDEO GAME EFFECT BASED ON INTERSECTION OF COVERAGE AND DETECTION ZONES ACTIVISION PUBLISHING, INC. May 1, 2014

Disclaimer: Data collected from the USPTO and may be malformed, incomplete, and/or otherwise inaccurate.