Results for the query

Showing matches for "A63F13/211".

288 records found

Figure Patent No. Title Assignee Issue Date
U.S. Pat. No. 12,042,719 U.S. Pat. App. No. 17/109,381 GAMEPLAY USING MOBILE DEVICE SENSORS Disney Enterprises, Inc. December 2, 2020
U.S. Pat. No. 11,684,851 U.S. Pat. App. No. 16/952,342 VIDEO GAME WITH MOBILE DEVICE INPUT DYNAMICS ACTIVISION PUBLISHING, INC. November 19, 2020
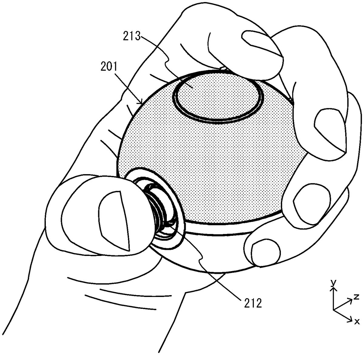
U.S. Pat. No. 11,504,608 U.S. Pat. App. No. 17/075,853 6DoF Inside-Out Tracking Game Controller Unknown assignee October 21, 2020
U.S. Pat. No. 11,907,412 U.S. Pat. App. No. 17/034,353 CONTEXTUAL SPECTATOR INCLUSION IN A VIRTUAL REALITY EXPERIENCE International Business Machines Corp September 28, 2020
U.S. Pat. No. 11,439,898 U.S. Pat. App. No. 17/027,075 GAME CONTROLLER NINTENDO CO., LTD. September 21, 2020
U.S. Pat. No. 11,331,570 U.S. Pat. App. No. 17/023,757 GAME SYSTEM, STORAGE MEDIUM HAVING STORED THEREIN GAME PROGRAM, INFORMATION PROCESSING APPARATUS, AND GAME PROCESSING METHOD Nintendo Co., Ltd. September 17, 2020
U.S. Pat. No. 11,439,919 U.S. Pat. App. No. 17/014,149 INTEGRATING COMMENTARY CONTENT AND GAMEPLAY CONTENT OVER A MULTI-USER PLATFORM Sony Interactive Entertainment LLC September 8, 2020
U.S. Pat. No. 11,273,375 U.S. Pat. App. No. 17/006,769 METHODS AND SYSTEMS FOR RENDERING VIRTUAL THREE-DIMENSIONAL FIELD OF PLAY FOR AR-ENHANCED GAMEPLAY EXPERIENCE Individual August 28, 2020
U.S. Pat. No. 11,400,377 U.S. Pat. App. No. 17/002,261 TECHNIQUES FOR VIDEO GAME INPUT COMPENSATION AND RELATED SYSTEMS AND METHODS Harmonix Music Systems, Inc. August 25, 2020
U.S. Pat. No. 11,491,398 U.S. Pat. App. No. 17/001,513 METHODS AND SYSTEMS FOR INCREASING ATTENTION ABILITY OF A USER USING A GAMEPLAY Individual August 24, 2020

Disclaimer: Data collected from the USPTO and may be malformed, incomplete, and/or otherwise inaccurate.