Results for the query

Showing matches for "Nintendo Co., Ltd.".

312 records found

Figure Patent No. Title Assignee Issue Date
U.S. Pat. No. 6,884,171 U.S. Pat. App. No. 09/954,436 VIDEO GAME DISTRIBUTION NETWORK Nintendo Co., Ltd. September 18, 2001
U.S. Pat. No. 6,454,652 U.S. Pat. App. No. 09/912,393 VIDEO GAME SYSTEM AND METHOD WITH ENHANCED THREE-DIMENSIONAL CHARACTER AND BACKGROUND CONTROL DUE TO ENVIRONMENTAL CONDITIONS Nintendo Co., Ltd. July 26, 2001
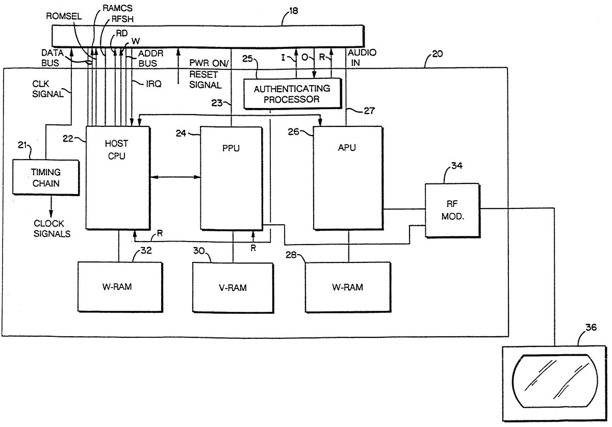
U.S. Pat. No. 7,432,932 U.S. Pat. App. No. 09/855,641 EXTERNAL MEMORY SYSTEM HAVING PROGRAMMABLE GRAPHICS PROCESSOR FOR USE IN A VIDEO GAME SYSTEM OR THE LIKE Nintendo Co., Ltd. May 15, 2001
U.S. Pat. No. 6,894,686 U.S. Pat. App. No. 09/854,942 SYSTEM AND METHOD FOR AUTOMATICALLY EDITING CAPTURED IMAGES FOR INCLUSION INTO 3D VIDEO GAME PLAY Nintendo Co., Ltd. May 15, 2001
U.S. Pat. No. 7,070,507 U.S. Pat. App. No. 09/814,953 VIDEO GAME SYSTEM Nintendo Co., Ltd. March 23, 2001
U.S. Pat. No. 6,699,127 6,699,127: Real-time replay system for video game Nintendo Co., Ltd. Unavailable
U.S. Pat. No. 6,626,760 Video Game Apparatus and Memory Medium Therefor Nintendo Co., Ltd. Unavailable
U.S. Pat. No. 6,491,585 Three-Dimensional Image Processing Apparatus With Enhanced Automatic and User Point of View Control Nintendo Co., Ltd. Unavailable
U.S. Pat. No. 6,331,146 Video Game System and Method With Enhanced Three-Dimensional Character and Background Control Nintendo Co., Ltd. Unavailable
U.S. Pat. No. 6,261,179 Video Game System and Video Game Memory Medium Nintendo Co., Ltd. Unavailable

Disclaimer: Data collected from the USPTO and may be malformed, incomplete, and/or otherwise inaccurate.