Results for the query

Showing matches for "A63F13/98".

245 records found

Figure Patent No. Title Assignee Issue Date
U.S. Pat. No. 8,540,573 U.S. Pat. App. No. 13/476,740 GAME OBJECT CONTROL USING POINTING INPUTS TO ROTATE A DISPLAYED VIRTUAL OBJECT CONTROL DEVICE Nintendo Co Ltd May 21, 2012
U.S. Pat. No. 8,378,630 U.S. Pat. App. No. 13/468,994 VIDEO GAME CONTROLLER CHARGING SYSTEM HAVING A DOCKING STRUCTURE Nyko Technologies, Inc. May 10, 2012
U.S. Pat. No. 9,649,565 U.S. Pat. App. No. 13/461,508 SERVER BASED INTERACTIVE VIDEO GAME WITH TOYS ACTIVISION PUBLISHING, INC. May 1, 2012
U.S. Pat. No. 9,180,364 U.S. Pat. App. No. 13/445,495 GAME CONTROLLER ADAPTED FOR USE BY MOBILITY IMPAIRED PERSONS LP ACCESSIBLE TECHNOLOGIES, LLC April 12, 2012
U.S. Pat. No. 8,536,832 U.S. Pat. App. No. 13/417,147 VIDEO GAME CONTROLLER CHARGING SYSTEM HAVING A DOCKING STRUCTURE Nyko Technologies, Inc. March 9, 2012
U.S. Pat. No. 8,608,576 U.S. Pat. App. No. 13/403,828 LENS ACCESSORY FOR VIDEO GAME SENSOR DEVICE Nyko Technologies, Inc. February 23, 2012
U.S. Pat. No. 9,827,502 U.S. Pat. App. No. 13/359,361 INTERACTIVE VIDEO GAME WITH TOYS HAVING SPECIAL EFFECTS Activision Publishing, Inc. January 26, 2012
U.S. Pat. No. 8,888,593 U.S. Pat. App. No. 13/333,786 DIRECTIONAL INPUT FOR A VIDEO GAME Sony Computer Entertainment Inc. December 21, 2011
U.S. Pat. No. 8,439,755 U.S. Pat. App. No. 13/331,190 GAME CONTROLLER USING KISS Unknown assignee December 20, 2011
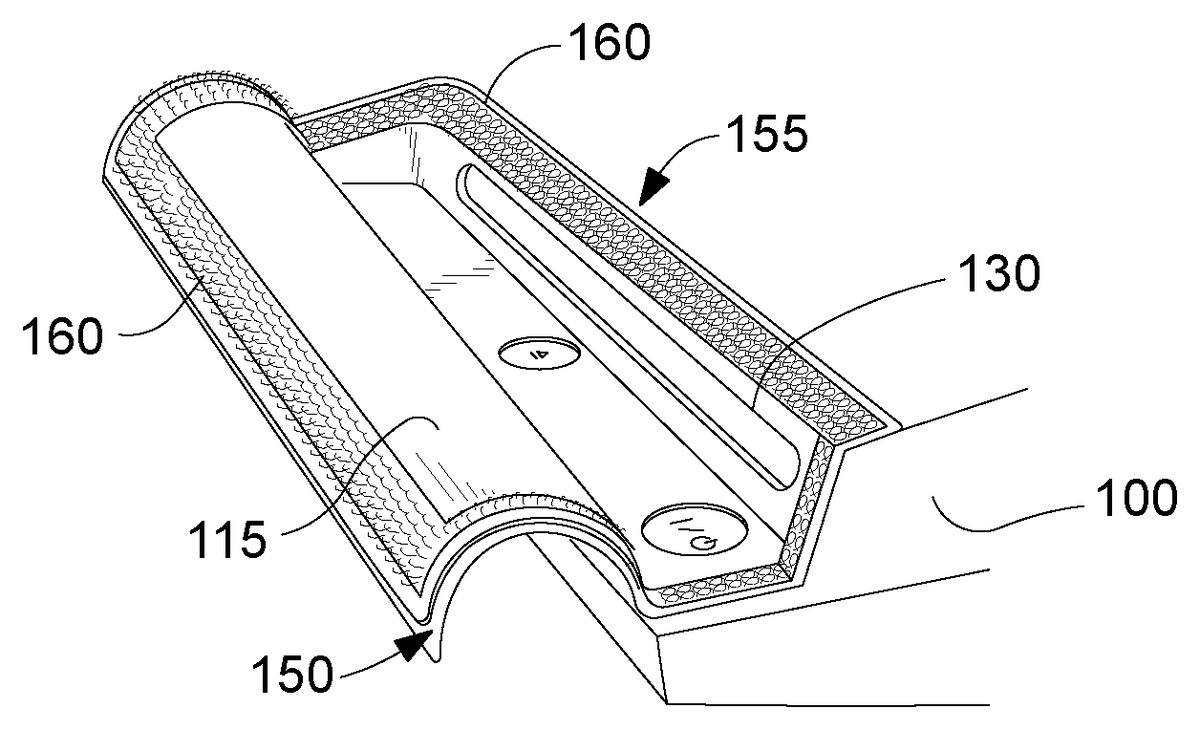
U.S. Pat. No. 8,568,241 U.S. Pat. App. No. 13/221,492 APPARATUS FOR COVERING A GAME CONSOLE Unknown assignee August 30, 2011

Disclaimer: Data collected from the USPTO and may be malformed, incomplete, and/or otherwise inaccurate.