Results for the query

Showing matches for "A63F13/92".

336 records found

Figure Patent No. Title Assignee Issue Date
U.S. Pat. No. 11,376,506 U.S. Pat. App. No. 16/148,915 LEVERAGING ONLINE GAME GOALS AND ECONOMY TO DRIVE OFF-LINE Unknown assignee October 1, 2018
U.S. Pat. No. 10,806,997 U.S. Pat. App. No. 16/120,143 UNIVERSAL GAME CONTROLLER/CONSOLE TABLET CONSOLE GAMES INC. August 31, 2018
U.S. Pat. No. 10,841,632 U.S. Pat. App. No. 16/058,806 SEQUENTIAL MULTIPLAYER STORYTELLING IN CONNECTED VEHICLES Disney Enterprises Inc August 8, 2018
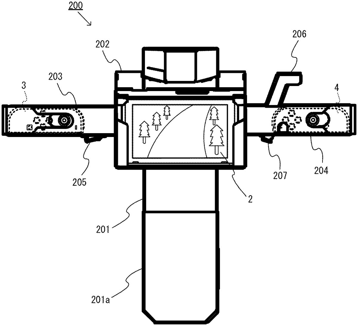
U.S. Pat. No. 10,888,770 U.S. Pat. App. No. 16/018,470 GAME SYSTEM, ACCESSORY, STORAGE MEDIUM HAVING STORED THEREIN GAME PROGRAM, AND GAME PROCESSING METHOD Nintendo Co., Ltd. June 26, 2018
U.S. Pat. No. 10,610,782 U.S. Pat. App. No. 15/977,157 GAME SYSTEM, NON-TRANSITORY STORAGE MEDIUM HAVING GAME PROGRAM STORED THEREIN, GAME APPARATUS, AND GAME PROCESSING METHOD Nintendo Co., Ltd. May 11, 2018
U.S. Pat. No. 10,688,396 U.S. Pat. App. No. 15/963,047 Second Screen Virtual Window Into VR Environment Sony Interactive Entertainment Inc. April 25, 2018
U.S. Pat. No. 10,376,779 U.S. Pat. App. No. 15/945,930 METHOD FOR IMPLEMENTING A COMPUTER GAME KING.COM LTD. April 5, 2018
U.S. Pat. No. 10,661,178 U.S. Pat. App. No. 15/939,913 NON-TRANSITORY STORAGE MEDIUM HAVING STORED THEREIN INFORMATION PROCESSING PROGRAM, INFORMATION PROCESSING DEVICE, INFORMATION PROCESSING METHOD, AND INFORMATION PROCESSING SYSTEM FOR POSSESSING A VIRTUAL CHARACTER IN A VIRTUAL SPACE Nintendo Co., Ltd. March 29, 2018
U.S. Pat. No. 11,185,764 U.S. Pat. App. No. 15/919,683 METHOD FOR CONTROLLING GAME CHARACTER NetEase (Hangzhou) Network Co., Ltd. March 13, 2018
U.S. Pat. No. 10,625,151 U.S. Pat. App. No. 15/910,678 METHOD FOR CONTROLLING GAME CHARACTER AND METHOD FOR CONTROLLING VIRTUAL CONTROL COMPONENT NETEASE (HANGZHOU) NETWORK CO., LTD. March 2, 2018

Disclaimer: Data collected from the USPTO and may be malformed, incomplete, and/or otherwise inaccurate.