Results for the query

Showing matches for "A63F13/73".

127 records found

Figure Patent No. Title Assignee Issue Date
U.S. Pat. No. 8,317,606 U.S. Pat. App. No. 12/349,601 LIVE AUTHORING METHOD FOR REAL TIME DEVELOPMENT OF VIDEO GAMES Disney Enterprises, Inc. January 7, 2009
U.S. Pat. No. 8,578,510 U.S. Pat. App. No. 12/147,459 ANTI-PIRACY MEASURES FOR A VIDEO GAME USING HIDDEN SECRETS Valve Corporation June 26, 2008
U.S. Pat. No. 8,251,823 U.S. Pat. App. No. 11/947,367 VIDEO GAME PROCESSING APPARATUS, A METHOD AND A COMPUTER PROGRAM PRODUCT FOR PROCESSING A VIDEO GAME Kabushiki Kaisha Square Enix November 29, 2007
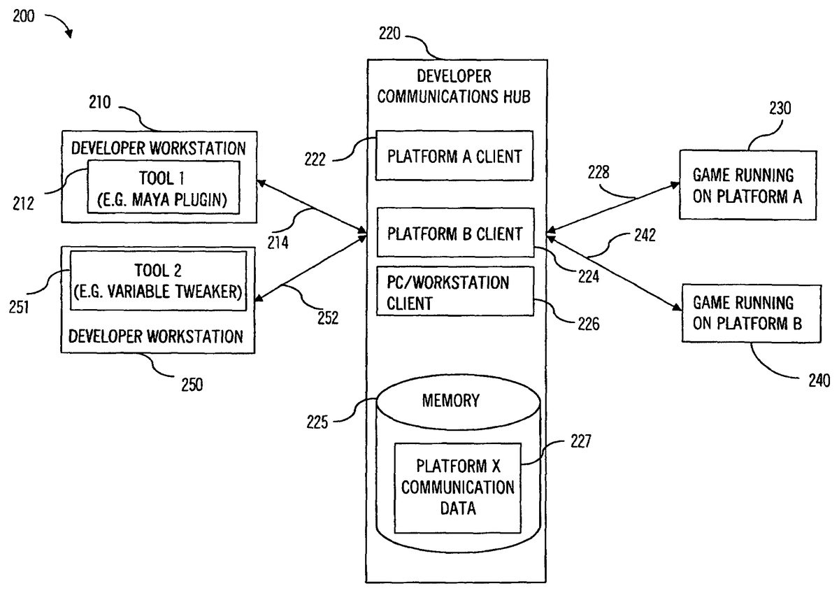
U.S. Pat. No. 9,526,995 U.S. Pat. App. No. 11/848,451 Video Game Recording and Playback with Visual Display of Game Controller Manipulation SONY INTERACTIVE ENTERTAINMENT AMERICA LLC August 31, 2007
U.S. Pat. No. 7,806,768 U.S. Pat. App. No. 11/667,775 GAME SYSTEM AND METHOD FOR CONTROLLING GAME SYSTEM, GAME SERVER DEVICE THEREFOR, AND GAME DEVICE THEREFOR Konami Digital Entertainment Co Ltd May 15, 2007
U.S. Pat. No. 7,883,420 U.S. Pat. App. No. 11/530,863 VIDEO GAME SYSTEMS Mattel, Inc. September 11, 2006
U.S. Pat. No. 9,180,369 U.S. Pat. App. No. 11/397,733 Method and system supporting audited reporting of advertising impressions from video games Google Inc. April 5, 2006
U.S. Pat. No. 9,604,146 U.S. Pat. App. No. 11/328,490 Apparatus and method to play a multiplayer, online game International Business Machines Corporation January 6, 2006
U.S. Pat. No. 7,789,757 U.S. Pat. App. No. 11/233,383 VIDEO GAMES ON DEMAND WITH ANTI-PIRACY SECURITY AT&T Intellectual Property I, L.P. September 22, 2005
U.S. Pat. No. 8,608,535 U.S. Pat. App. No. 11/183,592 Systems and methods for providing an interactive game MQ Gaming LLC July 18, 2005

Disclaimer: Data collected from the USPTO and may be malformed, incomplete, and/or otherwise inaccurate.