Results for the query

Showing matches for "G06Q30/02".

124 records found

Figure Patent No. Title Assignee Issue Date
U.S. Pat. No. 8,734,229 U.S. Pat. App. No. 12/710,641 AGREEMENTS IN VIDEO GAMES PERMITTING VIRTUAL AND REAL WORLD PENALTIES OBLIGATIONS AND REMEDIES Leviathan Entertainment, LLC February 23, 2010
U.S. Pat. No. 8,881,030 U.S. Pat. App. No. 12/583,756 System and method for enhancing socialization in virtual worlds Disney Enterprises Inc August 24, 2009
U.S. Pat. No. 10,325,266 U.S. Pat. App. No. 12/473,668 REWARDING CLASSES OF PURCHASERS SONY INTERACTIVE ENTERTAINMENT AMERICA LLC May 28, 2009
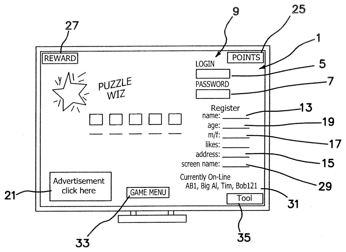
U.S. Pat. No. 8,065,702 U.S. Pat. App. No. 12/391,199 NETWORK ADVERTISING AND GAME PLAYING Beneficial Innovations, Inc. February 23, 2009
U.S. Pat. No. 8,260,858 U.S. Pat. App. No. 12/266,220 HOSTING MASSIVELY MULTIPLAYER ONLINE GAMING VIA MOBILE DEVICES AT&T Intellectual Property I, L.P. November 6, 2008
U.S. Pat. No. 9,324,021 U.S. Pat. App. No. 12/208,786 AVOIDING NON-INTENTIONAL SEPARATION OF AVATARS IN A VIRTUAL WORLD International Business Machines Corporation September 11, 2008
U.S. Pat. No. 8,480,496 U.S. Pat. App. No. 12/116,625 ONLINE GAME SERVER, ONLINE GAME PROGRAM PRODUCT AND GAME APPARATUS Kabushiki Kaisha Square Enix May 7, 2008
U.S. Pat. No. 8,659,623 U.S. Pat. App. No. 12/109,553 THREE-DIMENSIONAL (3D) VIRTUAL WORLD WORMHOLES International Business Machines Corporation April 25, 2008
U.S. Pat. No. 8,029,359 U.S. Pat. App. No. 12/057,276 PROVIDING OFFERS TO COMPUTER GAME PLAYERS World Golf Tour, Inc. March 27, 2008
U.S. Pat. No. 8,382,581 U.S. Pat. App. No. 11/959,162 ONLINE GAMING AND REWARDS SYSTEM inXile Entertainment, Inc. December 18, 2007

Disclaimer: Data collected from the USPTO and may be malformed, incomplete, and/or otherwise inaccurate.