Results for the query

Showing matches for "A63F2300/5533".

147 records found

Figure Patent No. Title Assignee Issue Date
U.S. Pat. No. 8,453,219 U.S. Pat. App. No. 13/590,173 SYSTEMS AND METHODS OF ASSESSING PERMISSIONS IN VIRTUAL WORLDS Unknown assignee August 20, 2012
U.S. Pat. No. 8,727,877 U.S. Pat. App. No. 13/568,442 DEVICE FOR CONTROLLING PLAYER CHARACTER DIALOG IN A VIDEO GAME LOCATED ON A COMPUTER READABLE STORAGE MEDIUM Unknown assignee August 7, 2012
U.S. Pat. No. 9,597,599 U.S. Pat. App. No. 13/527,187 COMPANION GAMING EXPERIENCE SUPPORTING NEAR-REAL-TIME GAMEPLAY DATA Microsoft Technology Licensing LLC June 19, 2012
U.S. Pat. No. 9,649,568 U.S. Pat. App. No. 13/483,374 GAME SYSTEM FOR CHANGING A DIFFICULTY LEVEL OF A GAME KABUSHIKI KAISHA SQUARE ENIX May 30, 2012
U.S. Pat. No. 9,220,982 U.S. Pat. App. No. 13/464,871 CROSS-REALM ZONES FOR INTERACTIVE GAMEPLAY Blizzard Entertainment Inc May 4, 2012
U.S. Pat. No. 9,649,565 U.S. Pat. App. No. 13/461,508 SERVER BASED INTERACTIVE VIDEO GAME WITH TOYS ACTIVISION PUBLISHING, INC. May 1, 2012
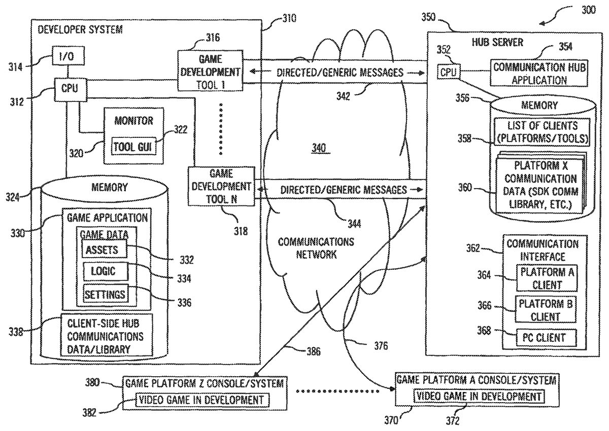
U.S. Pat. No. 9,149,721 U.S. Pat. App. No. 13/439,002 COMMUNICATION HUB FOR VIDEO GAME DEVELOPMENT SYSTEMS DISNEY ENTERPRISES, INC. April 4, 2012
U.S. Pat. No. 8,506,410 U.S. Pat. App. No. 13/347,226 AUTOMATIC MOVEMENT OF PLAYER CHARACTER IN NETWORK GAME Kabushiki Kaisha Square Enix January 10, 2012
U.S. Pat. No. 9,152,914 U.S. Pat. App. No. 13/341,255 AUTOMATIC INCREASING OF CAPACITY OF A VIRTUAL SPACE IN A VIRTUAL WORLD Activision Publishing Inc December 30, 2011
U.S. Pat. No. 9,550,121 U.S. Pat. App. No. 13/298,595 System and Method for Enabling Characters to be Manifested Within A Plurality of Different Virtual Spaces Disney Enterprises, Inc. November 17, 2011

Disclaimer: Data collected from the USPTO and may be malformed, incomplete, and/or otherwise inaccurate.