U.S. Patent No. 10,363,481: System for multi-user communications using discrete video game platforms
Issued July 30, 2019, to Nintendo Co. Ltd
Filed June 30, 2016 (claiming priority to August 21, 2001)
Overview:
U.S. Patent No. 10,363,481 (the ‘481 patent) relates to player characters having and visiting unique player environments through coupling hardware, allowing nonplayer characters (“NPCs”) to move in and out of the environments and some NPCs to become accessible. The ‘481 patent details a game-playing system with several game-playing devices, each device having instructions for establishing and running a unique gaming environment, including resident characters, determined (at least in part) by random data. Game data is stored on a physically moveable handheld object (a “memory card”), coupleable to individual game-playing devices.
When a first game-playing device is executing the game software, it is configured to present a first gaming environment. When executing the game, the first game-playing device reads character-related data from at least one memory card to activate an avatar in the first gaming environment, usable in the environment, on the condition it is coupled to at least one memory card.
The game-playing device modifies the character data, consistent with player interactions with the software, and writes the modified data onto at least one memory card. The avatar is made unavailable in the first gaming environment in response to a decoupling of at least one memory card from the device, but can become available upon recoupling. The game playing device still allows interaction with the first gaming environment despite a memory card being no longer coupled.
A second game-playing device executing the game software presents a second gaming environment, different from the first. In response to at least one memory card being coupled to the second game-playing device after the modified character-related data has been written on said memory card, the game-playing device reads the modified data to activate the avatar in the second gaming environment, now with modified attributes. The modified character-related data is further modified consistent with the player’s interactions with the software.
Successive coupling involving at least one memory card enables another character, different from the avatar, to be available in the gaming environments of the coupled-to game-playing devices without player knowledge of at least the initial transfer.
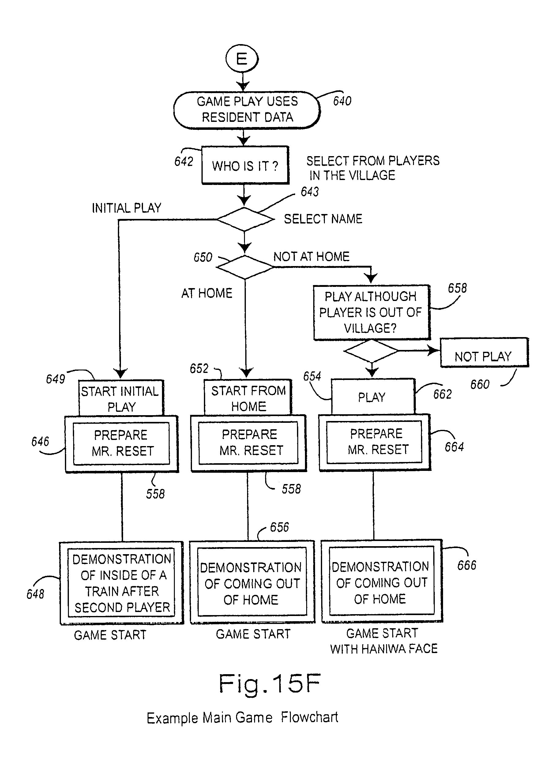
The ‘481 patent relates to Animal Crossing for the GameCube, specifically visiting other players’ towns and the moving in and out of characters.
The ‘481 patent also includes the Gyroid/Haniwa face Easter egg, which is a replacement face for an avatar if it is loaded while “out of town” or the character-associated memory card is not plugged in.
Nowadays, when one wants to visit their friend’s Animal Crossing village (or island as in Animal Crossing: New Horizons), they simply need to connect to the internet and enter a friend code (or a Dodo code) to make a quick trip. The GameCube version, on the other hand, had two memory card slots which could be used for village visiting. To visit a friend’s village, you would simply plug the memory card associated with their village into memory card slot B, load into your village as normal (with the normal memory card associated with your village in slot A), and hop on the train in your village to check out their town. If the friend would try to load into their village, on their GameCube without the memory card, their character would load with the dreaded Gyroid face.
Every time players would visit each other’s worlds, villagers would move from one village to the other. This was really upsetting to some young players, so subsequent versions have grown less and less harsh about villagers moving. It is also possible that the enabling of characters not previously available in the ‘481 patent relates to Blanca, who appears only on the train in between villages, as well as new villagers or existing villagers from a friend’s village moving in.
With Nintendo discontinuing Wi-Fi service for the Nintendo DS and Wii, Animal Crossing: Wild World and Animal Crossing: City Folk, no longer have multiplayer, making the GameCube Animal Crossing one of the only older installments in the series still offering the ability to visit friends’ worlds. This method of game sharing has made it one of the most long-lasting!
Abstract:
A multi-user video game with communications capabilities allows players to communicate with one another via simulated mail, leaflets and conversations. Different installations of the game on different discrete video game playing platforms may be unique or different depending upon random or other data available at the platform. For example, different installations may have different subsets of characters, different landscapes, or the like. Player characters from one virtual environment or village may visit another virtual environment or village and return home to his or her resident environment or village. Non-player characters may move from one virtual environment or village to another—thereby providing an ever-changing variety of characters. Communications between different game playing platforms can be provided via portable memory devices, portable game playing devices, or conventional communications means such as networks.
Illustrative Claim:
- A game-playing system comprising:
a plurality of game-playing devices, each game-playing device being configured to execute, using a processor thereof, game software, the game software including instructions to establish a unique gaming environment for the game-playing device on which it is being executed, the respective gaming environments each including resident characters and being based at least in part on random data; and
at least one physically movable, portable handheld object including non-volatile read/write memory that tangibly stores game character-related data usable in connection with the game software, the at least one object being intermittently coupleable to individual ones of the game-playing devices, wherein the at least one object is not a game-playing device in the plurality of game-playing devices;
wherein a first game-playing device from the plurality of game-playing devices executing game software thereon is configured to present a first gaming environment and, consistent with player-interaction with the game software being executed thereon:
read character-related data from the at least one object to activate an avatar in the first gaming environment, the avatar having attributes defined at least in part by the read character-related data and being usable in the first gaming environment conditioned on the at least one object being coupled to the first game-playing device,
modify the character-related data,
write the modified character-related data to the at least one object, and
make the avatar unavailable in the first gaming environment, responsive to decoupling of the at least one object from the first game-playing device, the first game-playing device still permitting player-interaction with the first gaming environment even though the at least one object is no longer coupled thereto;
wherein a second game-playing device from the plurality of game-playing devices, different from the first game-playing device, executing game software thereon, is configured to present a second gaming environment that is different from the first gaming environment and:
responsive to the at least one object being coupled to the second game-playing device after the modified character-related data has been written to the at least one object, read the modified character-related data from the at least one object to activate the avatar in the second gaming environment, the avatar now having modified attributes defined at least in part by the read modified character-related data and now being usable in the second gaming environment conditioned on the at least one object being coupled to the second game-playing device, and
further modify the modified character-related data, consistent with player-interaction with the game software being executed on the second game-playing device;
wherein the at least one object is manufactured to include a human-perceivable visual appearance that correlates with how the avatar is to be displayed in the gaming environments presented by the respective game-playing devices;
wherein successive coupling operations involving the at least one object enable a further character, different from the avatar, to be made available in the gaming environments of successively coupled-to game-playing devices without human game-player knowledge of at least the initial transfer to the at least one portable object.




