U.S. Patent No. 8,882,590: Touch-controlled game character motion providing dynamically-positioned virtual control pad
Issue November 11, 2014, to Nintendo Co., Ltd.
Priority Date April 28, 2006
Summary:
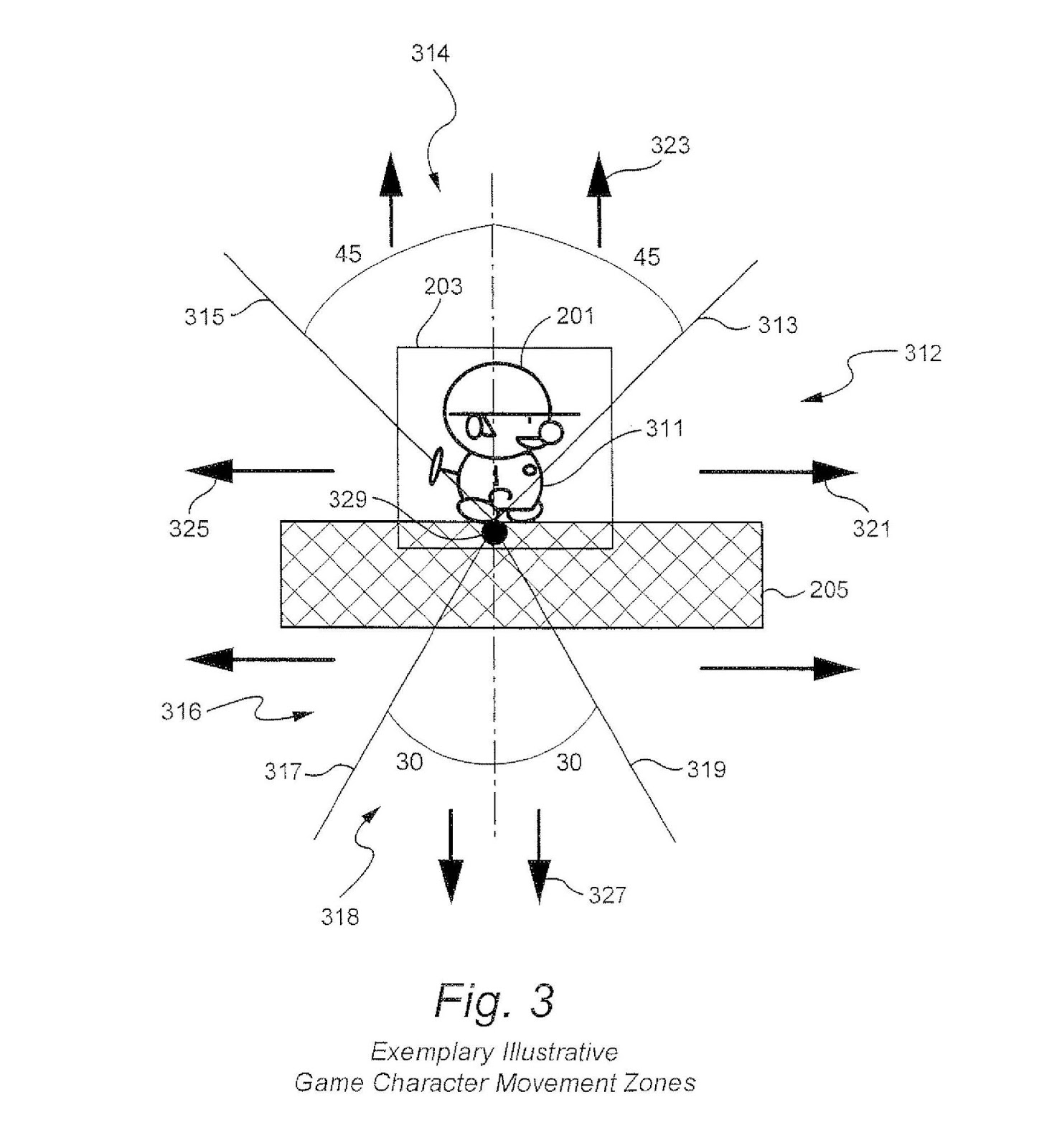
U.S. Patent No. 8,882,590 (the ‘590 Patent) describes a method to control a game through touch controls. The ‘590 Patent relates to the Nintendo DS and its touch screen. On the DS, a player could move a game character by touching the bottom screen. If the player wanted the character to move to the right, he would first need to touch the screen then move his finger or the stylus to the right. At the first point of contact, the system divides the screen into multiple zones around that point of contact. Each zone indicates a direction, so when the player moves his finger to the right, the system moves the character to the right.
Abstract:
Methods and apparatus for controlling movement of a digital object displayed on a screen provide a virtual dynamic direction control pad based on zone detection and touch stroke direction to control customized animated character motion. A player wishing to move the digital object can use a stylus or other touch to indicate a first point on the screen. When the player first touches the stylus to the screen, the system analyzes the touch and divides the screen into multiple zones around the first point indicated by the player. To move the object, the player moves the stylus to a second point on the screen. Movement of the stylus to a second point within one of these zones causes the digital object to perform a predetermined action. Each zone has a predetermined associated action. Direct control of character motion by the game player is enhanced.
Illustrative Claim:
1. A method of controlling movement of a moveable digital object displayed on a touch screen that is coupled to at least one processor, the method comprising: displaying the moveable digital object on the touch screen; using a touch to the touch screen to select the moveable digital object and indicate a first touch point on the touch screen corresponding to the displayed digital object; automatically dynamically dividing, using the at least one processor, the screen into plural virtual zones that (1) are associated with the first touch point, and (2) emanate from a neighborhood determined in accordance with the selected moveable digital object; detecting a further touch to at least a second touch point on the touch screen different from the first point; determining, using the at least one processor, in which of said automatically divided plural virtual zones said second touch point is disposed within to thereby select one of said plural virtual zones; and controlling, using the at least one processor, the movable digital object to perform an action that moves the movable digital object based at least in part on said which of said determined virtual zones is selected by said second touch point.
