U.S. Patent No. 3,659,285: Television gaming apparatus and method
Issued April 25, 1972, to Lockheed Sanders Inc.
Priority Date August 21, 1969
Summary:
U.S. Patent No. 3,659,285 (the ‘285 Patent) relates to U.S. Patent No. 3,728,480, titled Television gaming and training apparatus. Both patents are connected to the Magnavox Odyssey, the first commercial home video game console. The ‘285 Patent describes a method for providing visual feedback to the players. The television generates two types of symbols: a “HIT” dot and “HITTING” dot. “HITTING” dots are the players while the “HIT” dot is the ball. The “HITTING” dots move on a vertical axis on the sides of the screen, while the “HIT” dot moves on a horizontal axis in-between the two “HITTING” dots. “HITTING” dots can change the direction of the “HIT” dot by touching the “HIT” dot. The ‘285 Patent describes a type of game that would later be called Pong by Atari. Magnavox would sue Atari for infringement, but the case settled when Magnavox granted Atari a license.
The ‘285 Patent also describes a target shooting game as well. Target symbols are generated and move across the screen like a shooting gallery. Players use a light gun controller to shoot the target symbols. The symbols would reverse direction when hit, but disappear off screen if missed.
Abstract:
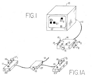
Apparatus and methods are herein disclosed for use in conjunction with standard monochrome and color television receivers, for the generation, display and manipulation of symbols upon the screen of the television receivers for the purpose of playing games, training simulation and for engaging in other activities by one or more participants. The invention comprises in one embodiment a control unit, connecting means and in some applications a television screen overlay mask utilized in conjunction with a standard television receiver. The control unit includes the control means, switches and electronic circuitry for the generation, manipulation and control of video signals representing symbols which are to be displayed on the television screen. The symbols are generated by voltage controlled delay of pulses and coincidence gating. The connecting means couples the video signals to the receiver antenna terminals thereby using existing electronic circuits within the receiver to process and display the signals. An overlay mask which may be removably attached to the television screen may determine the nature of the game to be played. Control units may be provided for each of the participants. Alternatively, games may be carried out in conjunction with background and other pictorial information originated in the television receiver by commercial TV, closedcircuit TV or a CATV station.
Illustrative Claim:
7. Apparatus for playing handball type games by displaying and manipulating symbols on the screen of a cathode ray tube, comprising: means for generating a first ””hitting”” dot; means for generating a ””second”” hitting dot; means for generating a ””hit”” dot; means for generating a wall symbol; means for changing the vertical position of said first ””hitting”” dot; means for changing the vertical position of said second ””hitting”” dot; means for causing said hit dot to move off-screen away from said wall dot when coincidence is not made between eight of said ””hitting”” dots and said ””hit”” dot; means for changing said off-screen position; means for denoting coincidence between said first ””hitting”” dot and said ””hit”” dot; means for denoting coincidence between said second ””hitting”” dot and said ””hit”” dot; means for causing said ””hit”” dot to change horizontal direction upon coincidence between said ””hit”” dot and either of said ””hitting”” dots; means for denoting coincidence between said ””hit”” dot and said wall symbol; means for causing said ””hit”” dot to change horizontal direction upon coincidence between said ””hit”” dot and said wall symbol; and means for displaying said dots upon the screen of said cathode ray tube.
P.S. Happy Holidays!
