Results for the query

Showing matches for "WARNER BROS. ENTERTAINMENT INC.".

9 records found

Figure Patent No. Title Assignee Issue Date
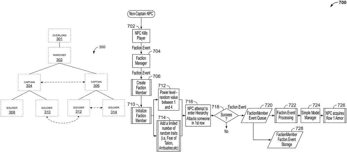
U.S. Pat. No. 12,201,908 U.S. Pat. App. No. 18/144,798 NEMESIS CHARACTERS, NEMESIS FORTS, SOCIAL VENDETTAS AND FOLLOWERS IN COMPUTER GAMES Warner Bros. Entertainment Inc. May 8, 2023
U.S. Pat. No. 11,766,607 U.S. Pat. App. No. 17/962,237 PORTAL DEVICE AND COOPERATING VIDEO GAME MACHINE WARNER BROS. ENTERTAINMENT INC. October 7, 2022
U.S. Pat. No. 11,911,693 U.S. Pat. App. No. 17/432,799 INTER-VEHICLE ELECTRONIC GAMES WARNER BROS. ENTERTAINMENT INC. February 8, 2022
U.S. Pat. No. 11,660,540 U.S. Pat. App. No. 17/182,239 NEMESIS CHARACTERS, NEMESIS FORTS, SOCIAL VENDETTAS AND FOLLOWERS IN COMPUTER GAMES WARNER BROS. ENTERTAINMENT INC. February 23, 2021
U.S. Pat. No. 11,561,890 U.S. Pat. App. No. 17/169,470 AUTOMATED VIDEOGAME TESTING Warner Bros. Entertainment Inc. February 7, 2021
U.S. Pat. No. 11,478,695 U.S. Pat. App. No. 16/813,725 PORTAL DEVICE AND COOPERATING VIDEO GAME MACHINE WARNER BROS. ENTERTAINMENT INC. March 9, 2020
U.S. Pat. No. 10,583,352 U.S. Pat. App. No. 15/727,531 PORTAL DEVICE AND COOPERATING VIDEO GAME MACHINE WARNER BROS. ENTERTAINMENT INC. October 6, 2017
U.S. Pat. No. 10,926,179 U.S. Pat. App. No. 15/081,732 NEMESIS CHARACTERS, NEMESIS FORTS, SOCIAL VENDETTAS AND FOLLOWERS IN COMPUTER GAMES WARNER BROS. ENTERTAINMENT INC. March 25, 2016
U.S. Pat. No. 8,444,485 U.S. Pat. App. No. 12/536,363 SEAMLESS USER NAVIGATION BETWEEN HIGH-DEFINITION MOVIE AND VIDEO GAME IN DIGITAL MEDIUM Warner Bros. Entertainment Inc. August 5, 2009

Disclaimer: Data collected from the USPTO and may be malformed, incomplete, and/or otherwise inaccurate.