Results for the query

Showing matches for "SONY INTERACTIVE ENTERTAINMENT AMERICA LLC".

48 records found

Figure Patent No. Title Assignee Issue Date
U.S. Pat. No. 10,486,064 U.S. Pat. App. No. 16/416,190 Sharing Buffered Gameplay in Response to an Input Request Sony Interactive Entertainment America LLC May 18, 2019
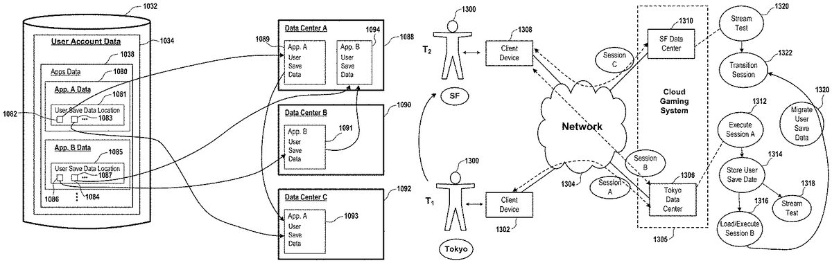
U.S. Pat. No. 10,583,360 U.S. Pat. App. No. 16/004,280 STREAM TESTING FOR CLOUD GAMING Sony Interactive Entertainment America LLC June 8, 2018
U.S. Pat. No. 10,583,366 U.S. Pat. App. No. 15/981,143 ONLINE VIDEO GAME SERVICE WITH SPLIT CLIENTS Sony Interactive Entertainment America LLC May 16, 2018
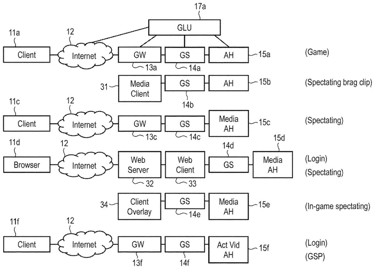
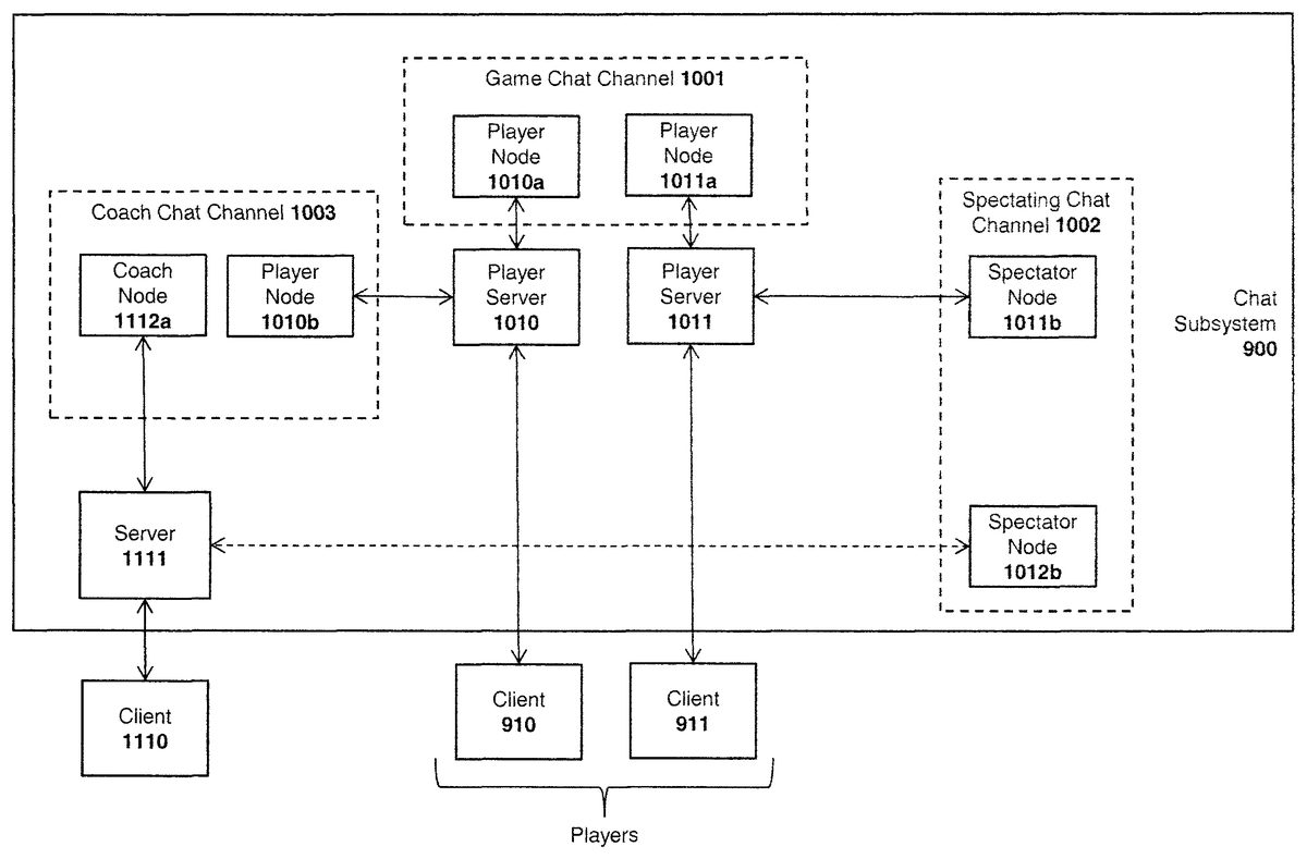
U.S. Pat. No. 10,335,691 U.S. Pat. App. No. 15/948,883 System and Method for Managing Audio and Video Channels for Video Game Players and Spectators Sony Interactive Entertainment America LLC April 9, 2018
U.S. Pat. No. 10,668,382 U.S. Pat. App. No. 15/905,796 Augmenting Virtual Reality Video Games With Friend Avatars Sony Interactive Entertainment America LLC February 26, 2018
U.S. Pat. No. 10,665,265 U.S. Pat. App. No. 15/887,948 Event Reel Generator for Video Content Sony Interactive Entertainment America LLC February 2, 2018
U.S. Pat. No. 10,532,290 U.S. Pat. App. No. 15/859,632 SHARING RECORDED GAMEPLAY TO A SOCIAL GRAPH Sony Interactive Entertainment America LLC December 31, 2017
U.S. Pat. No. 10,279,252 U.S. Pat. App. No. 15/839,763 GAME EXECUTION ENVIRONMENTS Sony Interactive Entertainment America LLC December 12, 2017
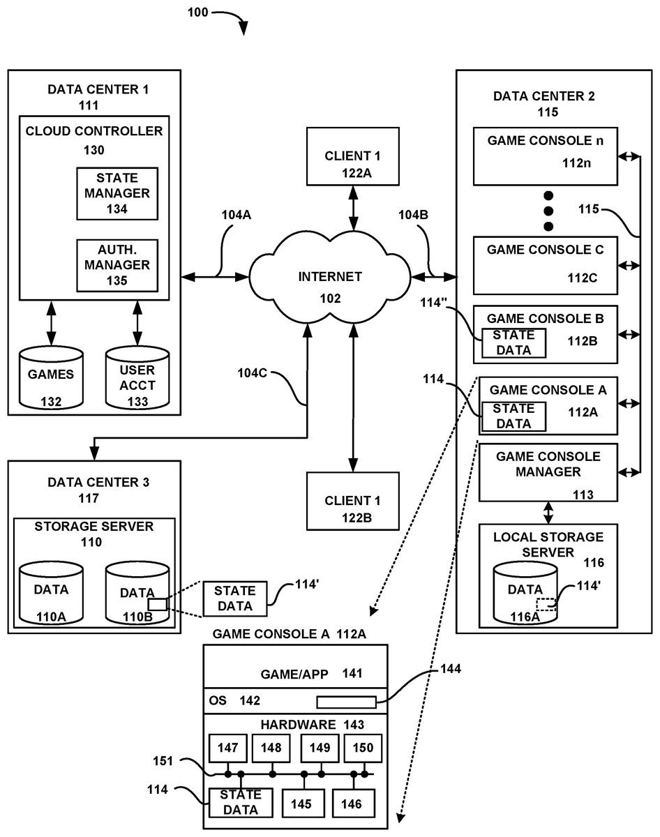
U.S. Pat. No. 10,512,841 U.S. Pat. App. No. 15/792,682 Game State Save, Transfer and Resume for Cloud Gaming Sony Interactive Entertainment America LLC October 24, 2017
U.S. Pat. No. 9,937,425 U.S. Pat. App. No. 15/615,068 System and Method for Managing Audio and Video Channels for Video Game Players and Spectators Sony Interactive Entertainment America LLC June 6, 2017

Disclaimer: Data collected from the USPTO and may be malformed, incomplete, and/or otherwise inaccurate.