Results for the query

Showing matches for "A63F2300/50".

70 records found

Figure Patent No. Title Assignee Issue Date
U.S. Pat. No. 12,208,337 U.S. Pat. App. No. 17/222,796 COLLABORATIVE ONLINE GAMING SYSTEM AND METHOD Electronic Arts Inc. April 5, 2021
U.S. Pat. No. 11,666,826 U.S. Pat. App. No. 16/853,350 MODIFYING GAMEPLAY PARAMETERS KING.COM LTD. April 20, 2020
U.S. Pat. No. 10,967,276 U.S. Pat. App. No. 16/276,525 COLLABORATIVE ONLINE GAMING SYSTEM AND METHOD ELECTRONIC ARTS INC. February 14, 2019
U.S. Pat. No. 10,207,191 U.S. Pat. App. No. 15/494,372 COLLABORATIVE ONLINE GAMING SYSTEM AND METHOD ELECTRONIC ARTS INC. April 21, 2017
U.S. Pat. No. 10,099,145 U.S. Pat. App. No. 15/391,655 VIDEO GAME RECORDING AND PLAYBACK WITH VISUAL DISPLAY OF GAME CONTROLLER MANIPULATION SONY INTERACTIVE ENTERTAINMENT AMERICA LLC December 27, 2016
U.S. Pat. No. 10,086,284 U.S. Pat. App. No. 15/014,480 MODIFYING GAMEPLAY PARAMETERS King com Ltd February 3, 2016
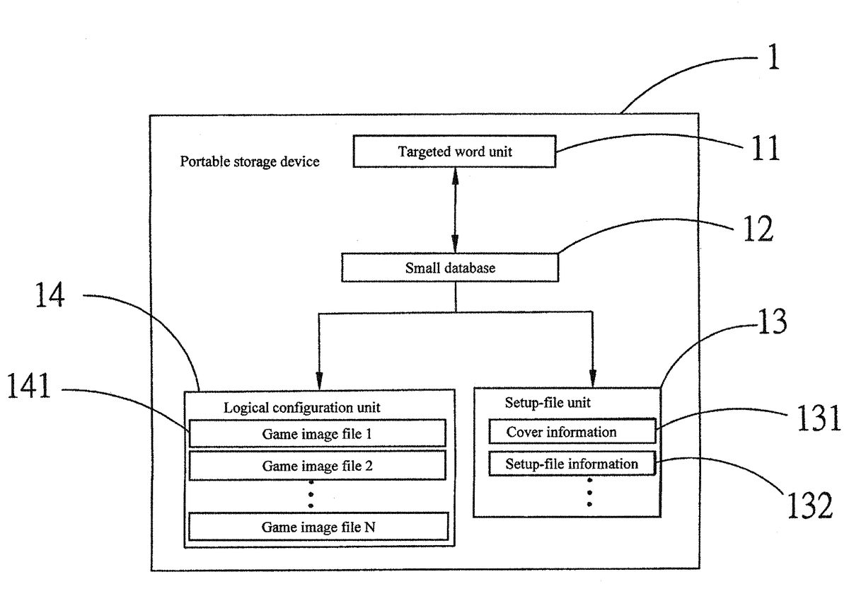
U.S. Pat. No. 9,919,227 U.S. Pat. App. No. 14/929,394 Localization System for Mounting Game in Portable Storage Device on Game Console and Method Therefor Pao-Chen Lin November 1, 2015
U.S. Pat. No. 9,442,634 U.S. Pat. App. No. 14/860,667 Localization System for Mounting Game in Portable Storage Device on Game Console and Method Therefor Pao-Chen Lin September 21, 2015
U.S. Pat. No. 9,162,141 U.S. Pat. App. No. 14/289,668 Localization System For Mounting Game In Portable Storage Device On Game Console And Method Therefor Pao-Chen Lin May 29, 2014
U.S. Pat. No. 9,597,601 U.S. Pat. App. No. 14/069,861 METHOD FOR DISPLAYING CHAT WINDOW APPLIED TO NETWORK GAME KABUSHIKI KAISHA SQUARE ENIX November 1, 2013

Disclaimer: Data collected from the USPTO and may be malformed, incomplete, and/or otherwise inaccurate.