Results for the query

Showing matches for "A63F2300/50".

70 records found

Figure Patent No. Title Assignee Issue Date
U.S. Pat. No. 6,712,704 U.S. Pat. App. No. 10/144,748 SECURITY SYSTEM FOR VIDEO GAME SYSTEM WITH HARD DISK DRIVE AND INTERNET ACCESS CAPABILITY Unknown assignee May 15, 2002
U.S. Pat. No. 7,086,946 U.S. Pat. App. No. 10/143,047 GAME METHOD USING NETWORK, SERVER EXECUTING THE GAME METHOD, AND STORAGE MEDIUM STORING PROGRAM EXECUTING THE GAME METHOD Aruze Co. Ltd. May 10, 2002
U.S. Pat. No. 7,090,577 U.S. Pat. App. No. 10/119,127 RACE GAME SYSTEM AND METHOD OF ENTRY Sega April 10, 2002
U.S. Pat. No. 7,628,702 U.S. Pat. App. No. 10/011,023 MISSION CONTROL SYSTEM FOR GAME PLAYING SATELLITES ON NETWORK Atlantis Cyberspace Inc November 2, 2001
U.S. Pat. No. 7,275,987 U.S. Pat. App. No. 09/976,519 VIRTUAL WORLD SYSTEM, SERVER COMPUTER AND INFORMATION PROCESSOR Sony Computer Entertainment Inc. October 12, 2001
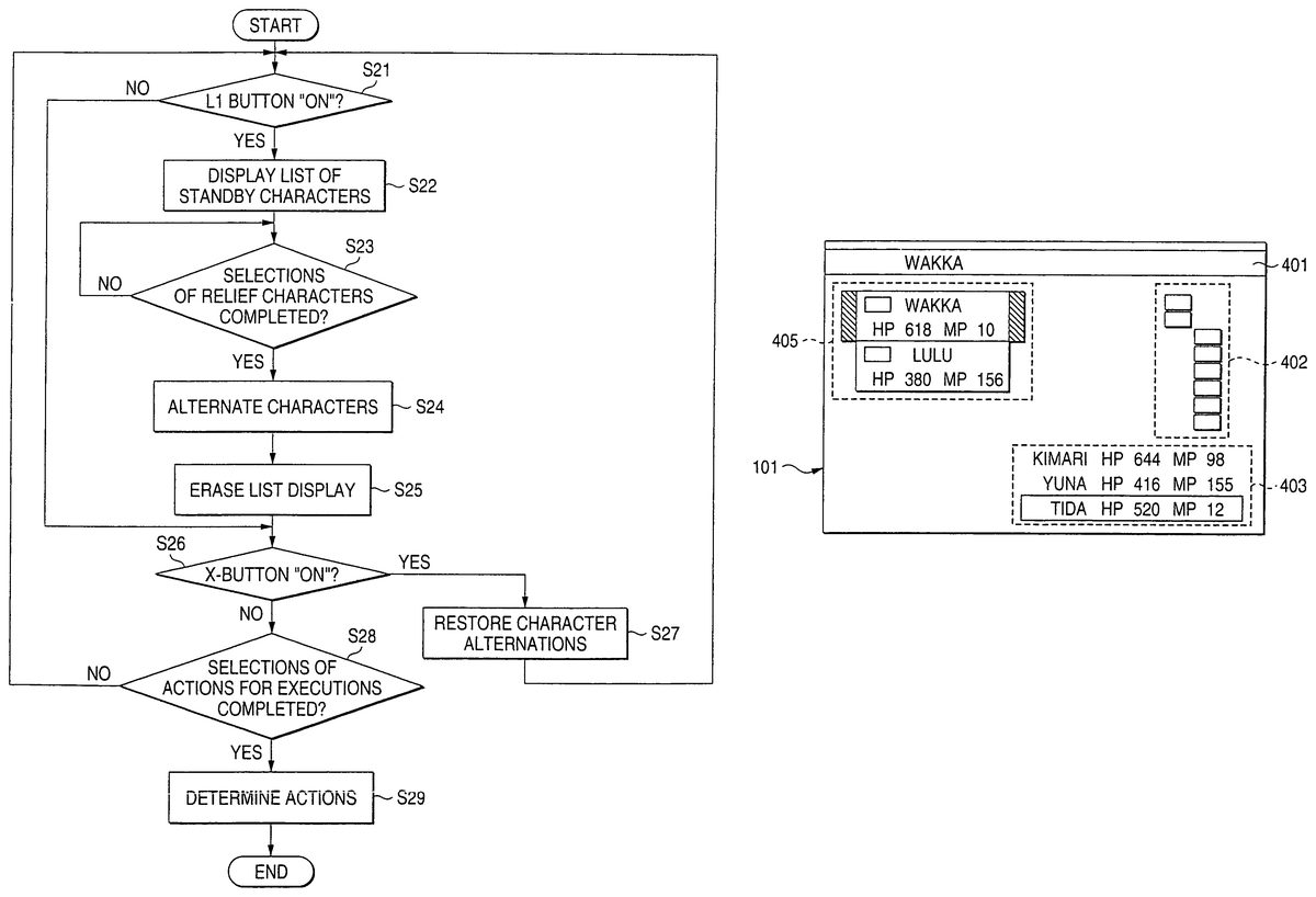
U.S. Pat. No. 7,001,271 U.S. Pat. App. No. 09/964,793 VIDEO GAME WITH QUICK ALTERNATION OF PLAYER CHARACTERS Kabushiki Kaisha Square Enix September 28, 2001
U.S. Pat. No. 6,884,171 U.S. Pat. App. No. 09/954,436 VIDEO GAME DISTRIBUTION NETWORK Nintendo Co., Ltd. September 18, 2001
U.S. Pat. No. 6,884,163 U.S. Pat. App. No. 09/919,308 GAME METHOD FOR EFFECTING AGING OF COMPETING CHARACTERS INDEPENDENT OF GAME PLAYER PARTICIPATION Konami Digital Entertainment Co Ltd July 31, 2001
U.S. Pat. No. 6,699,125 U.S. Pat. App. No. 09/898,746 GAME SERVER FOR USE IN CONNECTION WITH A MESSENGER SERVER Verizon Patent and Licensing Inc July 2, 2001
U.S. Pat. No. 6,880,168 U.S. Pat. App. No. 09/820,565 CHAT APPLICATION FOR VIDEO GAME MACHINE Kabushiki Kaisha Square Enix March 29, 2001

Disclaimer: Data collected from the USPTO and may be malformed, incomplete, and/or otherwise inaccurate.