Results for the query

Showing matches for "A63F13/5375".

166 records found

Figure Patent No. Title Assignee Issue Date
U.S. Pat. No. 11,465,051 U.S. Pat. App. No. 16/914,157 SYSTEMS AND METHODS FOR COACHING A USER FOR GAME PLAY Sony Interactive Entertainment Inc June 26, 2020
U.S. Pat. No. 11,524,245 U.S. Pat. App. No. 16/906,843 METHODS AND SYSTEMS FOR IMPROVING SPECTATOR ENGAGEMENT IN A VIDEO GAME Sony Interactive Entertainment Inc. June 19, 2020
U.S. Pat. No. 10,987,584 U.S. Pat. App. No. 16/856,734 SYSTEM AND METHOD FOR PROVIDING TARGETED RECOMMENDATIONS TO SEGMENTS OF USERS OF A VIRTUAL SPACE Kabam, Inc. April 23, 2020
U.S. Pat. No. 11,229,844 U.S. Pat. App. No. 16/842,663 ASSIGNMENT OF CONTEXTUAL GAME PLAY ASSISTANCE TO PLAYER REACTION Sony Interactive Entertainment LLC April 7, 2020
U.S. Pat. No. 11,623,154 U.S. Pat. App. No. 16/836,133 DRIVING VIRTUAL INFLUENCERS BASED ON PREDICTED GAMING ACTIVITY AND SPECTATOR CHARACTERISTICS Sony Interactive Entertainment Inc March 31, 2020
U.S. Pat. No. 11,406,907 U.S. Pat. App. No. 16/836,148 PLAYER FEEDBACK TO INCREASE SPECTATORSHIP IN A VIDEO GAME Sony Interactive Entertainment Inc. March 31, 2020
U.S. Pat. No. 11,395,968 U.S. Pat. App. No. 16/811,804 SURFACING PRERECORDED GAMEPLAY VIDEO FOR IN-GAME PLAYER ASSISTANCE Sony Interactive Entertainment Inc March 6, 2020
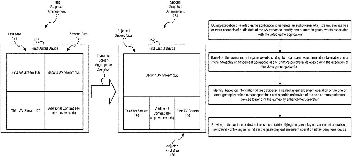
U.S. Pat. No. 11,420,129 U.S. Pat. App. No. 16/777,161 GAMEPLAY EVENT DETECTION AND GAMEPLAY ENHANCEMENT OPERATIONS Dell Products LP January 30, 2020
U.S. Pat. No. 11,141,658 U.S. Pat. App. No. 16/777,240 GAMEPLAY EVENT DETECTION AND GAMEPLAY ENHANCEMENT OPERATIONS Dell Products LP January 30, 2020
U.S. Pat. No. 11,413,533 U.S. Pat. App. No. 16/743,749 METHOD AND APPARATUS FOR RECOMMENDING GAME PLAY STRATEGY Netmarble Corp January 15, 2020

Disclaimer: Data collected from the USPTO and may be malformed, incomplete, and/or otherwise inaccurate.