Results for the query

Showing matches for "A63F13/211".

288 records found

Figure Patent No. Title Assignee Issue Date
U.S. Pat. No. 11,161,047 U.S. Pat. App. No. 16/922,459 GAME PROCESSING SYSTEM, METHOD OF PROCESSING GAME, AND STORAGE MEDIUM STORING PROGRAM FOR PROCESSING GAME GREE Holdings Inc July 7, 2020
U.S. Pat. No. 11,705,762 U.S. Pat. App. No. 16/912,515 METHOD FOR GAME CONSOLE OPERATION BASED ON DETECTION OF CHANGE IN CONTROLLER STATE Sony Interactive Entertainment LLC June 25, 2020
U.S. Pat. No. 11,478,709 U.S. Pat. App. No. 16/890,999 Augmenting Virtual Reality Video Games With Friend Avatars Sony Interactive Entertainment LLC June 2, 2020
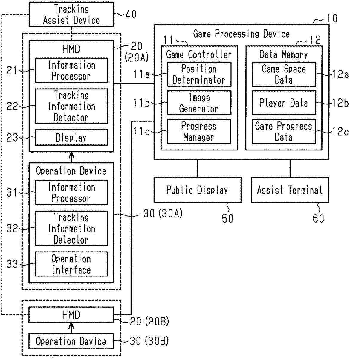
U.S. Pat. No. 11,318,376 U.S. Pat. App. No. 16/887,671 GAME PROCESSING PROGRAM, GAME PROCESSING METHOD, AND GAME PROCESSING DEVICE GREE Holdings Inc May 29, 2020
U.S. Pat. No. 11,883,750 U.S. Pat. App. No. 15/931,353 VIDEO GAMING ENVIRONMENT CAPABLE OF GAMEPLAY BALANCING AND CONVEYING GAME INFORMATION TO A PLAYER Intellivision Entertainment LLC May 13, 2020
U.S. Pat. No. 10,987,574 U.S. Pat. App. No. 16/736,787 HEAD MOUNTED DISPLAY Sony Interactive Entertainment Inc. January 7, 2020
U.S. Pat. No. 11,247,121 U.S. Pat. App. No. 16/733,894 COMPUTER-READABLE NON-TRANSITORY STORAGE MEDIUM HAVING GAME PROGRAM STORED THEREIN, GAME SYSTEM, GAME APPARATUS, AND GAME PROCESSING CONTROL METHOD FOR CORRECT DIRECTION DETERMINATION NINTENDO CO., LTD. January 3, 2020
U.S. Pat. No. 11,065,533 U.S. Pat. App. No. 16/695,022 SHARING BUFFERED GAMEPLAY IN RESPONSE TO AN INPUT REQUEST Sony Interactive Entertainment LLC November 25, 2019
U.S. Pat. No. 11,033,812 U.S. Pat. App. No. 16/656,991 INPUT APPARATUS, METHOD, AND GAME PROCESSING METHOD Nintendo Co Ltd October 18, 2019
U.S. Pat. No. 11,376,510 U.S. Pat. App. No. 16/596,707 SYSTEMS AND METHODS FOR FITNESS AND VIDEO GAMES Dugan Health, LLC October 8, 2019

Disclaimer: Data collected from the USPTO and may be malformed, incomplete, and/or otherwise inaccurate.