Results for the query

Showing matches for "A63F13/26".

141 records found

Figure Patent No. Title Assignee Issue Date
U.S. Pat. No. 12,076,642 U.S. Pat. App. No. 17/386,468 Delivery of Spectator Feedback Content to Virtual Reality Environments Provided by Head Mounted Display Sony Interactive Entertainment Inc July 27, 2021
U.S. Pat. No. 11,642,591 U.S. Pat. App. No. 17/365,442 GAME PROCESSING SYSTEM, METHOD OF PROCESSING GAME, AND STORAGE MEDIUM STORING PROGRAM FOR PROCESSING GAME GREE, Inc. July 1, 2021
U.S. Pat. No. 11,547,932 U.S. Pat. App. No. 17/330,204 COMPANION DEVICE AIDED GAME CONTROLLER PAIRING Microsoft Technology Licensing, LLC May 25, 2021
U.S. Pat. No. 11,325,027 U.S. Pat. App. No. 17/214,910 GAME CONTROLLER DEXIN CORPORATION March 28, 2021
U.S. Pat. No. 11,890,536 U.S. Pat. App. No. 17/189,147 NEAR REAL-TIME AUGMENTED REALITY VIDEO GAMING SYSTEM Sony Interactive Entertainment LLC March 1, 2021
U.S. Pat. No. 11,660,531 U.S. Pat. App. No. 17/188,544 SCALED VR ENGAGEMENT AND VIEWS IN AN E-SPORTS EVENT SONY INTERACTIVE ENTERTAINMENT LLC March 1, 2021
U.S. Pat. No. 11,652,863 U.S. Pat. App. No. 17/176,502 METHOD AND APPARATUS FOR CLOUD GAMING Unknown assignee February 16, 2021
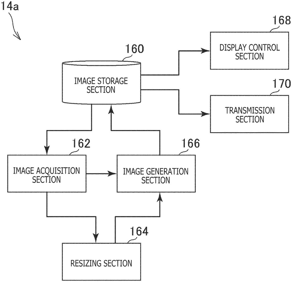
U.S. Pat. No. 11,962,820 U.S. Pat. App. No. 17/267,238 IMAGE GENERATION APPARATUS, IMAGE GENERATION METHOD, AND PROGRAM INDICATING GAME PLAY STATUS Sony Interactive Entertainment Inc February 9, 2021
U.S. Pat. No. 11,925,863 U.S. Pat. App. No. 17/024,800 TRACKING HAND GESTURES FOR INTERACTIVE GAME CONTROL IN AUGMENTED REALITY Snap Inc. September 18, 2020
U.S. Pat. No. 11,161,047 U.S. Pat. App. No. 16/922,459 GAME PROCESSING SYSTEM, METHOD OF PROCESSING GAME, AND STORAGE MEDIUM STORING PROGRAM FOR PROCESSING GAME GREE Holdings Inc July 7, 2020

Disclaimer: Data collected from the USPTO and may be malformed, incomplete, and/or otherwise inaccurate.