Results for the query

Showing matches for "3600".

99 records found

Figure Patent No. Title Assignee Issue Date
U.S. Pat. No. 11,270,547 U.S. Pat. App. No. 16/904,746 Contactless Game Controller Feiloli Electronic Co., Ltd. June 18, 2020
U.S. Pat. No. 11,263,652 U.S. Pat. App. No. 16/893,908 NON-TRANSITORY COMPUTER-READABLE MEDIUM STORING GAME PROGRAM, GAME PROCESSING METHOD, AND INFORMATION PROCESSING APPARATUS GREE, INC. June 5, 2020
U.S. Pat. No. 11,351,464 U.S. Pat. App. No. 16/838,743 AUTOMATED COACHING FOR ONLINE GAMING Electronic Arts Inc. April 2, 2020
U.S. Pat. No. 11,263,670 U.S. Pat. App. No. 16/685,967 Systems and Methods for Dynamically Modifying Video Game Content Based on Non-Video Gaming Content Being Concurrently Experienced by a User Activision Publishing, Inc. November 15, 2019
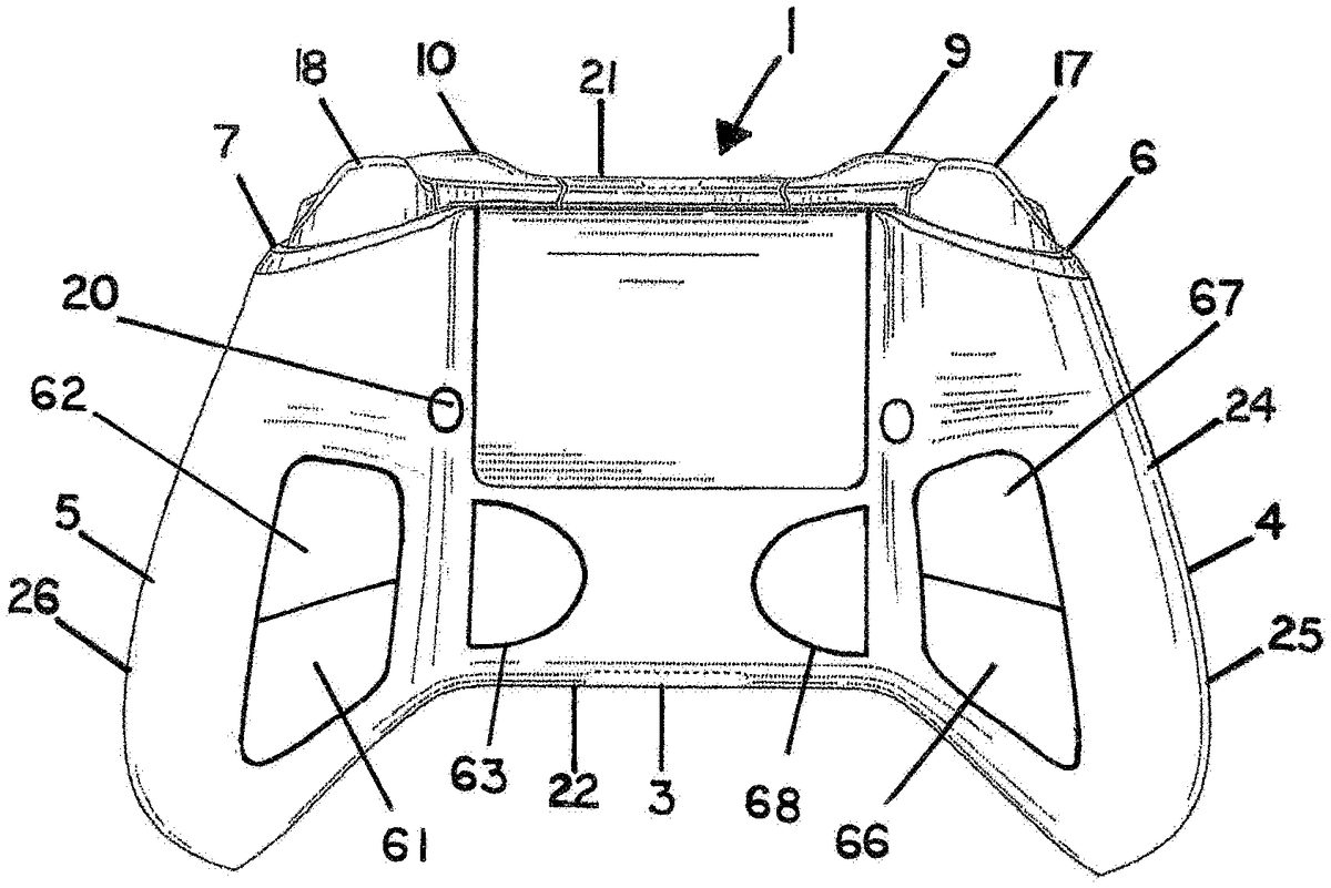
U.S. Pat. No. 11,202,960 U.S. Pat. App. No. 16/681,059 GAME CONTROLLER Unknown assignee November 12, 2019
U.S. Pat. No. 11,062,284 U.S. Pat. App. No. 16/532,144 SYSTEMS AND METHODS FOR FACILITATING TRANSACTIONS OF VIRTUAL ITEMS BETWEEN USERS OF AN ONLINE GAME Mythical, Inc. August 5, 2019
U.S. Pat. No. 10,872,367 U.S. Pat. App. No. 16/460,757 SYSTEMS AND METHODS FOR CONTROLLING PERMISSIONS PERTAINING TO SALES ACTIVITIES BY USERS OF AN ONLINE GAME Mythical, Inc. July 2, 2019
U.S. Pat. No. 10,960,308 U.S. Pat. App. No. 16/399,862 RESTORING GAMEPLAY BY REPLAYING PAST INPUTS Blizzard Entertainment Inc April 30, 2019
U.S. Pat. No. 10,596,469 U.S. Pat. App. No. 16/282,028 SYSTEM AND METHOD FOR RESOURCE OBJECT CREATION IN VIRTUAL GAME ENVIRONMENT Zynga Inc February 21, 2019
U.S. Pat. No. 11,087,591 U.S. Pat. App. No. 16/228,452 ANTI-FRAUD CLOUD GAMING BLOCKCHAIN Sony Interactive Entertainment LLC December 20, 2018

Disclaimer: Data collected from the USPTO and may be malformed, incomplete, and/or otherwise inaccurate.