Results for the query

Showing matches for "A63F13/92".

336 records found

Figure Patent No. Title Assignee Issue Date
U.S. Pat. No. 9,320,967 U.S. Pat. App. No. 14/029,378 METHOD FOR IMPLEMENTING A COMPUTER GAME KING.COM LTD. September 17, 2013
U.S. Pat. No. 9,289,684 U.S. Pat. App. No. 14/029,232 METHOD FOR IMPLEMENTING A COMPUTER GAME KING.COM LTD. September 17, 2013
U.S. Pat. No. 9,278,282 U.S. Pat. App. No. 14/029,472 METHOD FOR IMPLEMENTING A COMPUTER GAME KING.COM LIMITED September 17, 2013
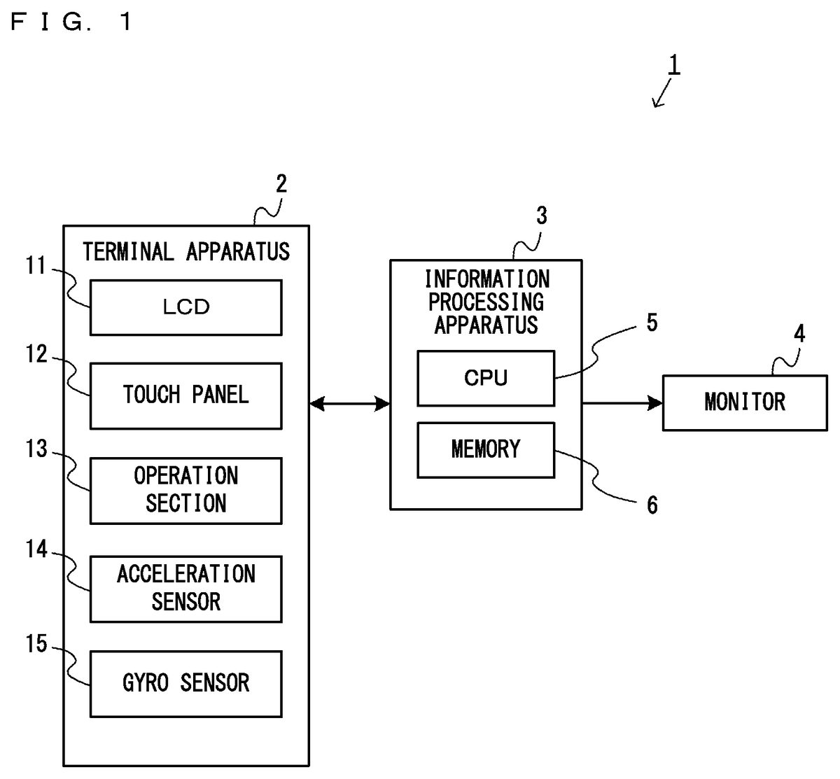
U.S. Pat. No. 8,736,554 U.S. Pat. App. No. 14/026,331 VIDEO GAME PROCESSING APPARATUS AND VIDEO GAME PROCESSING PROGRAM Kabushiki Kaisha Square Enix September 13, 2013
U.S. Pat. No. 8,717,294 U.S. Pat. App. No. 14/017,208 Calibration Of Portable Devices In A Shared Virtual Space Sony Interactive Entertainment LLC September 3, 2013
U.S. Pat. No. 9,155,960 U.S. Pat. App. No. 13/941,426 VIDEO-GAME CONSOLE FOR ALLIED TOUCHSCREEN DEVICES Unknown assignee July 12, 2013
U.S. Pat. No. 9,174,135 U.S. Pat. App. No. 13/911,315 STORAGE MEDIUM HAVING STORED THEREIN GAME PROGRAM, GAME APPARATUS, GAME SYSTEM, AND GAME PROCESSING METHOD NINTENDO CO., LTD. June 6, 2013
U.S. Pat. No. 9,308,451 U.S. Pat. App. No. 13/910,427 GAME CONTROLLER Ironburg Inventions Limited June 5, 2013
U.S. Pat. No. 9,308,450 U.S. Pat. App. No. 13/910,409 GAME CONTROLLER Ironburg Inventions Limited June 5, 2013
U.S. Pat. No. 9,498,707 U.S. Pat. App. No. 13/834,554 BOUNDED COMPETITIONS IN A VIDEO GAME FRAMEWORK Activision Publishing, Inc. March 15, 2013

Disclaimer: Data collected from the USPTO and may be malformed, incomplete, and/or otherwise inaccurate.