Results for the query

Showing matches for "Zynga Inc.".

84 records found

Figure Patent No. Title Assignee Issue Date
U.S. Pat. No. 9,873,046 U.S. Pat. App. No. 15/683,767 ASYNCHRONOUS ONLINE GAME PLAY AND DEFEND MODE PROCESSING TO ENABLE SOCIAL FRIENDS TO ASSIST AND ALTER GAME PLAY OUTCOMES Zynga Inc. August 22, 2017
U.S. Pat. No. 10,646,785 U.S. Pat. App. No. 15/657,926 FINDING FRIENDS FOR MULTIUSER ONLINE GAMES Zynga Inc. July 24, 2017
U.S. Pat. No. 10,232,259 U.S. Pat. App. No. 15/653,459 Apparatus, Method and Computer Readable Storage Medium for Collecting Doobers in an Electronic Game Zynga Inc. July 18, 2017
U.S. Pat. No. 10,163,306 U.S. Pat. App. No. 15/646,063 Limiting Transfer of Virtual Currency in a Multiuser Online Game Zynga Inc. July 10, 2017
U.S. Pat. No. 10,143,926 U.S. Pat. App. No. 15/454,349 CHANGING A VIRTUAL WORLD BASED ON REAL-WORLD LOCATIONS OF PLAYERS Zynga Inc. March 9, 2017
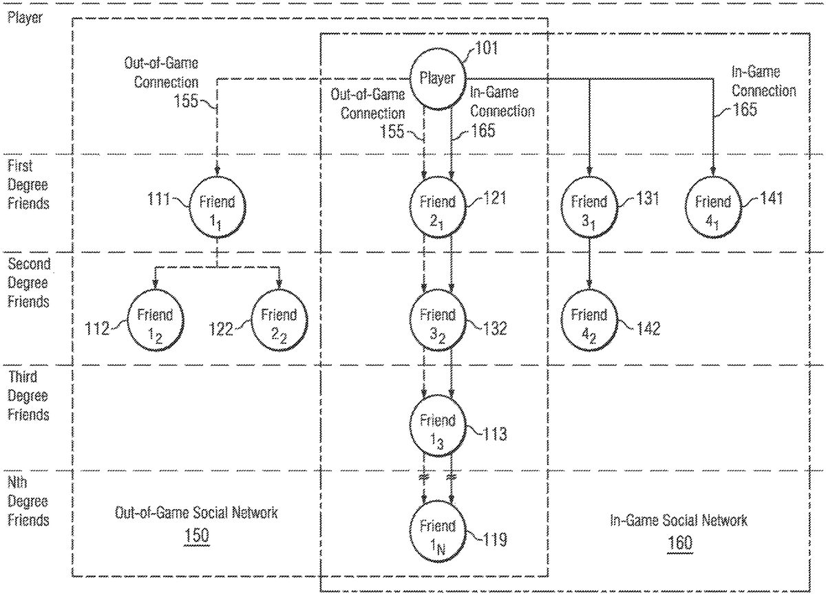
U.S. Pat. No. 10,052,560 U.S. Pat. App. No. 15/411,566 Social Network Data Analysis to Generate Incentives for Online Gaming Zynga Inc. January 20, 2017
U.S. Pat. No. 10,384,126 U.S. Pat. App. No. 15/284,100 GRAPHICAL USER INTERFACES IN COMPUTER-IMPLEMENTED MULTIPLAYER GAMES Zynga Inc. October 3, 2016
U.S. Pat. No. 9,846,992 U.S. Pat. App. No. 15/184,461 DYNAMICALLY VARIABLE ADVERTISING INCENTIVE REWARDS IN ONLINE GAMES Zynga Inc. June 16, 2016
U.S. Pat. No. 9,962,612 U.S. Pat. App. No. 15/169,308 Apparatus, Method and Computer Readable Storage Medium for Guiding Game Play Via a Show Me Button Zynga Inc. May 31, 2016
U.S. Pat. No. 9,908,045 U.S. Pat. App. No. 15/096,875 MOBILE DEVICE INTERFACE FOR ONLINE GAMES Zynga Inc. April 12, 2016

Disclaimer: Data collected from the USPTO and may be malformed, incomplete, and/or otherwise inaccurate.