Results for the query

Showing matches for "A63F2300/5533".

147 records found

Figure Patent No. Title Assignee Issue Date
U.S. Pat. No. 8,066,571 U.S. Pat. App. No. 12/135,854 SYSTEM AND METHOD FOR ENABLING CHARACTERS TO BE MANIFESTED WITHIN A PLURALITY OF DIFFERENT VIRTUAL SPACES Disney Enterprises Inc; Areae Inc June 9, 2008
U.S. Pat. No. 8,584,025 U.S. Pat. App. No. 12/114,228 VIRTUAL WORLD TELEPORTATION International Business Machines Corp May 2, 2008
U.S. Pat. No. 9,205,330 U.S. Pat. App. No. 11/962,646 TEMPORAL RANKING IN VIRTUAL WORLDS International Business Machines Corp December 21, 2007
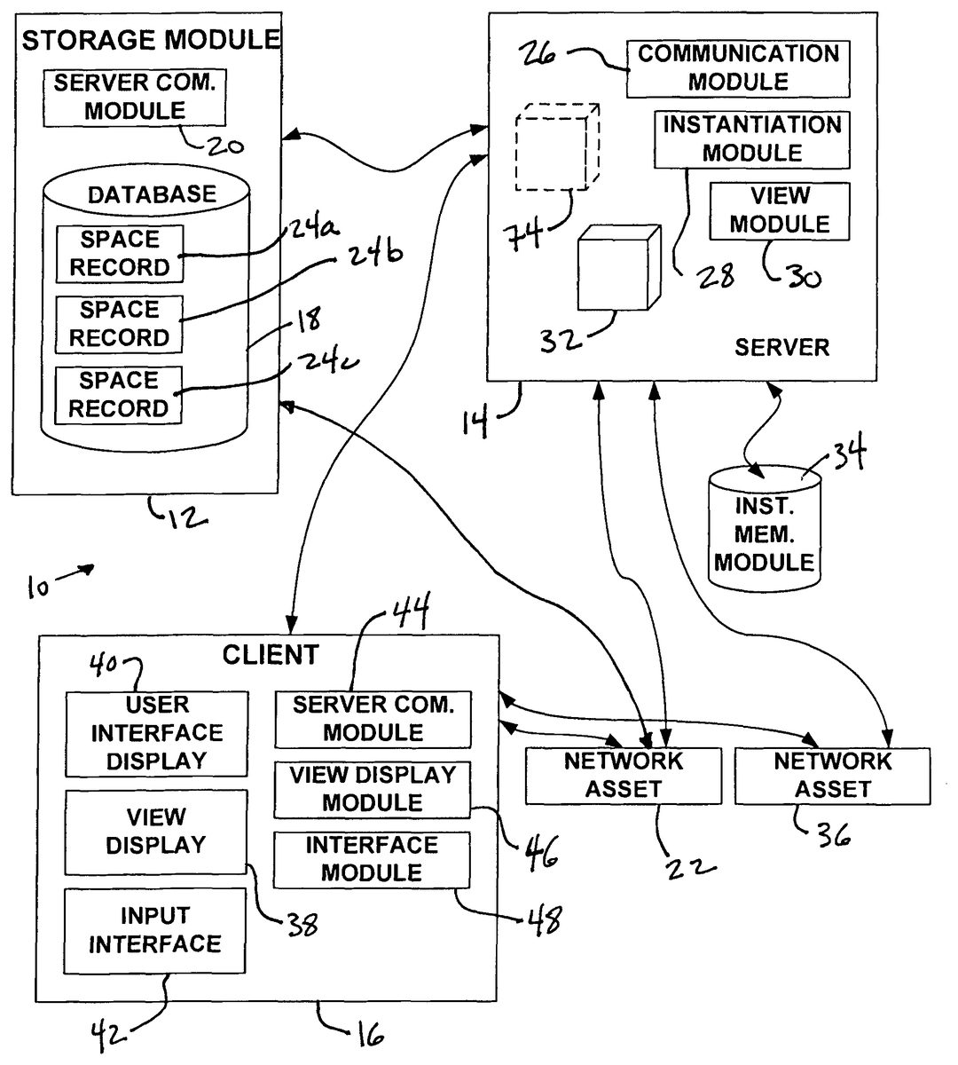
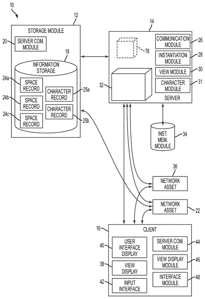
U.S. Pat. No. 8,127,235 U.S. Pat. App. No. 11/947,829 AUTOMATIC INCREASING OF CAPACITY OF A VIRTUAL SPACE IN A VIRTUAL WORLD Activision Publishing Inc November 30, 2007
U.S. Pat. No. 8,062,130 U.S. Pat. App. No. 11/941,533 ALLOWING AN ALTERNATIVE ACTION IN A VIRTUAL WORLD Activision Publishing Inc November 16, 2007
U.S. Pat. No. 9,968,850 U.S. Pat. App. No. 11/898,864 System for providing virtual spaces for access by users Disney Enterprises Inc September 17, 2007
U.S. Pat. No. 8,758,104 U.S. Pat. App. No. 11/843,064 SYSTEM AND METHOD FOR TRANSMITTING P2P MESSAGE IN MULTI-ACCESS ONLINE GAME Intellectual Discovery Co., Ltd. August 22, 2007
U.S. Pat. No. 9,205,329 U.S. Pat. App. No. 11/828,019 VIRTUAL WORLD ELECTRONIC GAME MGA Entertainment Inc July 25, 2007
U.S. Pat. No. 7,934,996 U.S. Pat. App. No. 11/773,685 ONLINE VIDEO GAME CONTROL SERVER AND A METHOD OF CONTROLLING AN ONLINE VIDEO GAME Kabushiki Kaisha Square Enix July 5, 2007
U.S. Pat. No. 8,708,827 U.S. Pat. App. No. 11/755,405 NETWORK BREEDING GAME SYSTEM, BREEDING GAME SERVER APPARATUS AND BREEDING GAME TERMINAL APPARATUS, CHARACTER DISPLAY METHOD, TOGETHER WITH PROGRAM AND RECORDING MEDIUM Square Enix Co Ltd May 30, 2007

Disclaimer: Data collected from the USPTO and may be malformed, incomplete, and/or otherwise inaccurate.