Video games are as much technology as they are art. And patents are how innovators protect new and useful (fun!) technology. One important area of innovation in games is new and engaging game play mechanics, and patents on game mechanics used to be fairly common. Indeed, one of our favorite examples of a game patent is US Pat. 6,935,954, which relates to the sanity system from N64 classic Eternal Darkness. But pure game play mechanics have become largely unpatentable since the landmark Alice decision in 2014, which updated the law on unpatentable abstract ideas and has shaped software patents ever since.
The Patent Arcade has always been carried by a strong team of contributors, and we’ve aimed to make it a place welcoming to new voices who are working to learn the ins and outs of IP law. Recently, one of our patent agents at the firm learned about the blog and our work in the games industry. This inspired her to look to see if her favorite game, Wizard 101, was covered by any patents. She found three from 2009, and wrote them up in a deep dive. The three patents felt like a good vehicle to highlight how game patents have changed since then, so we picked it up as a three part feature. I hope you enjoy. – Ed., Scott Kelly.

By Marguerite Smith, Patent Agent at Banner Witcoff. Electrical Engineering, from Miami University of Ohio.
I grew up bonding with my family over video games. In 2008 I discovered Wizard101 while visiting a friend’s house and soon after I had my own wizard. Every morning, my brother and I would (not so quietly) sneak downstairs to claim our spots at the two shared family computers, eager to start playing before the rest of the house woke up. School breaks meant endless hours of adventuring, and nothing was more exciting than leveling up my fire wizard whenever I had the chance. What began as childhood excitement grew into lifelong nostalgia and a deep connection to the game.
I was also lucky to grow up with a dad who was an engineer, inventor, and avid gamer. From an early age, I understood what a patent was and how engineering and intellectual property can shape the development of consumer products, such as vacuum cleaners, in my dad’s case. These early experiences sparked my own interest in innovation, leading me to a career in intellectual property. Now, uncovering patents related to my favorite game and studio feels like a true full-circle moment, blending my love for gaming with my career.
The Game
KingsIsle Entertainment’s flagship MMORPG, Wizard101, has been captivating players for nearly 17 years now in 2025. Since its release in 2008, the game has drawn in over 50 million players with its unique blend of card-based combat and magical world-building. In Wizard101, players take on the role of young wizards enrolled at the Ravenwood School of Magical Arts, where they learn spells, complete quests, and battle adversaries using a deck of cards. Each card represents a spell or ability, and players strategically select cards to summon creatures, cast spells, or defend themselves in turn-based duels.
At the start of the game, players choose a primary school of magic—Fire, Ice, Storm, Myth, Life, Death, or Balance—to study as they level up. Each school grants access to a unique set of spells that players can train over time. As they progress, players also gain the ability to learn spells from other schools, allowing for more diverse strategies in battle.
The adventure begins in Wizard City, the home of the Ravenwood School of Magical Arts—a world infiltrated by the evil wizard Malistaire and his minions, who wreak havoc on its once-safe streets. As the storyline unfolds, players unlock new realms in need of saving, each with its own distinct theme. Examples include Krokotopia, inspired by ancient Egyptian culture, and Marleybone, which evokes a prohibition-era English setting. Players must journey through these worlds and others, solving puzzles, completing quests, and defeating powerful enemies to progress through the narrative and save the Spiral. Wizard101 encourages both solo play and cooperative multiplayer interactions, allowing players to team up to tackle challenging missions.
Despite being initially targeted toward children, Wizard101 has developed a dedicated fan base of all ages. Over the years, the game has continued to evolve, regularly adding new content and updates. KingsIsle recently announced an expansion of Wizard101 to Nintendo Switch, Xbox, and PlayStation, marking its first major move onto consoles. The game’s core appeal lies in its blend of strategic card-based combat, engaging storyline, and expansive magical universe, making it a long-standing favorite in the MMORPG genre.
Patent Family Overview
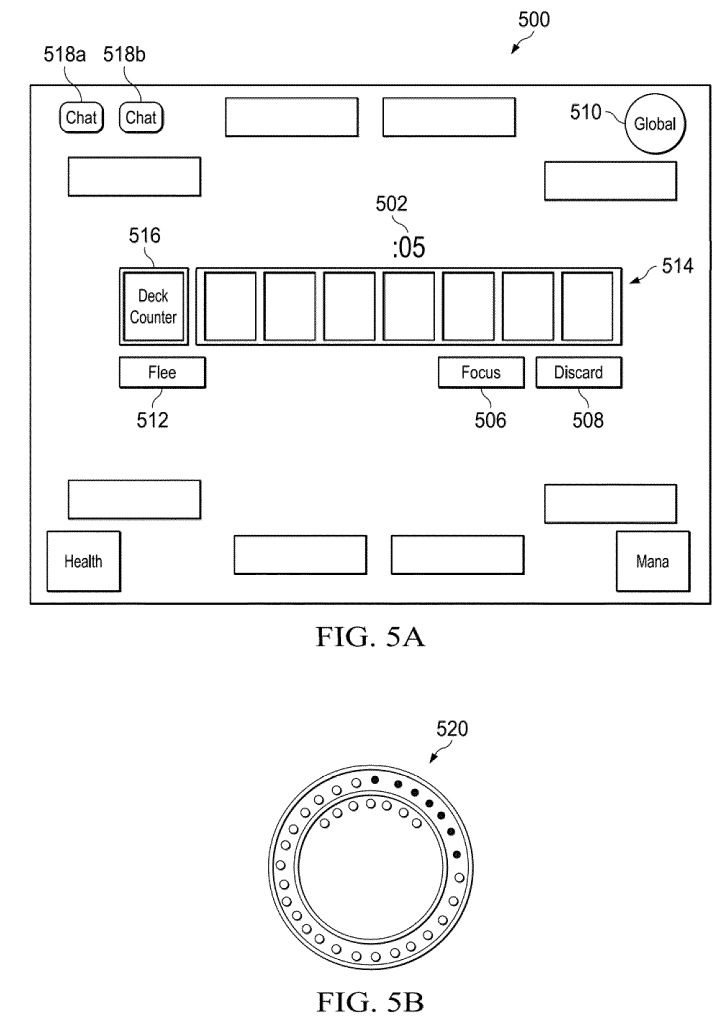
This series will explore the key patents protecting Wizard101’s in-game mechanics, breaking down how each contributes to the game’s functionality. We will focus on three patents: US 8,187,085, US 8,118,673, and US 8,182,320. These patents share the same specification, which generally describes a card-based MMORPG where characters collect cards representing actions or powers and interact in a three-dimensional (3D) game environment. The system includes a real-time combat engine that processes card-based events, 3D visual displays of combat actions, dynamic state information updates, and a chat management system. However, while the patents originate from the same disclosure, each one claims a different core feature of the game.
This first post will focus on US 8,187,085, which introduces key aspects of Wizard101’s combat system. The next post will introduce US 8,182,320 that focuses more on the visual and interactive aspects of Wizard101‘s card-based system, specifically how characters, actions, and their effects are represented in 3D within the virtual world. The third post focuses on Wizard101‘s chat filtering system, which allows different players to experience chat according to customized rules based on assigned chat levels.
Patent ‘085 Overview
The card-based combat system in Wizard101 is a defining feature of the game, blending strategic deck-building with visually immersive battles. Players engage in turn-based combat within a battle ring, where up to four players can team up against up to four enemies. With each turn, players have 30 seconds to select a spell card from their deck, choosing between attack spells, defense spells, buffs, debuffs, or healing effects. Once all selections are made, the cards are cast in sequence, transforming into dynamic 3D animations that bring the spells to life.
Each card in a character’s deck represents an action or power that can be executed during combat. Players earn these cards throughout gameplay, expanding their abilities. When a card is played in battle, its effect is automatically calculated—determining damage, healing, or other status changes—and then visualized in real-time. For example, casting a fireball spell card triggers an animated fireball that strikes an opponent, while a healing spell may summon a glowing aura around an ally.
This strategic card selection and real-time visual feedback make Wizard101’s combat both intellectually engaging and visually compelling. Every duel requires players to think critically about their next card choices, adding depth and making sure the battles are dynamic and exciting.
First, each player enters the battle ring opposite their opponents.


Battle Arena
Next, each player is dealt up to seven cards for their turn in battle. These cards remain available in subsequent rounds unless discarded. To proceed with their turn, players must either choose a card to play or pass their turn.


Card Selection
Finally, the player’s selected card is executed in the arena one at a time. A 3D animation of each card is carried out, either attacking the enemy, healing yourself or your teammates, buffing or debuffing, or shielding yourself and your allies. Each school’s spells are themed to match (i.e., fiery animations for fire school spells).

Attack Spell Cast
In Wizard101, each character’s state—such as health, mana, buffs, and debuffs—is continuously updated and visually represented through real-time 3D elements. Instead of relying solely on UI overlays, the game integrates these indicators into the world itself, with magical auras and dynamic visual cues that reflect a character’s current status. This system allows both players and opponents to quickly assess each other’s conditions, enhancing the strategy of combat. These real-time updates are particularly crucial during battles, where health and mana fluctuate based on actions taken, and status effects visibly manifest on characters through animations and effects.
Wizard101’s combat system transforms turn-based strategy into a dynamic, visually immersive experience. Players select cards representing attacks, defenses, and spells, which the game evaluates based on various character and target attributes. Each action unfolds with real-time updates, as spells take effect, damage is dealt, and status changes are reflected through both numerical adjustments and vivid 3D animations. The result is a combat system that balances strategy with engaging visual storytelling, where every move impacts both the characters and the battlefield.
Abstract
This disclosure generally describes a massively multiplayer online role-playing game (MMORPG) or, more specifically, a card-based MMORPG that enables characters in a virtual world to collect cards representing specified actions or powers and presents three-dimensional (3D) elements to players representing one or more aspects associated with the characters and environment. This 3D display can, in one implementation, offer a real-time combat engine that processes the card-based events. The 3D display may also offer hanging effects that dynamically present state information associated with the respective character. Further, the MMORPG may offer a real-time responsive and flexible chat management system.
Illustrative Claim
1. A method for evaluating combat in an online game using computer-readable instructions, comprising:
receiving from a plurality of characters in an online game selections of cards representing actions performed on targets;
identifying values of parameters associated with the plurality of characters and the targets;
determining effects on the targets based, at least in part, on the identified values and the performed actions; and
automatically updating one or more attributes of the targets in accordance with the determined effects.