U.S. Pat. No. 7,204,758
VIDEO GAME APPARATUS AND CONTROL METHOD THEREOF, AND PROGRAM OF VIDEO GAME AND COMPUTER-READABLE RECORDING MEDIUM HAVING PROGRAM RECORDED THEREON
AssigneeSquare Enix
Issue DateNovember 9, 2001
U.S. Patent No. 7,204,758: Video game apparatus and control method thereof, and program of video game and computer-readable recording medium having program recorded thereon
Summary:
The ‘758 patent describes a video game where player is rewarded during a battle. The player is awarded points depending on actions he takes. Higher points will be awarded for killing the enemy than for an insubstantial hit during the fight. The invention also has a feature whereby the player can receive items whenever they defeat an enemy. Thus, players are encouraged to fight the enemies on each stage instead of bypassing them to complete the level sooner. Some items suggested vary from small to large medicinal items which increase the player’s health recovery depending on which item the player uses.
Abstract:
A video game determines a reward acquired by a player character that has won a battle. If the player character inflicts damage of at least a predetermined value on an enemy character and kills the enemy character, the experience points acquired by the player character increase and the number of acquired items is also increased. If damage inflicted by the player character on the enemy character, immediately before the player character defeats the enemy character, is at least the predetermined value, then the reward of the battle is thus modified favorably for the player.
Illustrative Claim:
1. A computer-readable recording medium having a program of a video game recorded therein, at least one predetermined parameter assigned to a player character in said game being changed when the player character defeats an enemy character, wherein upon being read by a computer, the program of the video game causes the computer to execute: comparing an amount of damage inflicted on the enemy character by the player character, immediately before the player character defeats the enemy character, with a threshold value previously set for the enemy character; changing the parameter stored in a storage device according to a first condition, when the enemy is defeated by an amount of damage that is less than the threshold value; and changing the parameter stored in the storage device according to a second condition that is different from the first condition, when the enemy is defeated by an amount of damage that is at least the threshold value.
Illustrative Figure
Abstract
A video game determines a reward acquired by a player character that has won a battle. If the player character inflicts damage of at least a predetermined value on an enemy character and kills the enemy character, the experience points acquired by the player character increase and the number of acquired items is also increased. If damage inflicted by the player character on the enemy character, immediately before the player character defeats the enemy character, is at least the predetermined value, then the reward of the battle is thus modified favorably for the player.
Description
DETAILED DESCRIPTION OF THE PREFERRED EMBODIMENTS FIG. 1is a block diagram showing a overall configuration of a video game apparatus according to an embodiment of the present invention. A video game apparatus1includes, as an example, a control device2for controlling the video game apparatus1, an input device (such as a keypad)3connected to the control device2, and an output device (such as a television set)6. The game apparatus1further includes a memory card5for storing game data, such as progress data and configuration data. The control device2is a computer. In the present example, the control device2is a game machine for home use. However, the control device2is not limited thereto. As shown inFIG. 1, the control device2includes, as an example of the configuration thereof, a main control section11, a RAM (Random Access Memory)12, an interface section13, a sound processing section14, a graphics processing section15, a CD-ROM drive16, a communications interface17, an HDD (Hard Disk Drive)18, and a bus19for connecting these components to each other. Furthermore, the CD-ROM drive16is constituted so that a CD-ROM (Compact Disc Read Only Memory)4, which is a recording medium having a program, image data and sound data for implementing processing concerning the game described later stored therein, can be mounted thereon so as to be freely attached thereto and detached therefrom. The main control section11is a circuit including a CPU (Central Processing Unit), a ROM (Read Only Memory) and so on. The CPU controls respective components of the control device2in accordance with a program stored in the RAM12(or in the ROM in some cases). In the ROM, basic programs such as a boot program of the control device2and an OS (Operating System) are stored. Furthermore, the main control section11includes an oscillator and a timer counter (neither of which is illustrated). The main control section11generates a clock signal on the basis of ...
DETAILED DESCRIPTION OF THE PREFERRED EMBODIMENTS
FIG. 1is a block diagram showing a overall configuration of a video game apparatus according to an embodiment of the present invention. A video game apparatus1includes, as an example, a control device2for controlling the video game apparatus1, an input device (such as a keypad)3connected to the control device2, and an output device (such as a television set)6. The game apparatus1further includes a memory card5for storing game data, such as progress data and configuration data.
The control device2is a computer. In the present example, the control device2is a game machine for home use. However, the control device2is not limited thereto.
As shown inFIG. 1, the control device2includes, as an example of the configuration thereof, a main control section11, a RAM (Random Access Memory)12, an interface section13, a sound processing section14, a graphics processing section15, a CD-ROM drive16, a communications interface17, an HDD (Hard Disk Drive)18, and a bus19for connecting these components to each other. Furthermore, the CD-ROM drive16is constituted so that a CD-ROM (Compact Disc Read Only Memory)4, which is a recording medium having a program, image data and sound data for implementing processing concerning the game described later stored therein, can be mounted thereon so as to be freely attached thereto and detached therefrom.
The main control section11is a circuit including a CPU (Central Processing Unit), a ROM (Read Only Memory) and so on. The CPU controls respective components of the control device2in accordance with a program stored in the RAM12(or in the ROM in some cases). In the ROM, basic programs such as a boot program of the control device2and an OS (Operating System) are stored. Furthermore, the main control section11includes an oscillator and a timer counter (neither of which is illustrated). The main control section11generates a clock signal on the basis of a timing signal output from the oscillator at a predetermined period, counts pulses of the clock signal by using the timer counter, and thereby measures the time.
The RAM12is a main storage device used by the CPU of the main control section11to execute a program. The program executed by the CPU and data required for the execution are stored in the RAM12. The RAM12is used also as a work area at the time of program execution.
The interface section13is constituted so that the input device3and the memory card5can be connected thereto so as to be freely attached thereto and detached therefrom. The interface section13controls data transfer between respective components (mainly the control section11) connected to the bus19and the input device3or the memory card5.
The sound processing section14is a circuit for conducting processing to reproduce sound data, such as BGM (Background Music) or sound effects, of a game. The sound processing section14generates a sound signal on the basis of data stored in the RAM12in accordance with an instruction given by the main control section11, and supplies the sound signal to the output device6.
The graphics processing section15includes a frame buffer (not illustrated), and draws an image depending upon an instruction given by the main control section11, on the frame buffer. Furthermore, the graphics processing section15adds a predetermined synchronizing signal to image data drawn on the frame buffer, thereby generates a video signal, and supplies the video signal to the output device6.
The CD-ROM drive16is a reading device for reading data stored on the CD-ROM4serving as a recording medium. The game apparatus1makes the control device2execute control according to a game program recorded on the CD-ROM, and thereby implements control concerning the game described later.
The communications interface17is a circuit for conducting communications control for conducting various kinds of data exchange with other devices on a network100. The communications interface17is connected to the network100via a communications line99if necessary. The communications interface17controls the delivery and receipt of information (program and data) between the control device2and the communications network100. The game program and data downloaded from the external communications network100via the communications interface17and the communications line99may be stored in the HDD18.
The HDD18is an auxiliary storage device used by the CPU of the main control section11to execute a program. Various data and programs, such as information downloaded by using the communications interface17and information read from the CD-ROM, may be stored on the HDD18.
The CD-ROM4stores game software. The game software includes necessary data and a game program for making the main control section conduct processing required to execute a computer game. The game program includes a program for making the game apparatus1execute a method according to the present embodiment. The game software stored on the CD-ROM4can be read by operating the CD-ROM drive16.
Here, in the game apparatus1, the game software can be stored on the HDD18as well. The game software may be pre-installed on the HDD18, installed from the CD-ROM4, or downloaded from other devices on the communications network100, as described above.
The input device3has multiple operation devices operated by a player to input various orders concerning the game to the control device2. When an operation device is operated, the input device3sends a command signal depending upon the operation device to the control device2via the interface section13. In the present embodiment, a keypad30typically attached to a home game machine is prepared as the input device3as an example.
FIG. 2Ais a top view showing the keypad30.FIG. 2Bis a rear view showing the keypad30. As shown inFIG. 2A, cross keys31for inputting a direction order, and operation keys (such as, for example, a ο button32, a Δ button33, a □ button34, a x button35, a start button36, and a select button42) for inputting various commands to the control device2are provided on the keypad30as operation devices. Furthermore, joysticks37a,37bare also provided on the keypad30as operation devices. As shown inFIG. 2B, a plurality of operation keys (an R1button38, an R2button39, an L1button40, and an L2button41) are provided on the rear face of the keypad as well as operation devices. In addition, the keypad30has a vibration function. In other words, the keypad30has a motor incorporated therein. By receiving a predetermined control signal from the control device2, the motor can be activated to vibrate the keypad30as a whole.
The memory card5is comprised of a flash memory. The memory card5is an auxiliary storage device controlled by the control device2to store game data. Writing data into the memory card5and reading data from the memory card5are controlled by the main control section11via the interface section13.
The output device6displays a game image and outputs a sound on the basis of a video signal and a sound signal supplied from the control device2. In the present embodiment, a television (TV) set is prepared as the output device6. This television set includes a display screen61for image display and a speaker62for sound output. The television set displays an image on the display screen61in response to a video signal supplied from the graphics processing section15, and outputs a sound from the speaker62in response to a sound signal supplied from the sound processing section14. Therefore, the television set functions as both a display device and a sound output device.
The main control section11controls operation of the control device2on the basis of basic software stored in the ROM and the game software read out from the CD-ROM4and stored in the RAM12by the CD-ROM drive16. For example, the main control section11reads out graphics data from the CD-ROM4, transfers the graphics data to the graphic processing section15, and orders the graphics processing section15to generate an image. In response to this order, the graphics processing section15generates a video signal by utilizing graphics data. This video signal is sent to the output device6. As a result, an image is displayed on the display screen61of the output device6.
A video game according to the present embodiment is an RPG (Role Playing Game). A player can acquire a reward such as experience points or a trophy (for example, items or virtual money) and make a player character grow by operating the player character and winning a battle against enemy character(s). Parameters, such as experience points, the number of items and amount of the virtual money, assigned to the player character are stored in the RAM12during the game play, and stored in the memory card5when the game is interrupted.
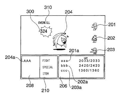
If the player character encounters an enemy character, an image of a battle scene is displayed on the screen of the output device6.FIG. 3shows an example of the image. In this example, player characters201to203operated by the player and an enemy character204operated by the video game apparatus1are displayed on the screen. Names of the player characters201ato203aand hit points (HPs)20lbto203bfor each of the player characters201to203are displayed in a window206located at a bottom right portion of the screen. A name204aof the enemy character204is displayed in a window208located at a bottom left portion of the screen. A command window210and a cursor212are displayed between the window206and the window208. Descriptions (such as “fight” and “special”) of operation commands (so-called commands) for the characters201,202or203that can be selected by the player during the battle are displayed in the command window210. The cursor212can be moved up and down by operating the cross key31or the joysticks37a,37bof the keypad30. By aligning the cursor212to one of the command descriptions in the window210, and then depressing the ο button32of the keypad30, the player can input an operation command represented by the command description to the video game apparatus1. The video game apparatus1makes the player character201,202or203conduct operations according to the input operation command to advance the battle.
FIG. 4shows an example of an image displayed on the screen when the “fight” operation command is input for the player character202. The player character202approaches the enemy character204in the screen and conducts an operation attacking the enemy character204directly. At this time, a sound effect corresponding to the attack of the player character202is reproduced by the output device6. Thereafter, damage inflicted on the enemy character204by the player character202is displayed on the screen. The damage is subtracted from the hit points of the enemy character204. When the hit points of the enemy character204decrease to 0 or less as a result of subtraction, it is meant that the player character202has defeated the enemy character204and won the battle. In this case, the player characters201to203acquire experience points previously set for the enemy character204. Furthermore, the hero character201primarily operated by the player acquires an item or virtual money previously set for the enemy character204. This virtual money can be used to sell or buy items or the like in the game.
A characteristic feature of the present embodiment is that, in the case where a player character finally inflicts a great amount of damage on the enemy character and defeats the enemy character, the player is provided with an advantage that the experience points acquired by the player character increase or the number of items acquired by the player character increases. This advantage is given in the case where the damage inflicted by the player character immediately before the player character defeats the enemy character (i.e., the damage finally inflicted on the enemy character) is at least equal to a threshold previously set for the enemy character.
FIG. 5shows an example of an image displayed on the screen when the player character202inflicts damage that is at least as great as the previously set threshold on the enemy character204and defeats the enemy character204. An amount of damage inflicted on the enemy character204is displayed as denoted with character300. In addition, characters “OVERKILL” are displayed as denoted with word310. An amount of damage inflicted on the enemy character by the player character is displayed each time the player character attacks. However, the word “OVERKILL” is displayed only when the player character inflicts an amount of damage that is at least as great as the threshold associated with the enemy character204and defeats the enemy character204.
FIG. 6is a flow chart showing processing executed by the video game apparatus1in order to implement the above-mentioned feature. This processing is executed when a player character has attacked the enemy character in response to an operation command by the player. The control device2conducts this processing by executing each game program stored on the CD-ROM4. By the way, game programs and necessary data are read out one after another from the CD-ROM4and transferred to the RAM12according to the progress state of processing. In the following description, however, detailed description concerning the readout from the CD-ROM4and the transfer to the RAM12will be omitted in some cases.
If a player character attacks the enemy character in response to an operation command by the player, then damage inflicted on the enemy character by the player character is calculated (step S102). Subsequently, the calculated damage is subtracted from the hit points of the enemy character (step S104). Here, the damage and the hit points are integers. The hit point value of the enemy character is read out from the CD-ROM4into the RAM12together with other data required to display the battle scene on the screen when displaying the battle scene on the screen. Subsequently, it is determined whether the hit point value of the enemy character is 0 or less (step S106). Thereby, it is determined whether the player character has defeated the enemy character.
If the hit point value of the enemy character obtained by the subtraction of the damage is at least 1 (NO route of the step S106), then the processing is finished and operation processing of another player character or the enemy character is started. On the other hand, if the hit point of the enemy character is 0 or less (YES route of the step S106), then the damage calculated at the step S102is compared with a threshold previously set for the enemy character (step S108). This threshold is read out from the CD-ROM4into the RAM12together with other data required to display the battle scene on the screen when displaying the battle scene on the screen.
If the last damage inflicted on the enemy character by the player character is less than the threshold (NO route of the step S108), then standard reward processing is executed (step S110). In this processing, experience points which respective player characters in the party including that player character acquire, and the kind and the number of items which the hero character acquires as a representative of the party are determined according to standard rules. For example, if the player character202inflicts damage on the enemy character204and defeats the enemy character204as shown inFIGS. 3 to 5, then experience points acquired by the player characters201to203, and the kind and the number of items acquired by the hero character201are determined according to standard rules. The determined acquisition experience points are added respectively to possessed experience points of the player characters201to203stored in the RAM12. Furthermore, the determined acquisition number of the item is added to the possession number of the item of the player character201stored in the RAM12.
On the other hand, if the damage is at least the threshold (YES route of the step S108), then special reward determining processing is executed (step S112). In this processing, the word “OVERKILL” is displayed on a battle picture of the screen. In addition, experience points which respective player characters in the party acquire, and the kind and the number of items which the hero character acquires as a representative of the party are determined according to special rules different from the standard rules. For example, if the player character202inflicts damage on the enemy character204and defeats the enemy character204as shown inFIGS. 3 to 5, then experience points acquired by the player characters201to203, and the kind and the number of items acquired by the hero character201are determined according to the special rules. The determined acquisition experience points are added respectively to possession experience points of the player characters201to203stored in the RAM12. Furthermore, the determined acquisition number of the item is added to the possessed number of the pertinent item of the player character201stored in the RAM12.
In the present embodiment, two columns for standard rules and special rules are prepared in a table that defines, for respective enemy characters, the experience points and the kinds and the numbers of items a player character acquires when the player character has defeated the enemy characters. According to whether the last damage inflicted on the enemy character is greater than the threshold, either of the two columns is referred to. In the standard reward processing, the column for standard rules is referred to. In the special reward processing, the column for special rules is referred to.
The acquisition experience points of the player character determined by the special rules are greater than the acquisition experience points of the player character determined by the standard rules. Therefore, when a player character has inflicted damage of at least the threshold and defeated the enemy character, the raise quantity of the experience points is greater than when a player character has inflicted damage less than the threshold and defeated the same enemy character. Furthermore, the number of items acquired by the player character determined by special rules is larger than the number of the same items acquired by the player character determined by standard rules. Therefore, when the player character has inflicted damage of at least the threshold on the enemy character and defeated the enemy character, the increase quantity in the number of possession items is larger than when the player character has inflicted damage less than the threshold on the enemy character and defeated the same enemy character.
If the player character inflicts damage of at least the threshold on the enemy character and defeats the enemy character, then an advantage of increased experience points and number of items acquired by the player character is thus given to the player in the present embodiment. Therefore, the pleasure of the battle is increased and the interest of the game can be enhanced.
Thus, the present invention has been described on the basis of one embodiment. However, the present invention is not limited to the above-mentioned embodiment. Without departing from the spirit thereof, various modifications can be made. For example, multiple steps involved in the method according to the present invention can be changed in their order without departing from the spirit or scope of the present invention.
In the above-mentioned embodiment, the raise quantity of the experience points is increased, provided that the player character inflicts damage of at least the threshold on the enemy character and kills the enemy character. Alternatively, the raise quantity of another parameter raised by winning the battle, such as a growth parameter, which indicates the degree of growth of the player character, may be increased.
Although, in the above-mentioned embodiment, the number of items acquired by the player character is increased provided that the player character inflicts damage of at least the threshold on the enemy character and defeats the enemy character, various other advantages concerning items are conceivable. For example, in such a video game that the enemy character does not always have an item but has an item with a predetermined probability, the probability of acquiring an item may be increased, provided that the player character inflicts damage of at least the threshold on the enemy character and kills the enemy character. Furthermore, when the player character inflicts damage of at least the threshold on the enemy character and defeats the enemy character, the player character may acquire an item different from that acquired when the player character inflicts damage less than the threshold on the enemy character and defeats the enemy character, such as a rare item that does not appear usually.
If the player character has inflicted damage of at least the threshold on the enemy character and defeats the enemy character, then the acquisition experience point and the number of acquisition items are always increased in the present embodiment. However, the reward of the player character may be changed with a predetermined probability. For example, the acquisition experience points may be increased at a predetermined probability or the number of acquired items may be increased at a predetermined probability.
The present invention can be applied to such a video game that a player character fights a battle with multiple enemy characters and acquires experience points or items, each time the player character defeats an enemy character. The present invention can also be applied to such a video game that the player character acquires experience points or items only when the player character defeats all enemy characters.
In the above-mentioned embodiment, a single player game that does not use a network has been exemplified. However, a video game implemented by the present invention may be such an on-line game that a group of players operate respective characters in a common virtual space by utilizing a computer network.
In the above-mentioned embodiment, the present invention has been described in connection with a home game apparatus. However, the present invention can be applied to general computers, such as personal computers, or arcade game machines as well.
In the above-mentioned embodiment, the display device, the input device, and the control device are separated from each other. However, it is also possible to apply the present invention to a video game apparatus having the display device, the input device, and the control device united in a single body.
In the above-mentioned embodiment, a CD-ROM is used as a computer-readable recording medium for recording the game program and data. However, the recording medium is not limited to the CD-ROM, but it may be another computer-readable magnetic or optical recording medium or a semiconductor memory, such as a DVD (Digital Versatile Disc) or a ROM card. Furthermore, the program and data for implementing the present invention may be provided by using such a scheme that the program and data are installed previously in a storage device of the game apparatus or a computer.
The program and data for implementing the present invention may be downloaded from other devices located on a network100, which are connected via a communications line99, to an HDD18by using a communications interface17illustrated inFIG. 1. Furthermore, it is also possible to record the program and data previously in a memory of other devices located on the communications line99, read the program and data one after another in a RAM12via the communications line99as occasion demands, and use the program and data.
As for the form of providing the program and data for implementing the present invention, the program and data may be provided from other devices located on the network100as a computer data signal superimposed on a carrier wave. For example, the control device2may request other devices located on the communications network100to transmit a computer data signal, from the communications interface17via the communications line99, receive a transmitted computer data signal, and store the computer data signal in the RAM12, in order to implement the present invention.
According to the present invention, the reward received by a player character might differ depending upon whether the damage inflicted by the player character immediately before the player character wins against an enemy character exceeds a threshold value set for the enemy character previously. As a result, the pleasure of the battle is increased and the interest of games can be increased.
Many widely different embodiments of the present invention may be constructed without departing from the sprit and scope of the present invention. It should be understood that the present invention is not limited to the specific embodiments described in the specification, except as described in the appended claims.
Claims
- A computer-readable recording medium having a program of a video game recorded therein, at least one predetermined parameter assigned to a player character in said game being changed when the player character defeats an enemy character, wherein upon being read by a computer, the program of the video game causes the computer to execute: comparing an amount of damage inflicted on the enemy character by the player character, immediately before the player character defeats the enemy character, with a threshold value previously set for the enemy character;changing the parameter stored in a storage device according to a first condition, when the enemy is defeated by an amount of damage that is less than the threshold value;and changing the parameter stored in the storage device according to a second condition that is different from the first condition, when the enemy is defeated by an amount of damage that is at least the threshold value.
- The computer-readable recording medium according to claim 1 , wherein when the amount of damage is less than the threshold value, the changing raises the parameter stored in the storage device by a first value;and when the amount of damage is at least the threshold value, the changing raises the parameter stored in the storage device by a second value that is greater than the first value.
- The computer-readable recording medium according to claim 1 , wherein said predetermined parameter comprises the number of items acquired by the player character;and when the amount of damage is less than the threshold value, the changing increases the number of items stored in the storage device by a first number;and when the amount of damage is at least the threshold value, the changing increases the number of items stored in the storage device by a second number that is greater than the first number.
- The computer-readable recording medium according to claim 1 , wherein said predetermined parameter comprises the number of items acquired by the player character;when the amount of damage is less than the threshold value, the changing increases a number of first items stored in the storage device;and when the amount of damage is at least the threshold value, the changing increases a number of second items that are different from the first items, stored in the storage device.
- The computer-readable recording medium according to claim 1 , wherein when the amount of damage is less than the threshold value, the changing changes the probability of acquiring an item to a first probability;and when the amount of damage is at least the threshold value, the changing changes the probability of acquiring the item to a second probability that is higher than the first probability.
- The computer-readable recording medium according to claim 1 , wherein a plurality of players operate respective characters in a common virtual space by utilizing a computer network.
- A video game apparatus comprising: a computer-readable recording medium having a program of a video game recorded therein, at least one predetermined parameter assigned to a player character in said video game being changed when the player character wins a battle against an enemy character;and a computer that reads the program from the recording medium and executes the program by reading the program from the recording medium, wherein upon reading the program from the recording medium, the computer compares an amount of damage inflicted on the enemy character by the player character, immediately before the player character defeats the enemy character, with a threshold value previously set for the enemy character;changes the parameter stored in a storage device according to a first condition, when the enemy is defeated by an amount of damage that is less than the threshold value;and changes the parameter stored in the storage device according to a second condition that is different from the first condition, when the enemy is defeated by an amount of damage that is at least the threshold value.
- The video game apparatus according to claim 7 , wherein said computer raises the parameter stored in the storage device by a first value, when the amount of damage is less than the threshold value;and raises the parameter stored in the storage device by a second value that is greater than the first value, when the amount of damage is at least the threshold value.
- The video game apparatus according to claim 7 , wherein said predetermined parameter comprises the number of items acquired by the player character;and the computer increases the number of items stored in the storage device by a first number, when the amount of damage is less than the threshold value;and the computer increases the number of items stored in the storage device by a second number that is greater than the first number, when the amount of damage is at least the threshold value.
- The video game apparatus according to claim 7 , wherein said predetermined parameter comprises the number of items acquired by the player character;and the computer increases a number of first items stored in the storage device, when the amount of damage is less than the threshold value;and the computer increases a number of second items, that are different from the first items, stored in the storage device, when the amount of damage is at least the threshold value.
- The video game apparatus according to claim 7 , wherein said predetermined parameter comprises the number of items acquired by the player character;and the computer changes the number of items the player character acquires by using a first item acquisition factor, when the amount of damage is less than the threshold value;and the computer changes the number of the items the player character acquires by using a second item acquisition factor that is higher than the first item acquisition factor, when the amount of damage is at least the threshold value.
- The video game apparatus according to claim 7 , wherein the video game comprises an on-line game in which a plurality of players operate respective characters in a common virtual space by utilizing a computer network.
- A control method of a video game apparatus including a computer and a display device that displays an image of a video game, at least one predetermined parameter assigned to a player character in said video game being changed when the player character wins a battle against an enemy character, the method comprising: comparing an amount of damage inflicted on the enemy character by the player character, immediately before the player character defeats the enemy character, with a threshold value previously set for the enemy character;changing the parameter stored in a storage device according to a first condition, when the enemy is defeated by an amount of damage that is less than the threshold value;and changing the parameter stored in the storage device according to a second condition that is different from the first condition, when the enemy is defeated by an amount of damage that is at least the threshold value.
- The control method of a video game apparatus according to claim 13 , wherein when the amount of damage is less than the threshold value, the changing raises the parameter stored in the storage by a first value;and when the amount of damage is at least the threshold value, the changing raises the parameter stored in the storage device by a second value that is greater than the first value.
- The control method of a video game apparatus according to claim 13 , wherein said predetermined parameter comprises the number of items acquired by the player character;and when the amount of damage is less than the threshold value, the changing increases the number of items stored in the storage device by a first number;and when the amount of damage is at least the threshold value, the changing increases the number of items stored in the storage device by a second number that is greater than the first number.
- The control method of a video game apparatus according to claim 13 , wherein said predetermined parameter comprises the number of items acquired by the player character;and when the amount of damage is less than the threshold value, the changing increases a number of first items stored in the storage device;and when the amount of damages is at least the threshold value, the changing increases a number of second items, that are different from the first items, stored in the storage device.
- The control method of a video game apparatus according to claim 13 , wherein said predetermined parameter comprises the number of items acquired by the player character;and when the amount of damage is less than the threshold value, the changing changes the number of the items the player character acquires by using a first item acquisition factor;and when the amount of damage is at least the threshold value, the changing changes the number of items the player character acquires by using a second item acquisition factor that is higher than the first item acquisition factor.
- The control method of a video game apparatus according to claim 13 , wherein the video game comprises an on-line game in which a plurality of players operate respective characters in a common virtual space by utilizing a computer network.
Disclaimer: Data collected from the USPTO and may be malformed, incomplete, and/or otherwise inaccurate.
