Skip to content
Patent Arcade By KellDann
  • Home
  • Blog
  • Video Game Patent DB
  • FAQ
  • About
  • KellDann.com
    1. Home
    2. >
    3. Video Game Patent Database

    Video Game Patent Database

    Results for the query

    Showing matches for "G10L19/008".

    3 records found

    Figure Patent No. Title Assignee Issue Date
    U.S. Pat. No. 10,714,111 U.S. Pat. App. No. 16/249,183 ENHANCED ADAPTIVE AUDIO RENDERING TECHNIQUES Microsoft Technology Licensing, LLC January 16, 2019 Read our Analysis
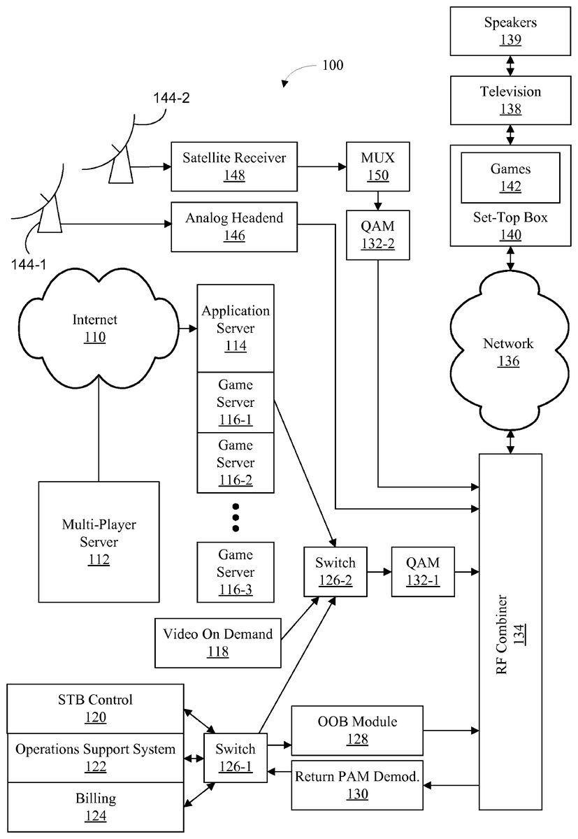
    U.S. Pat. No. 8,194,862 U.S. Pat. App. No. 12/534,016 VIDEO GAME SYSTEM WITH MIXING OF INDEPENDENT PRE-ENCODED DIGITAL AUDIO BITSTREAMS Activevideo Networks, Inc. July 31, 2009 Patent Details
    U.S. Pat. No. 8,270,439 U.S. Pat. App. No. 11/620,593 VIDEO GAME SYSTEM USING PRE-ENCODED DIGITAL AUDIO MIXING Activevideo Networks, Inc. January 5, 2007 Patent Details

    Disclaimer: Data collected from the USPTO and may be malformed, incomplete, and/or otherwise inaccurate.

    Patent Arcade

    Video Games. IP. Law. By KellDann.

  • Home
  • Blog
  • Video Game Patent Database
  • Contact Us
  • Terms of Service and Privacy Policy