Results for the query

Showing matches for "Aristocrat Technologies Australia Pty Limited".

119 records found

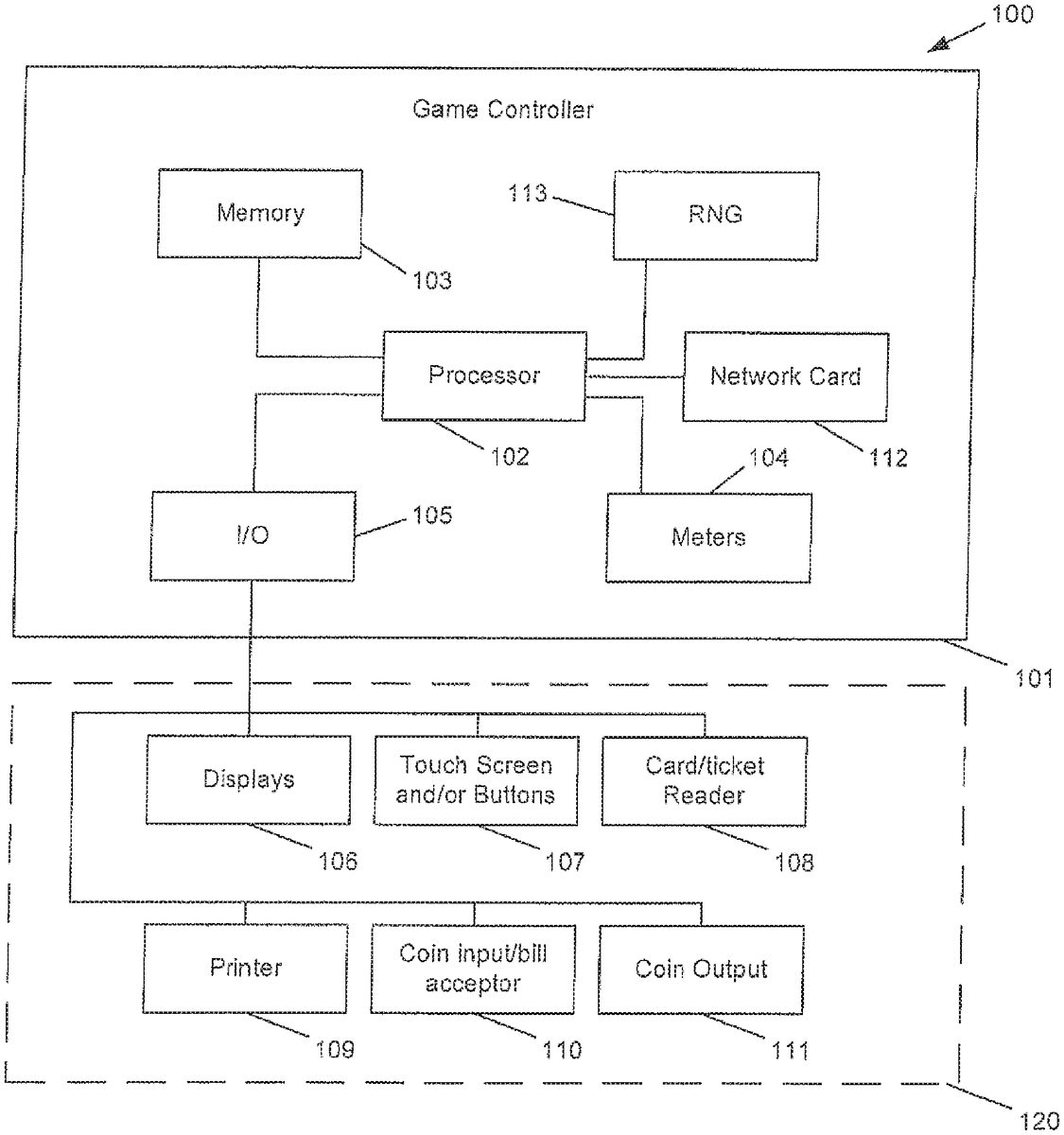
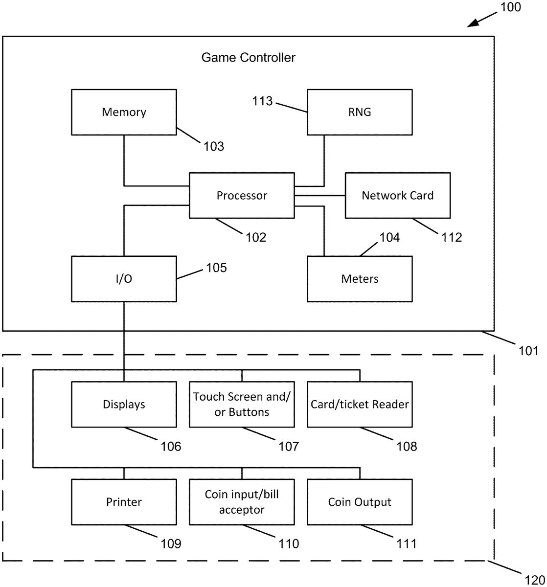
Figure Patent No. Title Assignee Issue Date
U.S. Pat. No. 12,315,344 U.S. Pat. App. No. 18/435,644 Method of Operating a Gaming System, a Gaming System and a Game Controller Aristocrat Technologies Australia Pty Limited February 7, 2024
U.S. Pat. No. 12,400,512 U.S. Pat. App. No. 18/466,674 METHOD OF GAMING, A GAMING SYSTEM AND A GAME CONTROLLER Aristocrat Technologies Australia Pty Limited September 13, 2023
U.S. Pat. No. 12,236,742 U.S. Pat. App. No. 17/711,788 METHOD OF GAMING, A GAMING SYSTEM AND A GAME CONTROLLER Aristocrat Technologies Australia PTY Limited April 1, 2022
U.S. Pat. No. 11,837,056 U.S. Pat. App. No. 17/392,530 METHOD OF GAMING, A GAMING SYSTEM AND A GAME CONTROLLER ARISTOCRAT TECHNOLOGIES AUSTRALIA PTY LIMITED August 3, 2021
U.S. Pat. No. 11,455,867 U.S. Pat. App. No. 17/226,767 Method of Operating a Gaming System, a Gaming System and a Game Controller ARISTOCRAT TECHNOLOGIES AUSTRALIA PTY LIMITED April 9, 2021
U.S. Pat. No. 11,562,624 U.S. Pat. App. No. 17/144,962 Method of Gaming, a Gaming System and a Game Controller Having Moveable Symbols at Increasing Display Positions with Different Appearances Aristocrat Technologies Australia Pty Limited January 8, 2021
U.S. Pat. No. 11,763,625 U.S. Pat. App. No. 17/084,227 Method of Gaming, a Gaming System and a Game Controller Aristocrat Technologies Australia Pty Limited October 29, 2020
U.S. Pat. No. 11,551,511 U.S. Pat. App. No. 17/038,170 METHOD OF GAMING, A GAMING SYSTEM AND A GAME CONTROLLER ARISTOCRAT TECHNOLOGIES AUSTRALIA PTY LIMITED September 30, 2020
U.S. Pat. No. 11,532,200 U.S. Pat. App. No. 16/938,553 METHOD OF GAMING, A GAMING SYSTEM AND A GAME CONTROLLER ARISTOCRAT TECHNOLOGIES AUSTRALIA PTY LIMITED July 24, 2020
U.S. Pat. No. 11,514,760 U.S. Pat. App. No. 16/903,018 Method of Gaming, a Game Controller and a Gaming System ARISTOCRAT TECHNOLOGIES AUSTRALIA PTY LIMITED June 16, 2020

Disclaimer: Data collected from the USPTO and may be malformed, incomplete, and/or otherwise inaccurate.