Results for the query

Showing matches for "Amazon Technologies Inc".

21 records found

Figure Patent No. Title Assignee Issue Date
U.S. Pat. No. 11,571,619 U.S. Pat. App. No. 17/403,458 Cross-Region Management of Game Server Fleets Amazon Technologies Inc August 16, 2021
U.S. Pat. No. 11,571,618 U.S. Pat. App. No. 17/403,324 Multi-Region Game Server Fleets Amazon Technologies Inc August 16, 2021
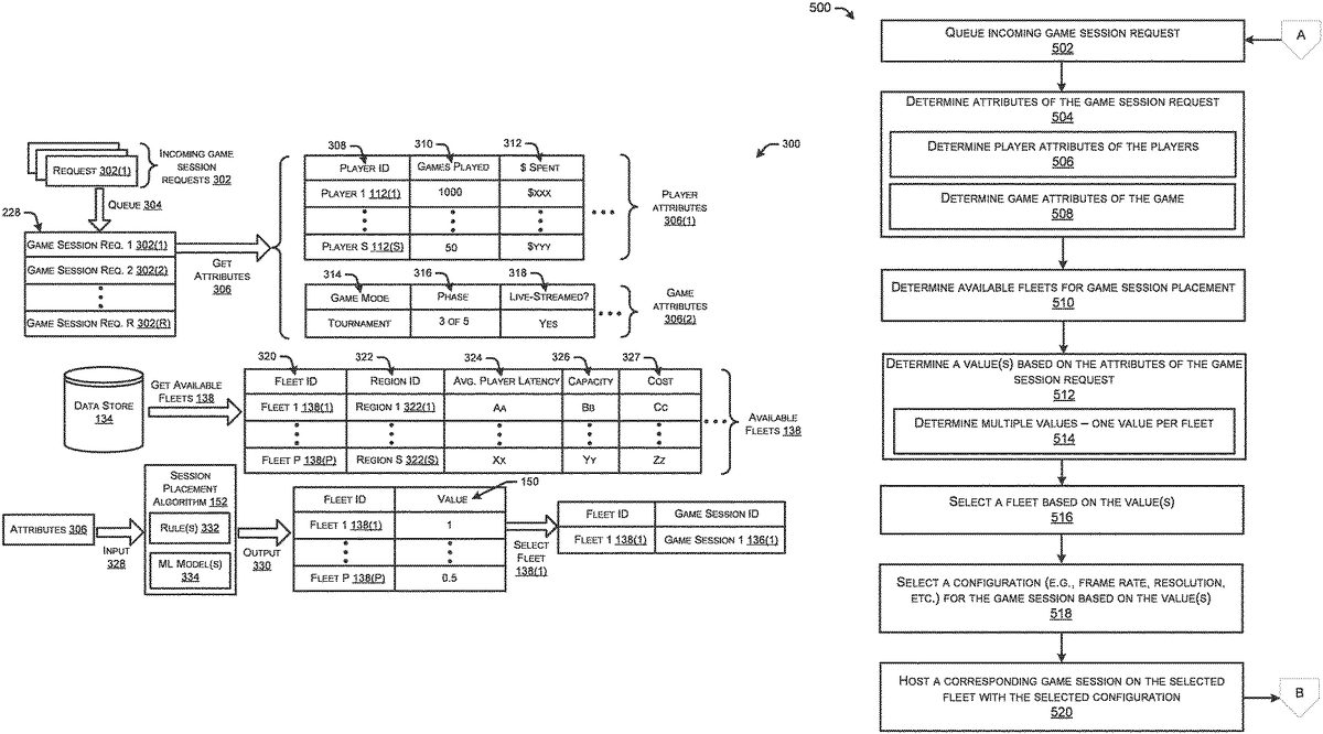
U.S. Pat. No. 11,583,778 U.S. Pat. App. No. 16/834,528 VALUE-BASED GAME SESSION PLACEMENTS Amazon Technologies Inc March 30, 2020
U.S. Pat. No. 11,504,632 U.S. Pat. App. No. 16/712,838 DYNAMIC ADJUSTMENT OF SHARD COUNT FOR PLAYER MATCHMAKING Amazon Technologies Inc December 12, 2019
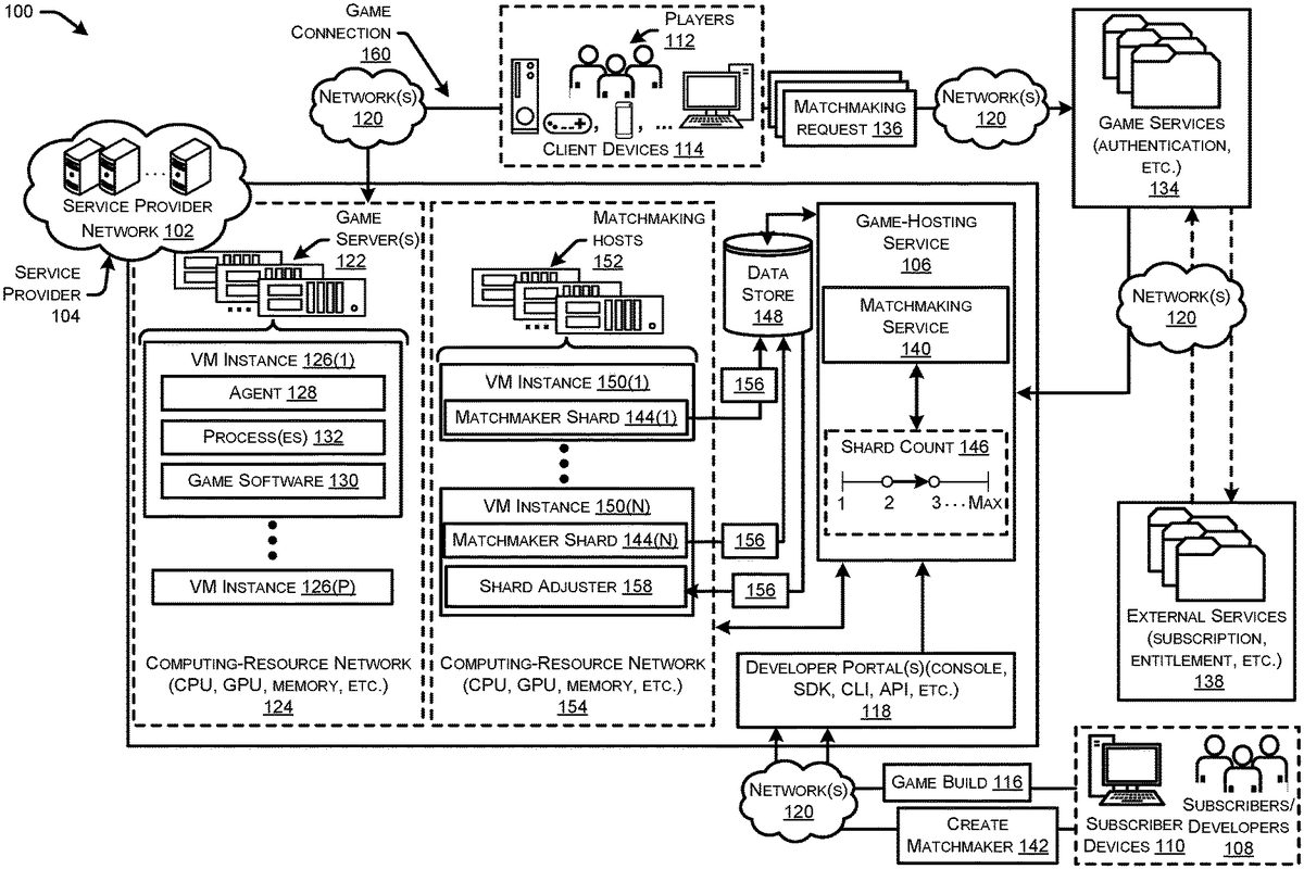
U.S. Pat. No. 10,953,325 U.S. Pat. App. No. 16/659,325 RESOURCE SELECTION FOR HOSTED GAME SESSIONS Amazon Technologies Inc October 21, 2019
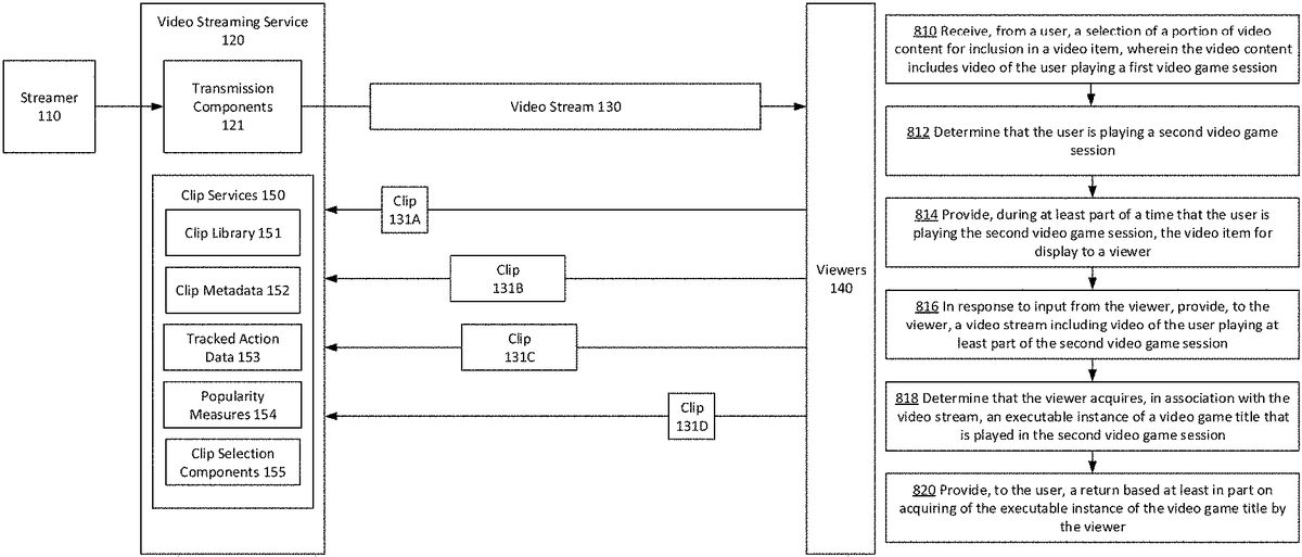
U.S. Pat. No. 10,898,815 U.S. Pat. App. No. 16/442,018 Streamer-Generated Video Items From Game Sessions Amazon Technologies Inc June 14, 2019
U.S. Pat. No. 10,953,328 U.S. Pat. App. No. 16/430,184 DYNAMIC BATCHING INTERVAL ADJUSTMENT FOR GAME SESSION CREATION Amazon Technologies Inc June 3, 2019
U.S. Pat. No. 11,052,321 U.S. Pat. App. No. 16/165,754 APPLYING PARTICIPANT METRICS IN GAME ENVIRONMENTS Amazon Technologies Inc October 19, 2018
U.S. Pat. No. 10,807,006 U.S. Pat. App. No. 15/833,903 BEHAVIOR-AWARE PLAYER SELECTION FOR MULTIPLAYER ELECTRONIC GAMES Amazon Technologies Inc December 6, 2017
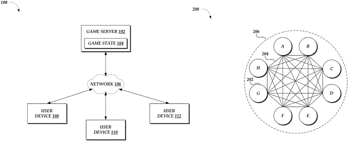
U.S. Pat. No. 10,940,388 U.S. Pat. App. No. 15/795,928 VARIABLE LATENCY COMPENSATION FOR ASYNCHRONOUS MULTIPLAYER GAMES Amazon Technologies Inc October 27, 2017

Disclaimer: Data collected from the USPTO and may be malformed, incomplete, and/or otherwise inaccurate.