Results for the query

Showing matches for "A63F2300/1087".

68 records found

Figure Patent No. Title Assignee Issue Date
U.S. Pat. No. 12,182,332 U.S. Pat. App. No. 17/830,990 EXTEND THE GAME CONTROLLER FUNCTIONALITY WITH VIRTUAL BUTTONS USING HAND TRACKING Sony Interactive Entertainment Inc. June 2, 2022
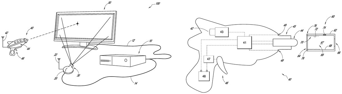
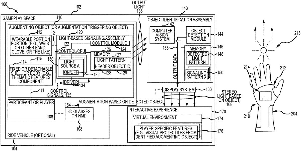
U.S. Pat. No. 11,524,239 U.S. Pat. App. No. 17/531,971 GAMEPLAY SYSTEM WITH PLAY AUGMENTED BY MERCHANDISE Disney Enterprises, Inc. November 22, 2021
U.S. Pat. No. 11,207,599 U.S. Pat. App. No. 16/801,939 GAMEPLAY SYSTEM WITH PLAY AUGMENTED BY MERCHANDISE Disney Enterprises, Inc. February 26, 2020
U.S. Pat. No. 11,027,190 U.S. Pat. App. No. 16/161,745 GAME CONTROLLER AND GAME SYSTEM Nintendo Co., Ltd. October 16, 2018
U.S. Pat. No. 10,748,341 U.S. Pat. App. No. 15/993,215 to TERMINAL DEVICE, SYSTEM, PROGRAM, AND METHOD FOR COMPOSITING A REAL-SPACE IMAGE OF A PLAYER INTO A VIRTUAL SPACE GungHo Online Entertainment, Inc. May 30, 2018
U.S. Pat. No. 10,118,092 U.S. Pat. App. No. 15/806,754 VIDEO GAMING SYSTEM AND METHOD OF OPERATION Performance Designed Products LLC November 8, 2017
U.S. Pat. No. 9,898,872 U.S. Pat. App. No. 15/450,079 MOBILE TELE-IMMERSIVE GAMEPLAY Disney Enterprises Inc March 6, 2017
U.S. Pat. No. 10,137,365 U.S. Pat. App. No. 15/295,290 GAME CONTROLLER AND GAME SYSTEM Nintendo Co., Ltd. October 17, 2016
U.S. Pat. No. 10,369,462 U.S. Pat. App. No. 15/283,891 CLIENT SIDE PROCESSING OF GAME CONTROLLER INPUT Microsoft Technology Licensing, LLC October 3, 2016
U.S. Pat. No. 10,512,845 U.S. Pat. App. No. 15/270,628 REAL-TIME MANIPULATION OF GAMEPLAY THROUGH SYNCHRONOUS SIGNAL CONSUMPTION IN NON-INTERACTIVE MEDIA Disney Enterprises Inc September 20, 2016

Disclaimer: Data collected from the USPTO and may be malformed, incomplete, and/or otherwise inaccurate.