Results for the query

Showing matches for "2800".

103 records found

Figure Patent No. Title Assignee Issue Date
U.S. Pat. No. 12,396,133 U.S. Pat. App. No. 18/346,972 HEAT SINK FOR HANDHELD GAME CONSOLE SHENZHEN DEONE INNOVATION TECHNOLOGY CO., LTD July 5, 2023
U.S. Pat. No. 12,245,687 U.S. Pat. App. No. 18/008,276 A SIGNAL DRIVEN LIGHT-EMITTING E-SPORTS TABLE DESIGNA INC. December 5, 2022
U.S. Pat. No. 12,225,691 U.S. Pat. App. No. 17/506,415 COOLING APPARATUS FOR A SSD MEMORY IN A VIDEO GAME CONSOLE Nexark, Inc. October 20, 2021
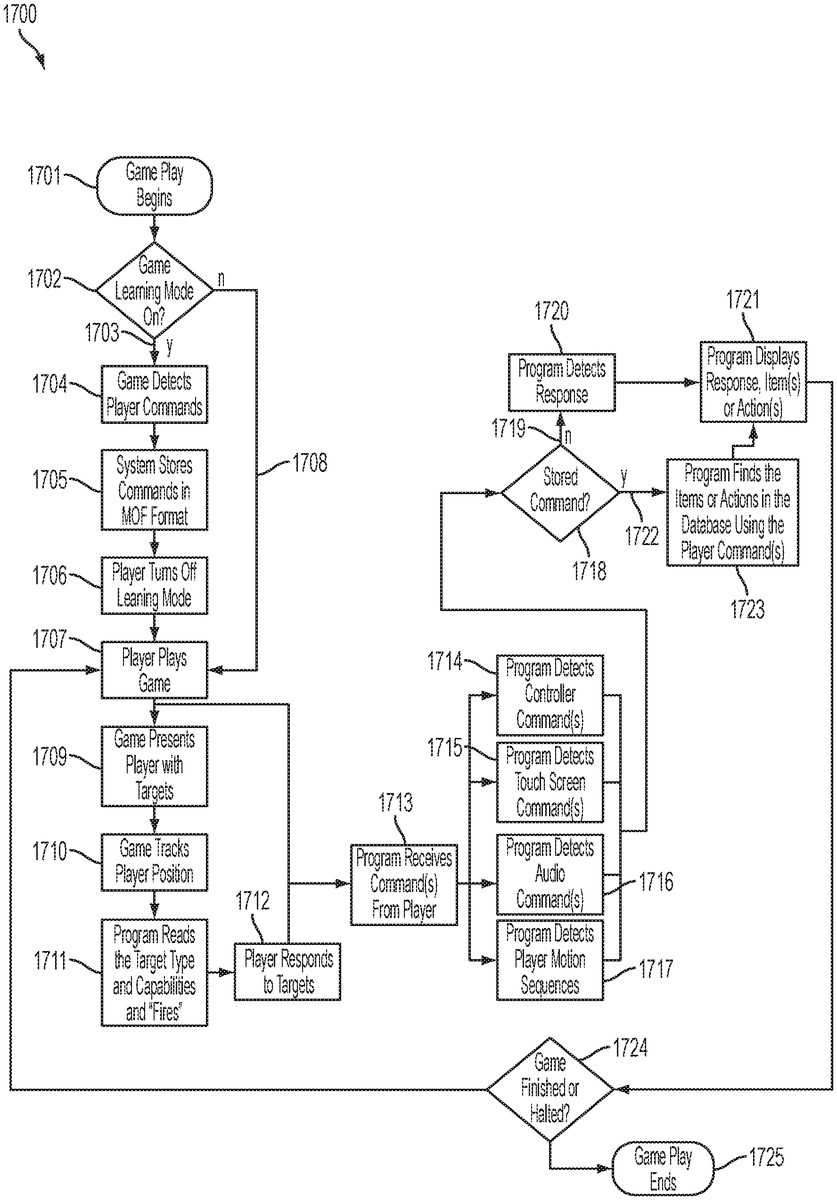
U.S. Pat. No. 11,967,846 U.S. Pat. App. No. 17/448,118 MODULAR CHARGER FOR A GAME CONTROLLER Unknown assignee September 20, 2021
U.S. Pat. No. 11,656,258 U.S. Pat. App. No. 17/372,986 RADIO FIELD INTENSITY MEASUREMENT DEVICE, AND RADIO FIELD INTENSITY DETECTOR AND GAME CONSOLE USING THE SAME Semiconductor Energy Laboratory Co., Ltd. July 12, 2021
U.S. Pat. No. 11,361,671 U.S. Pat. App. No. 16/862,131 VIDEO GAMING CONSOLE THAT SYNCHRONIZES DIGITAL IMAGES WITH VARIATIONS IN MUSICAL TEMPO JAMMIT, INC. April 29, 2020
U.S. Pat. No. 11,061,058 U.S. Pat. App. No. 16/855,090 RADIO FIELD INTENSITY MEASUREMENT DEVICE, AND RADIO FIELD INTENSITY DETECTOR AND GAME CONSOLE USING THE SAME Semiconductor Energy Laboratory Co., Ltd. April 22, 2020
U.S. Pat. No. 11,179,633 U.S. Pat. App. No. 16/709,718 SKETCHING ROUTINE FOR VIDEO GAMES SQUARE ENIX LTD. December 10, 2019
U.S. Pat. No. 10,702,768 U.S. Pat. App. No. 16/452,404 ADVANCED GAMEPLAY SYSTEM International Business Machines Corp June 25, 2019
U.S. Pat. No. 11,173,399 U.S. Pat. App. No. 16/291,820 MUSIC VIDEO GAME WITH USER DIRECTED SOUND GENERATION Activision Publishing, Inc. March 4, 2019

Disclaimer: Data collected from the USPTO and may be malformed, incomplete, and/or otherwise inaccurate.