Results for the query

Showing matches for "Zynga Inc.".

84 records found

Figure Patent No. Title Assignee Issue Date
U.S. Pat. No. 9,480,916 U.S. Pat. App. No. 14/973,114 CONFLICT RESOLUTION IN ASYNCHRONOUS MULTIPLAYER GAMES Zynga Inc. December 17, 2015
U.S. Pat. No. 9,604,145 U.S. Pat. App. No. 14/923,407 ADAPTIVE TASK ASSIGNMENT FOR ONLINE GAMES THAT USES PLAYER PROFILES Zynga Inc. October 26, 2015
U.S. Pat. No. 9,387,406 U.S. Pat. App. No. 14/814,923 APPARATUS, METHOD AND COMPUTER READABLE STORAGE MEDIUM FOR GUIDING GAME PLAY VIA A SHOW ME BUTTON Zynga Inc. July 31, 2015
U.S. Pat. No. 9,522,335 U.S. Pat. App. No. 14/725,338 Low-Friction Synchronous Interaction in Multiplayer Online Game Zynga Inc. May 29, 2015
U.S. Pat. No. 9,333,430 U.S. Pat. App. No. 14/639,499 GAMING SYSTEM FOR UPDATING A PRESENTATION OF A VIRTUAL GAME ENVIRONMENT Zynga Inc. March 5, 2015
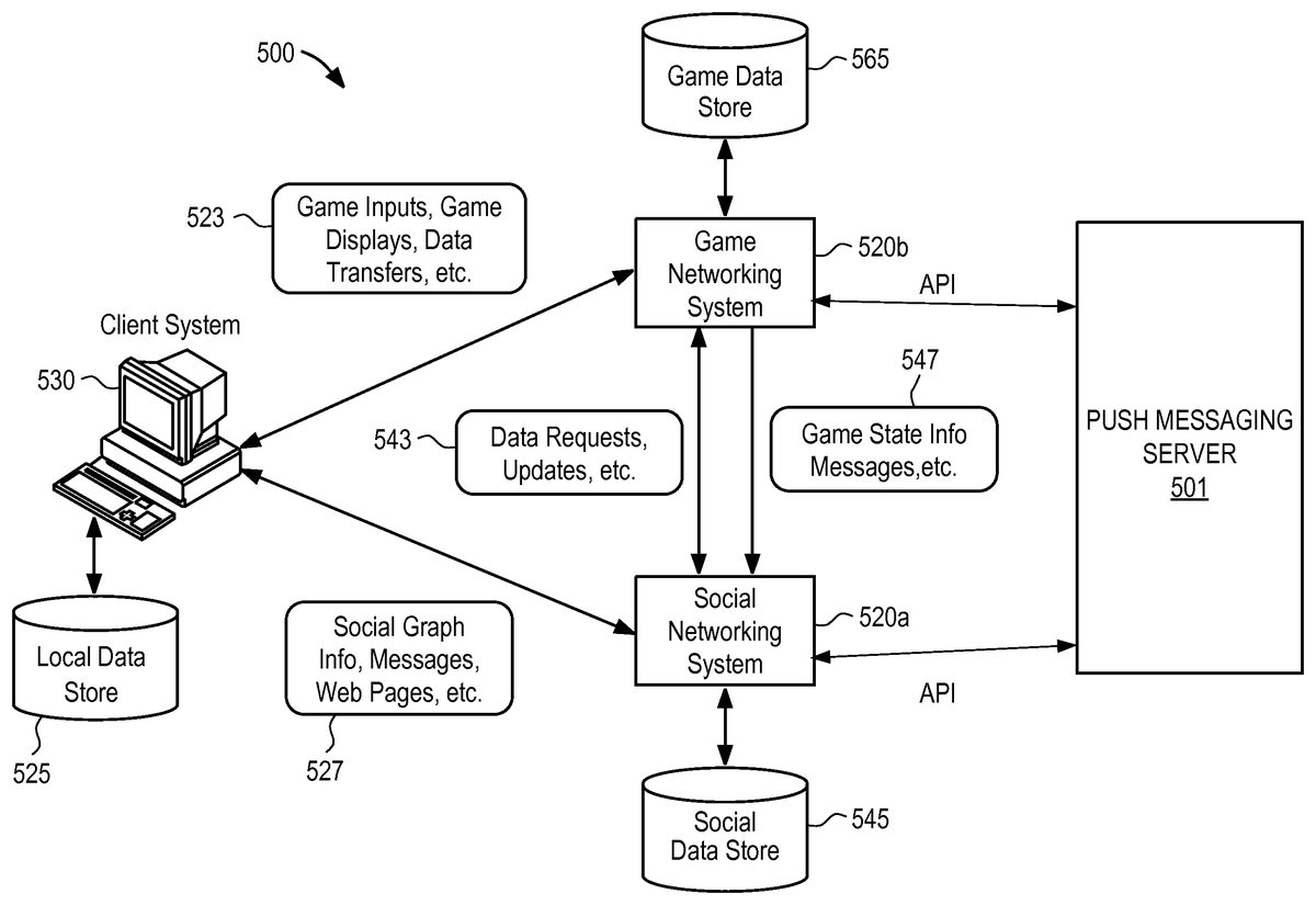
U.S. Pat. No. 9,914,052 U.S. Pat. App. No. 14/610,399 PUSH MESSAGING ARCHITECTURE FOR ONLINE GAMES Zynga Inc. January 30, 2015
U.S. Pat. No. 9,737,810 U.S. Pat. App. No. 14/576,104 ASYNCHRONOUS ONLINE GAME PLAY AND DEFEND MODE PROCESSING TO ENABLE SOCIAL FRIENDS TO ASSIST AND ALTER GAME PLAY OUTCOMES Zynga Inc. December 18, 2014
U.S. Pat. No. 10,549,180 U.S. Pat. App. No. 14/503,333 SWIPE-DIRECTION GESTURE CONTROL FOR VIDEO GAMES USING GLASS INPUT DEVICES Zynga Inc. September 30, 2014
U.S. Pat. No. 9,573,065 U.S. Pat. App. No. 14/477,712 Social Network Data Analysis to Generate Incentives for Online Gaming Zynga Inc. September 4, 2014
U.S. Pat. No. 9,216,358 U.S. Pat. App. No. 14/466,949 Online Games Using Terraformed Game Spaces Zynga Inc. August 22, 2014

Disclaimer: Data collected from the USPTO and may be malformed, incomplete, and/or otherwise inaccurate.