Results for the query

Showing matches for "A63F13/45".

455 records found

Figure Patent No. Title Assignee Issue Date
U.S. Pat. No. 12,121,815 U.S. Pat. App. No. 17/491,428 SYSTEM AND METHOD FOR INCENTIVIZING USER PARTICIPATION IN VIDEO GAMES Unknown assignee September 30, 2021
U.S. Pat. No. 11,484,791 U.S. Pat. App. No. 17/479,007 METHOD FOR CONTROLLING A GAME PLAY Supercell Oy September 20, 2021
U.S. Pat. No. 11,617,947 U.S. Pat. App. No. 17/393,357 Video Game Overlay Sony Interactive Entertainment LLC August 3, 2021
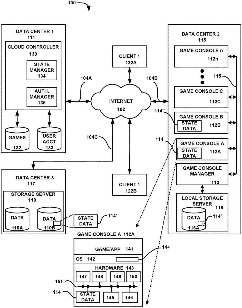
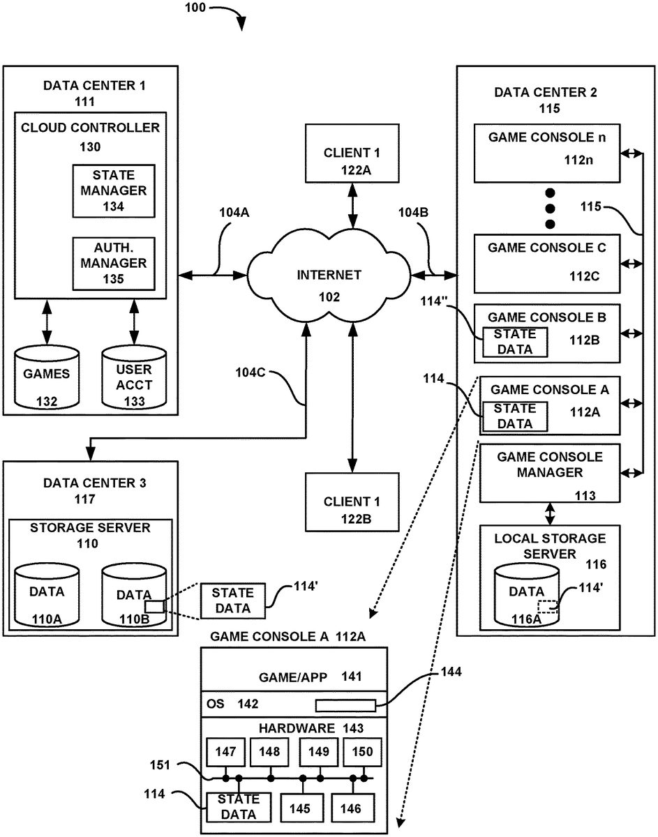
U.S. Pat. No. 11,612,814 U.S. Pat. App. No. 17/374,965 GAME STATE SAVE, TRANSFER AND RESUME FOR CLOUD GAMING Sony Interactive Entertainment LLC July 13, 2021
U.S. Pat. No. 11,617,957 U.S. Pat. App. No. 17/295,671 ELECTRONIC DEVICE FOR PROVIDING INTERACTIVE GAME AND OPERATING METHOD THEREFOR Samsung Electronics Co Ltd May 20, 2021
U.S. Pat. No. 11,654,370 U.S. Pat. App. No. 17/166,979 Social Network Data Analysis to Generate Incentives for Online Gaming Zynga Inc. February 3, 2021
U.S. Pat. No. 11,298,617 U.S. Pat. App. No. 17/097,302 GAME PROGRAM, GAME PROCESSING METHOD, AND INFORMATION PROCESSING DEVICE KOEI TECMO GAMES CO., LTD. November 13, 2020
U.S. Pat. No. 11,058,949 U.S. Pat. App. No. 17/081,971 GAME STATE SAVE, TRANSFER AND RESUME FOR CLOUD GAMING Sony Interactive Entertainment LLC October 27, 2020
U.S. Pat. No. 11,207,597 U.S. Pat. App. No. 17/070,109 GAME SYSTEM, COMPUTER-READABLE NON-TRANSITORY STORAGE MEDIUM HAVING GAME PROGRAM STORED THEREIN, GAME APPARATUS, AND GAME PROCESSING CONTROL METHOD NINTENDO CO., LTD. October 14, 2020
U.S. Pat. No. 11,413,540 U.S. Pat. App. No. 17/021,628 SYSTEM AND METHOD FOR DYNAMICALLY DETERMINING CRAFTING PARAMETERS BASED ON USER USAGE RATE OF A VIRTUAL SPACE Kabam, Inc. September 15, 2020

Disclaimer: Data collected from the USPTO and may be malformed, incomplete, and/or otherwise inaccurate.