Results for the query

Showing matches for "A63F13/00".

260 records found

Figure Patent No. Title Assignee Issue Date
U.S. Pat. No. 10,987,574 U.S. Pat. App. No. 16/736,787 HEAD MOUNTED DISPLAY Sony Interactive Entertainment Inc. January 7, 2020
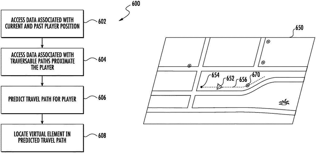
U.S. Pat. No. 11,167,205 U.S. Pat. App. No. 16/661,682 Placement of Virtual Elements in a Virtual World Associated with a Location-Based Parallel Reality Game Niantic, Inc. October 23, 2019
U.S. Pat. No. 11,123,643 U.S. Pat. App. No. 16/577,659 METHOD AND SYSTEM FOR MATCHMAKING CONNECTIONS WITHIN A GAMING SOCIAL NETWORK Zynga Inc September 20, 2019
U.S. Pat. No. 10,802,850 U.S. Pat. App. No. 16/510,315 FACILITATING USER CONFIGURED ASSISTANCE REQUESTS THROUGH A CHAT IN A VIRTUAL SPACE Kabam, Inc. July 12, 2019
U.S. Pat. No. 10,788,949 U.S. Pat. App. No. 16/510,251 FACILITATING AUTOMATIC EXECUTION OF USER INTERACTIONS IN A VIRTUAL SPACE Kabam Inc. July 12, 2019
U.S. Pat. No. 10,974,131 U.S. Pat. App. No. 16/507,583 VIDEO GAME PROCESSING APPARATUS AND VIDEO GAME PROCESSING PROGRAM KABUSHIKI KAISHA SQUARE ENIX July 10, 2019
U.S. Pat. No. 11,052,309 U.S. Pat. App. No. 16/441,976 WIRELESS INTERACTIVE GAME HAVING BOTH PHYSICAL AND VIRTUAL ELEMENTS MQ Gaming, LLC June 14, 2019
U.S. Pat. No. 10,933,329 U.S. Pat. App. No. 16/417,613 ADJUSTING INDIVIDUALIZED CONTENT MADE AVAILABLE TO USERS OF AN ONLINE GAME BASED ON USER GAMEPLAY INFORMATION Kabam, Inc. May 20, 2019
U.S. Pat. No. 10,870,049 U.S. Pat. App. No. 16/412,377 TRANSITIONING GAMEPLAY ON A HEAD-MOUNTED DISPLAY Sony Interactive Entertainment Inc May 14, 2019
U.S. Pat. No. 10,776,496 U.S. Pat. App. No. 16/364,016 Systems and Methods to Control Publication of User Content in a Virtual World Wookey Search Technologies Inc. March 25, 2019

Disclaimer: Data collected from the USPTO and may be malformed, incomplete, and/or otherwise inaccurate.