Results for the query

Showing matches for "A63F2300/5546".

107 records found

Figure Patent No. Title Assignee Issue Date
U.S. Pat. No. 11,524,243 U.S. Pat. App. No. 17/100,077 GAME CONTROL METHOD, GAME SERVER, AND GAME SYSTEM Universal Entertainment Corporation November 20, 2020
U.S. Pat. No. 11,266,912 U.S. Pat. App. No. 16/888,707 Methods and Systems for Processing Disruptive Behavior within Multi-Player Video Game Sony Interactive Entertainment LLC May 30, 2020
U.S. Pat. No. 11,406,907 U.S. Pat. App. No. 16/836,148 PLAYER FEEDBACK TO INCREASE SPECTATORSHIP IN A VIDEO GAME Sony Interactive Entertainment Inc. March 31, 2020
U.S. Pat. No. 11,413,531 U.S. Pat. App. No. 16/808,197 GAME CONSOLE APPLICATION WITH ACTION CARD STRAND Sony Interactive Entertainment Inc. March 3, 2020
U.S. Pat. No. 10,946,281 U.S. Pat. App. No. 16/369,458 USING PLAYSTYLE PATTERNS TO GENERATE VIRTUAL REPRESENTATIONS OF GAME PLAYERS Nvidia Corp March 29, 2019
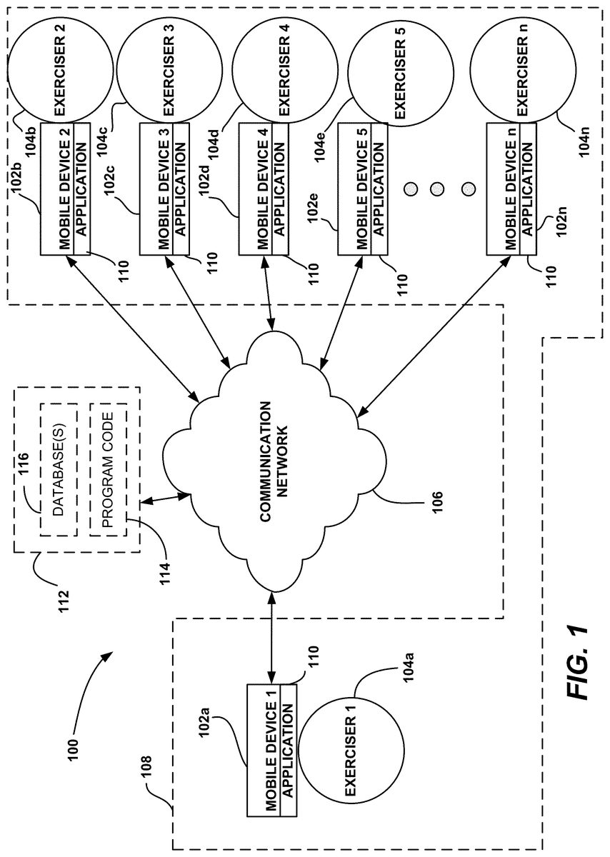
U.S. Pat. No. 10,493,364 U.S. Pat. App. No. 16/181,311 SYSTEMS AND METHODS FOR FITNESS AND VIDEO GAMES Unknown assignee November 5, 2018
U.S. Pat. No. 10,118,100 U.S. Pat. App. No. 15/628,612 SYSTEMS AND METHODS FOR FITNESS AND VIDEO GAMES Unknown assignee June 20, 2017
U.S. Pat. No. 10,029,182 U.S. Pat. App. No. 15/095,741 Method And System For Randomly Altering Information And Content In An Online Game Trivver, Inc. April 11, 2016
U.S. Pat. No. 10,166,481 U.S. Pat. App. No. 14/975,073 METHOD, DEVICE AND SYSTEM FOR SHARING OF GAME CHARACTERS Guangzhou Aijiuyou Information Technology Co., Ltd December 18, 2015
U.S. Pat. No. 9,573,061 U.S. Pat. App. No. 14/973,462 VIDEO GAME WITH AUTOMATIC COMBINATION OR SELLING OF ACQUIRED ITEMS DeNA Co., Ltd. December 17, 2015

Disclaimer: Data collected from the USPTO and may be malformed, incomplete, and/or otherwise inaccurate.