Results for the query

Showing matches for "A63F2300/552".

106 records found

Figure Patent No. Title Assignee Issue Date
U.S. Pat. No. 11,724,183 U.S. Pat. App. No. 17/176,965 System and Method for Streaming Game Video Sony Interactive Entertainment LLC February 16, 2021
U.S. Pat. No. 11,077,370 U.S. Pat. App. No. 17/002,561 METHODS FOR PROVIDING ACCESS TO RECORDINGS OF GAME PLAY AND GENERATION OF CUSTOM CAMERA VIEWS OF THE GAME PLAY Sony Interactive Entertainment LLC August 25, 2020
U.S. Pat. No. 11,358,062 U.S. Pat. App. No. 16/985,717 SYSTEMS AND METHODS FOR PROVIDING RECOMMENDATIONS TO IMPROVE GAMEPLAY Adeia Guides Inc August 5, 2020
U.S. Pat. No. 11,331,582 U.S. Pat. App. No. 16/920,567 FACILITATING EVENT IMPLEMENTATION IN AN ONLINE GAME Kabam, Inc. July 3, 2020
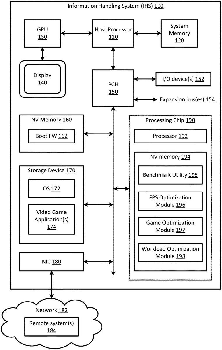
U.S. Pat. No. 11,413,542 U.S. Pat. App. No. 16/862,328 Systems And Methods For Measuring And Optimizing The Visual Quality Of A Video Game Application Dell Products L.P. April 29, 2020
U.S. Pat. No. 11,565,185 U.S. Pat. App. No. 16/835,907 Method and System for Automatic and Interactive Model Training using Domain Knowledge in Video Games ELECTRONIC ARTS INC. March 31, 2020
U.S. Pat. No. 11,541,308 U.S. Pat. App. No. 16/812,187 METHODS FOR COMPRESSING VIDEO FOR STREAMING VIDEO GAME CONTENT TO REMOTE CLIENTS Sony Interactive Entertainment LLC March 6, 2020
U.S. Pat. No. 11,077,363 U.S. Pat. App. No. 16/811,519 Video Game Overlay Sony Interactive Entertainment LLC March 6, 2020
U.S. Pat. No. 11,590,419 U.S. Pat. App. No. 16/693,898 Web-Based Game Controller Sony Interactive Entertainment LLC November 25, 2019
U.S. Pat. No. 11,014,007 U.S. Pat. App. No. 16/584,509 METHODS AND SYSTEMS FOR VIDEO GAME STREAMING TRANSACTION SUPPORT Activision Publishing, Inc. September 26, 2019

Disclaimer: Data collected from the USPTO and may be malformed, incomplete, and/or otherwise inaccurate.