Results for the query

Showing matches for "A63F13/424".

54 records found

Figure Patent No. Title Assignee Issue Date
U.S. Pat. No. 11,691,076 U.S. Pat. App. No. 16/989,171 COMMUNICATION WITH IN-GAME CHARACTERS Unknown assignee August 10, 2020
U.S. Pat. No. 11,465,056 U.S. Pat. App. No. 16/843,836 GAME MEDIATION COMPONENT FOR ENRICHING MULTIPLAYER GAMING SESSIONS Bunch Live Inc April 8, 2020
U.S. Pat. No. 12,208,327 U.S. Pat. App. No. 16/688,091 METHOD AND SYSTEM FOR GENERATING A RECORDING OF VIDEO GAME GAMEPLAY Sony Interactive Entertainment Inc. November 19, 2019
U.S. Pat. No. 11,000,767 U.S. Pat. App. No. 16/600,675 Dynamic Adjustment of Game Controller Sensitivity Based on Audio Analysis VOYETRA TURTLE BEACH, INC. October 14, 2019
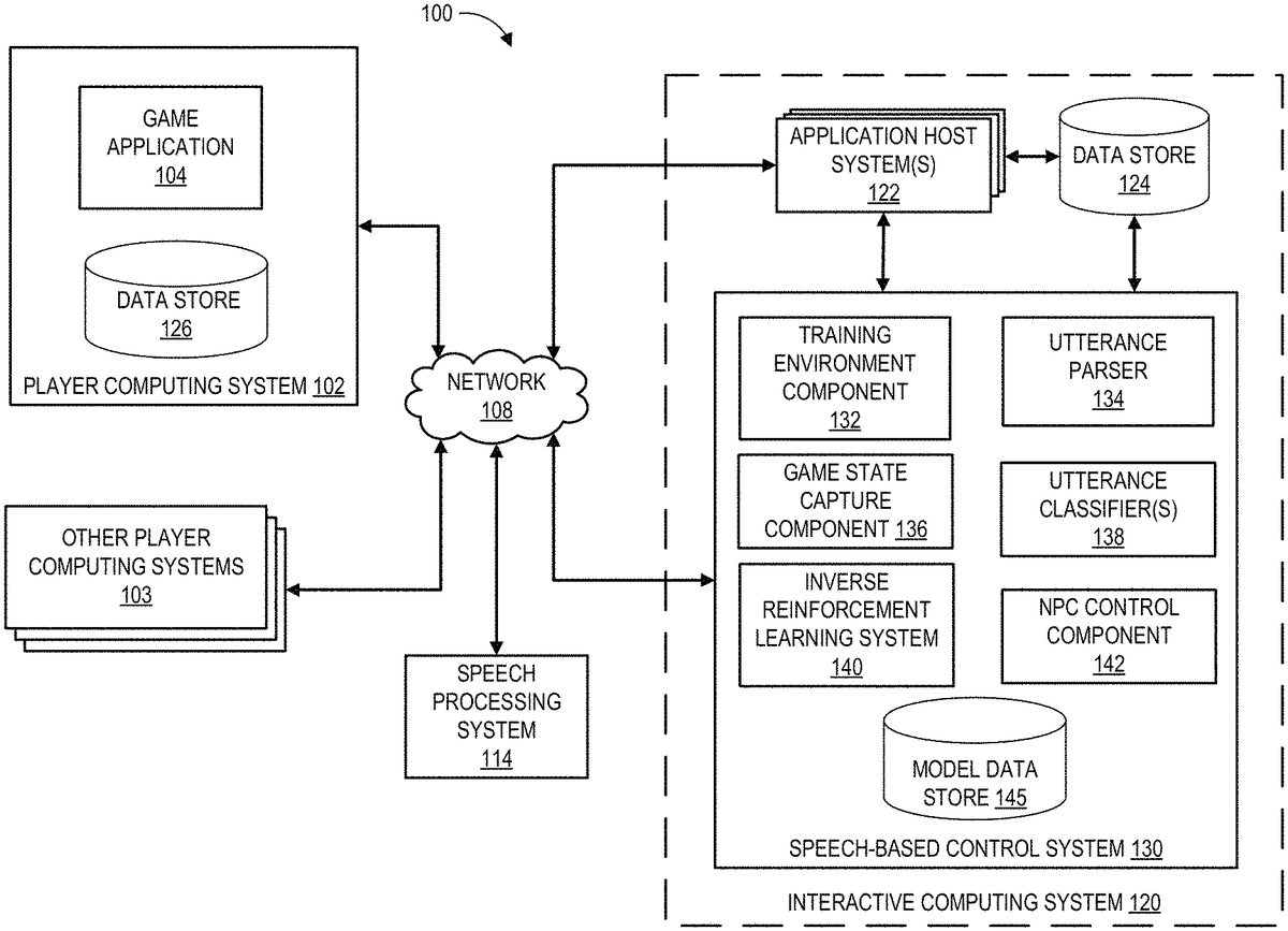
U.S. Pat. No. 11,077,361 U.S. Pat. App. No. 16/587,835 INTERACTIVE VOICE-CONTROLLED COMPANION APPLICATION FOR A VIDEO GAME Electronic Arts Inc. September 30, 2019
U.S. Pat. No. 11,446,579 U.S. Pat. App. No. 16/543,104 SYSTEM, SERVER AND METHOD FOR CONTROLLING GAME CHARACTER NCSOFT Corporation August 16, 2019
U.S. Pat. No. 11,344,807 U.S. Pat. App. No. 16/534,581 ELECTRONIC GAME MOMENT IDENTIFICATION Lenovo Switzerland International GmbH August 7, 2019
U.S. Pat. No. 10,987,597 U.S. Pat. App. No. 16/455,563 System and Method for Managing Audio and Video Channels for Video Game Players and Spectators Sony Interactive Entertainment LLC June 27, 2019
U.S. Pat. No. 10,926,173 U.S. Pat. App. No. 16/436,811 CUSTOM VOICE CONTROL OF VIDEO GAME CHARACTER Electronic Arts Inc. June 10, 2019
U.S. Pat. No. 11,318,372 U.S. Pat. App. No. 16/420,815 GAME PROCESSING PROGRAM, GAME PROCESSING METHOD, AND GAME PROCESSING DEVICE GREE Holdings Inc May 23, 2019

Disclaimer: Data collected from the USPTO and may be malformed, incomplete, and/or otherwise inaccurate.