Results for the query

Showing matches for "SONY INTERACTIVE ENTERTAINMENT LLC".

192 records found

Figure Patent No. Title Assignee Issue Date
U.S. Pat. No. 10,004,989 U.S. Pat. App. No. 15/607,129 METHODS AND APPARATUS FOR HIDING LATENCY IN NETWORK MULTIPLAYER GAMES Sony Interactive Entertainment LLC May 26, 2017
U.S. Pat. No. 11,351,468 U.S. Pat. App. No. 15/476,110 GENERATING CHALLENGES USING A LOCATION BASED GAME PLAY COMPANION APPLICATION Sony Interactive Entertainment LLC March 31, 2017
U.S. Pat. No. 11,278,807 U.S. Pat. App. No. 15/476,597 GAME PLAY COMPANION APPLICATION Sony Interactive Entertainment LLC March 31, 2017
U.S. Pat. No. 11,045,737 U.S. Pat. App. No. 15/474,331 IN-GAME LOCATION BASED GAME PLAY COMPANION APPLICATION Sony Interactive Entertainment LLC March 30, 2017
U.S. Pat. No. 10,981,061 U.S. Pat. App. No. 15/474,395 METHOD AND SYSTEM FOR DIRECTING USER ATTENTION TO A LOCATION BASED GAME PLAY COMPANION APPLICATION Sony Interactive Entertainment LLC March 30, 2017
U.S. Pat. No. 10,512,846 U.S. Pat. App. No. 15/452,443 EMULATING PLAYER BEHAVIOR AFTER PLAYER DEPARTURE Sony Interactive Entertainment LLC March 7, 2017
U.S. Pat. No. 10,471,360 U.S. Pat. App. No. 15/450,602 USER-DRIVEN SPECTATOR CHANNEL FOR LIVE GAME PLAY IN MULTI-PLAYER GAMES SONY INTERACTIVE ENTERTAINMENT LLC March 6, 2017
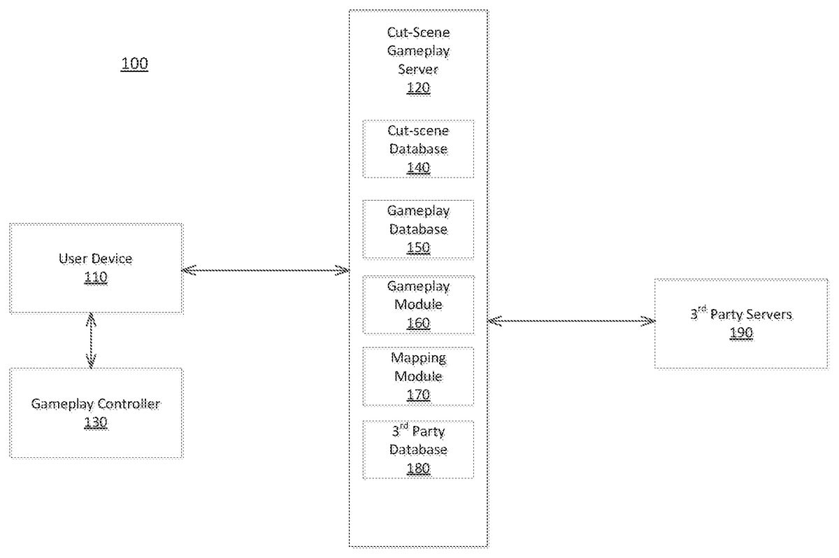
U.S. Pat. No. 10,279,260 U.S. Pat. App. No. 15/450,995 CUT-SCENE GAMEPLAY SONY INTERACTIVE ENTERTAINMENT LLC March 6, 2017
U.S. Pat. No. 10,625,156 U.S. Pat. App. No. 15/444,109 METHOD AND SYSTEM FOR SHARING VIDEO GAME CONTENT Sony Interactive Entertainment LLC February 27, 2017
U.S. Pat. No. 11,794,108 U.S. Pat. App. No. 15/411,421 METHOD AND SYSTEM FOR SAVING A SNAPSHOT OF GAME PLAY AND USED TO BEGIN LATER EXECUTION OF THE GAME PLAY BY ANY USER AS EXECUTED ON A GAME CLOUD SYSTEM Sony Interactive Entertainment LLC January 20, 2017

Disclaimer: Data collected from the USPTO and may be malformed, incomplete, and/or otherwise inaccurate.