Results for the query

Showing matches for "A63F13/10".

344 records found

Figure Patent No. Title Assignee Issue Date
U.S. Pat. No. 8,814,675 U.S. Pat. App. No. 13/569,174 METHOD OF OPERATING AN ONLINE GAME USING TERRAFORMED GAME SPACES Zynga Inc. August 7, 2012
U.S. Pat. No. 10,322,347 U.S. Pat. App. No. 13/548,791 SYSTEM AND METHOD FOR DYNAMICALY LOADING GAME SOFTWARE FOR SMOOTH GAME PLAY SONY INTERACTIVE ENTERTAINMENT AMERICA LLC July 13, 2012
U.S. Pat. No. 9,606,724 U.S. Pat. App. No. 13/543,685 Display Grid for Video Game Input Sixense Entertainment, Inc. July 6, 2012
U.S. Pat. No. 9,616,329 U.S. Pat. App. No. 13/535,445 ADAPTIVE LEARNING SYSTEM FOR VIDEO GAME ENHANCEMENT Electronic Arts Inc. June 28, 2012
U.S. Pat. No. 8,708,790 U.S. Pat. App. No. 13/532,774 METHOD OF OPERATING AN ONLINE GAME USING CONSOLIDATED GAME OBJECTS Zynga Inc. June 25, 2012
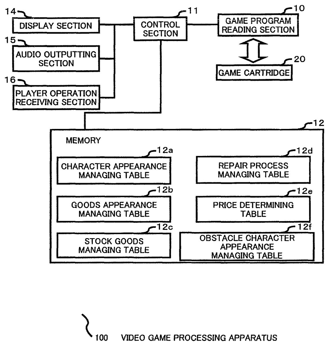
U.S. Pat. No. 9,345,964 U.S. Pat. App. No. 13/483,518 VIDEO GAME PROCESSING APPARATUS AND VIDEO GAME PROCESSING PROGRAM KABUSHIKI KAISHA SQUARE ENIX (ALSO TRADING AS SQUARE ENIX CO., LTD.) May 30, 2012
U.S. Pat. No. 8,540,573 U.S. Pat. App. No. 13/476,740 GAME OBJECT CONTROL USING POINTING INPUTS TO ROTATE A DISPLAYED VIRTUAL OBJECT CONTROL DEVICE Nintendo Co Ltd May 21, 2012
U.S. Pat. No. 8,727,845 U.S. Pat. App. No. 13/466,787 ATTRIBUTE-DRIVEN GAMEPLAY Sony Interactive Entertainment LLC May 8, 2012
U.S. Pat. No. 8,795,090 U.S. Pat. App. No. 13/439,770 HAND-HELD VIDEO GAME PLATFORM EMULATION Nintendo Co., Ltd. April 4, 2012
U.S. Pat. No. 8,734,249 U.S. Pat. App. No. 13/301,326 VIDEO GAME PROCESSING APPARATUS, METHOD AND COMPUTER PROGRAM PRODUCT FOR CONTROLLING PROGRESS OF A VIDEO GAME Kabushiki Kaisha Square Enix November 21, 2011

Disclaimer: Data collected from the USPTO and may be malformed, incomplete, and/or otherwise inaccurate.