U.S. Pat. No. 7,090,582
USE OF MULTIPLE PLAYER REAL-TIME VOICE COMMUNICATIONS ON A GAMING DEVICE
AssigneeMicrosoft Corporation
Issue DateApril 3, 2003
U.S. Patent No. 7,090,582: Use of multiple player real-time voice communications on a gaming device
Summary:
The ‘582 patent provides a way for players, during online gaming, to communicate with other players. The invention establishes a system where players can select an opposing player or teammate with which to communicate. The player can then send a personal message to the other player and enter into a private chat. This allows the two players to communicate solely with each other and not be overheard by the other players. This invention also cuts down on the nuisance of the other players since the player can easily block any player who is offensive or disrespectful toward the player.
Abstract:
A game console capable of communicating with other game consoles over a link or network is provided with a headphone and microphone for each player who will engage in voice communication. Verbal communications directed to one or more other players are converted to pulse code modulated (PCM) digital data and are encoded and compressed in real-time, producing data packets that are transmitted to another game console. The compressed data packets are decompressed and decoded, producing PCM data that are converted to an analog signal that drives a headphone of the intended recipient. Players can selectively mute voice communications to and from a specific other player. The PCM data can be encoded in a round-robin fashion that reduces the number of encoders required. A predefined level of computing resources is used for voice communication to avoid aversely affecting the quality of game play.
Illustrative Claim:
1. A method for encoding a plurality of audio channels during play of an electronic game, using at least one encoder, but fewer encoders than audio channels to be encoded, each encoder encoding audio signals in an active audio channel and producing corresponding data packets for transmission to at least one recipient participating in the play of the electronic game, comprising the steps of: (a) creating a round robin history of the audio channels that have been encoded by the encoders during successive processing intervals; (b) if more than one audio channel per encoder are simultaneously active, selecting an audio channel to encode with each encoder based upon the round robin history and on the audio channels that are then active, so that an audio channel that is active will be skipped and not encoded more frequently than every other processing interval; and (c) updating the round robin history for each processing interval to indicate each audio channel that was encoded during the processing interval.
Illustrative Figure
Abstract
A game console capable of communicating with other game consoles over a link or network is provided with a headphone and microphone for each player who will engage in voice communication. Verbal communications directed to one or more other players are converted to pulse code modulated (PCM) digital data and are encoded and compressed in real-time, producing data packets that are transmitted to another game console. The compressed data packets are decompressed and decoded, producing PCM data that are converted to an analog signal that drives a headphone of the intended recipient. Players can selectively mute voice communications to and from a specific other player. The PCM data can be encoded in a round-robin fashion that reduces the number of encoders required. A predefined level of computing resources is used for voice communication to avoid aversely affecting the quality of game play.
Description
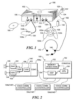
DESCRIPTION OF THE PREFERRED EMBODIMENT Exemplary Gaming System for Practicing the Present Invention As shown inFIG. 1, an exemplary electronic gaming system100includes a game console102and support for up to four user input devices, such as controllers104aand104b. Game console102is equipped with an internal hard disk drive (not shown in this Figure) and a portable media drive106that supports various forms of portable optical storage media, as represented by an optical storage disc108. Examples of suitable portable storage media include DVD discs and compact disk-read only memory (CD-ROM) discs. In this gaming system, game programs are preferably distributed for use with the game console on DVD discs, but it is also contemplated that other storage media might instead be used, or that games and other programs can be downloaded over the Internet or other network. On a front face of game console102are four connectors110that are provided for electrically connecting to the controllers. It is contemplated that other types of connectors or wireless connections might alternatively be employed. A power button112and a disc tray eject button114are also positioned on the front face of game console102. Power button112controls application of electrical power to the game console, and eject button114alternately opens and closes a tray (not shown) of portable media drive106to enable insertion and extraction of storage disc108so that the digital data on it can be read and loaded into memory or stored on the hard drive for use by the game console. Game console102connects to a television or other display monitor or screen (not shown) via audio/visual (A/V) interface cables120. A power cable plug122conveys electrical power to the game console when connected to a conventional alternating current line source (not shown). Game console102may be further provided with a data connector124to transfer data through an Ethernet connection to a network and/or the Internet, or through a ...
DESCRIPTION OF THE PREFERRED EMBODIMENT
Exemplary Gaming System for Practicing the Present Invention
As shown inFIG. 1, an exemplary electronic gaming system100includes a game console102and support for up to four user input devices, such as controllers104aand104b. Game console102is equipped with an internal hard disk drive (not shown in this Figure) and a portable media drive106that supports various forms of portable optical storage media, as represented by an optical storage disc108. Examples of suitable portable storage media include DVD discs and compact disk-read only memory (CD-ROM) discs. In this gaming system, game programs are preferably distributed for use with the game console on DVD discs, but it is also contemplated that other storage media might instead be used, or that games and other programs can be downloaded over the Internet or other network.
On a front face of game console102are four connectors110that are provided for electrically connecting to the controllers. It is contemplated that other types of connectors or wireless connections might alternatively be employed. A power button112and a disc tray eject button114are also positioned on the front face of game console102. Power button112controls application of electrical power to the game console, and eject button114alternately opens and closes a tray (not shown) of portable media drive106to enable insertion and extraction of storage disc108so that the digital data on it can be read and loaded into memory or stored on the hard drive for use by the game console.
Game console102connects to a television or other display monitor or screen (not shown) via audio/visual (A/V) interface cables120. A power cable plug122conveys electrical power to the game console when connected to a conventional alternating current line source (not shown). Game console102may be further provided with a data connector124to transfer data through an Ethernet connection to a network and/or the Internet, or through a broadband connection. Alternatively, it is contemplated that a modem (not shown) may be employed to transfer data to a network and/or the Internet. As yet a further alternative, the game console can be directly linked to another game console via an Ethernet cross-over cable (not shown).
Each controller104aand104bis coupled to game console102via a lead (or in another contemplated embodiment, alternatively, through a wireless interface). In the illustrated implementation, the controllers are Universal Serial Bus (USB) compatible and are connected to game console102via USB cables130. Game console102may be equipped with any of a wide variety of user devices for interacting with and controlling the game software. As illustrated inFIG. 1, each controller104aand104bis equipped with two thumb sticks132aand132b, a D-pad134, buttons136, and two triggers138. These controllers are merely representative, and other gaming input and control mechanisms may be substituted for or used in addition to those shown inFIG. 1, for controlling game console102.
Removable function units or modules can optionally be inserted into controllers104to provide additional functionality. For example, a portable memory unit (not shown) enables users to store game parameters and port them for play on another game console by inserting the portable memory unit into a controller on the other console. Other removable function units are available for use with the controller. In connection with the present invention, a removable function unit comprising a voice communicator module140is employed to enable a user to verbally communicate with other users locally and/or over a network. Connected to voice communicator module140is a headset142, which preferably includes a boom microphone144or other type of audio sensor that produces an input signal in response to incident sound, and an headphone146or other type of audio transducer for producing audible sound in response to an output signal from the game console. In another embodiment that is being contemplated (not shown), the voice communicator capability is included as an integral part of a controller (not shown) that is generally like controllers104aand104bin other respects. The controllers illustrated inFIG. 1are configured to accommodate two removable function units or modules, although more or fewer than two modules may instead be employed.
Gaming system100is of course capable of playing games, but can also play music, and videos on CDs and DVDs. It is contemplated that other functions can be implemented by the game controller using digital data stored on the hard disk drive or read from optical storage disc108in drive106, or from an online source, or from a function unit or module.
Functional Components for Practicing the Present Invention
Turning now toFIG. 2, a functional block diagram illustrates, in an exemplary manner, how components are provided to facilitate voice or verbal communication between players during the play of electronic games on the multiplayer game console. As noted above, this embodiment of game console100can have up to four players on each console, and each player can be provided with a controller and voice communicator. Details of a voice communicator module140′ are illustrated in connection with its associated controller104a. It will be understood that controllers104b,104c, and104d(if coupled to game console100) can optionally each include a corresponding voice communication module140′ like that coupled to controller104a. In a current preferred embodiment, voice communication module140′ includes a digital signal processor (DSP)156, an analog-to-digital converter (ADC)158, a digital-to-analog converter (DAC)161, and a universal serial bus (USB) interface163. In response to sound in the environment that is incident upon it, microphone144produces an analog output signal that is input to ADC158, which converts the analog signal into a corresponding digital signal. The digital signal from ADC158is input to DSP156for further processing, and the output of the DSP is applied to. USB interface163for connection into controller104a. In this embodiment, voice communication module140′ connects into the functional unit or module port on controller104athrough a USB connection (not separately shown). Similarly, digital sound data coming from game console100are conveyed through controller104aand applied to USB interface163, which conveys the digital signal to DSP156and onto DAC161. DAC161converts the digital signal into a corresponding analog signal that is used to drive headphone146.
With reference to multiplayer game console100, several key functional components are shown, although it should be understood that other functional components relevant to the present invention are also included, but not shown. Specifically, game console100includes a central processing unit (CPU)150, a memory152that includes both read only memory (ROM) and random access memory (RAM). Also provided is a DSP154. The digital signal produced by ADC158in response to the analog signal from microphone144is conveyed through controller104ato CPU150, which handles encoding of the voice stream signal for transmission to other local voice communication modules and to other game consoles over a broadband connection through an Ethernet port (not shown inFIG. 2) on the game console.
An alternative embodiment employs DSP156in voice communication module140′ to encode the digital signal produced by ADC158in response to the analog signal from microphone144. The encoded data are then conveyed through controller104ato CPU150, which again handles transmission of the encoded data to other local voice communication modules and other game consoles over the broadband connection on the game console.
It should be noted that multiplayer game console100can be either directly connected to another game console using a crossover Ethernet cable as a link, or can be connected to one or more other multiplayer game consoles through a more conventional network using a hub, switch, or other similar device, and/or can be connected to the Internet or other network through an appropriate cable modem, digital subscriber line (DSL) connection, or other appropriate interface broadband connection. An alternative embodiment is also contemplated in which multiplayer game console100is connected to the Internet or other network through a modem (not shown). Digital signals conveyed as packets over a direct or network connection are input to CPU150through the Ethernet port on game console100(or from other voice communication modules and controllers connected to the same game console), and are processed by the CPU to decode data packets to recover digital sound data that is applied to DSP154for output mixing. The signal from DSP154is conveyed to the intended voice communication module for the player who is the recipient of the voice communication for input through USB interface163.
An alternative embodiment employs the CPU to convey the encoded data packets to intended voice communication module140′ through controller104a. The encoded data packets are then decoded by DSP156in voice communication module140′, and the resulting decoded signal is conveyed to DAC161, which creates a corresponding analog signal to drive headphone146.
In still another contemplated alternative, the headphone and microphone for each player can be coupled directly to the game console and the functions of the voice communication module can be carried out by the CPU or other processor such as a DSP, and appropriate DAC and ADC modules in the game console. The location of the components that process sound signals to produce sound data conveyed between players and to produce the analog signals that drive the headphone of each player is thus not critical to the present invention.
CPU150also applies voice effects to alter the characteristics of the sound of a player speaking into microphone144and is able to change the character of the sound with a selection of different effects. For example, a female player can choose a voice effect to cause her voice to sound like the deep-tone voice of a male, or so that the voice has an elfin quality, or so that it has one of several other desired different tonal and pitch characteristics. Available voice effects from which a player can choose are game dependent. Such voice effects can substantially alter the sound of the player's voice so that the player is virtually unrecognizable, and can add drama or greater realism to a character in a game being controlled by a player, when the character appears to speak to other characters in the game. The voice effects thus facilitate role playing and mask the player's true identity. Even when players connected to the same game console100are directly audible to each other because they are only a few feet apart in the room in which the game console is disposed, the change in a player's voice due to voice effects being applied so alters the sound heard by other players receiving the verbal communication through their headphones that the local sound of a player's voice propagating within the room to the players can easily be ignored.
While not actually a limitation in the present invention, a current preferred embodiment of the game console100is designed with the expectation that a maximum of up to 16 players can engage in verbal communication during a game being played over a network or over the Internet through an online game service. Clearly, there is a practical limit to the number of verbal communications from other players with which a player might expect to engage at one time. Accordingly, it was assumed that a player is unable to comprehend verbal communications from more than four other players speaking simultaneously.
Game Play Scenarios
There are different appropriate scenarios, depending upon the type of game and the number of players engaged in a given game that affect the requirements for encoding and decoding voice communication signals. For example, there are three primary scenarios that impact on the requirements for voice communication. The first scenario is referred to as “point-to-point” and includes one player on each of two interconnected game consoles, where each player is engaged in voice communication with the other player. In the second scenario, which is referred to as “multipoint,” there is again only one player who is engaged in voice communication on each game console, but up to 16 game consoles are interconnected over a network for play of a game, in which up to 16 players are participating. The third scenario is referred to as “multiplayer on game console,” since up to four players per game console and up to four game consoles can be interconnected over a network to enable up to 16 players to simultaneously play a game and verbally communicate. In regard to the last scenario, two or more players on a single game console can also use voice communication during a game although they are physically located within the same room, since the benefits of the voice changes produced by use of the voice effects option can enhance the enjoyment of the game and role playing by each player, as noted above. Further, the limits of the total number of game consoles/player referenced above in each of the three scenarios can be thought of as soft limits, since there is no inherent hardware limitation precluding additional players or game consoles participating.
By designing games in accord with one or more of these three scenarios, it is possible for the software designer to set a maximum predefined limit on the computing resources that will be allocated to voice communication, to avoid voice communication from adversely impacting the quality of game play. Also, a specific game that is played on the multiplayer game console can have its own requirements so that it is appropriate for play by only a certain number of players. The nature of the game will then dictate limitations on the number of verbal communication channels required. For example, a game such as chess will normally be played using the point-to-point scenario, because chess typically involves only two players. The voice communication functionality enables the two players to talk to each other while playing a chess game. For this point-to-point scenario, each game console would need to instantiate only one encoder and one decoder, since more encoders and decoders are not required. During each voice frame update, the CPU on a game console will update any encoding and decoding as necessary. Using a predefined encode CPU usage limit of 1.5 percent and a decode CPU usage limit of 0.5 percent in the point-to-point scenario, the total requirement for CPU usage would be only about 2.0 percent.
As shown in the functional block diagram ofFIG. 4, a game console102is coupled in voice communication with a game console172. Microphone144responds to the voice of the player using console102, and the voice communication module connected to the microphone produces pulse code modulated (PCM) data that are input to a single stream encoder160. In response to the PCM data, the encoder produces compressed data packets that are then transmitted over a network170to which game console172is connected.
Alternatively, signal stream encoding can be carried out by the DSP of voice communication module. In this embodiment, microphone144responds to the voice of the player using game console102, and DSP156is connected to ADC158and produces the compressed data packets that are then sent to game console102for transmission over network170to game console172.
The compressed data from game console102are input to a network queue174in game console102. The purpose of using a network queue to receive sound packet compressed data from console102is to remove jitter and other timing anomalies that occur when data are sent over network170. The output of the single stream decoder is PCM data which are then applied to the DAC in the voice communication module of the player using game console172to produce an analog output that drives a headphone178.
In an alternative embodiment, the compressed data are conveyed from game console102to DSP156in the voice communication module. The DSP decodes the compressed data, converting to a corresponding PCM signal, which is applied to DAC161in the voice communication module of the player using game console172, to produce a corresponding analog output signal used to drive headphone178.
Similarly, for verbal communications from the player using console172, a microphone180converts the sound incident on it into PCM data using the ADC within the communication module to which microphone180is connected, and the PCM data are input to a single stream encoder182, which produces compressed data that are conveyed through network170to a network queue162within game console102. The compressed data from network queue162are input to a single stream decoder168, which produces PCM data that are input to DAC converter in the voice communication module to which headphone146is connected. The DAC produces a corresponding analog sound signal. Thus, headphone146receives the analog sound signal corresponding to the sound of the player connected to console172(with any voice effects added).
In the multipoint scenario, where there is one player on each console, but multiple game consoles participating in a game session, the game designer can determine if all players should be able to verbally communicate with all of the other players playing the game, or if there will be teams comprising subsets of the players, so that only the players in on the same team may talk to each other. For example, if the game being played in multipoint scenario is a card game, there might be four individual players, one each per game console, or there might be two teams of two players each. If there are four separate players, each game console would instantiate one encoder and one four-to-one decoder (as discussed below). During a voice frame update, each console would update any encoding necessary for transmitting speech by the single player using the game console, and decoding of speech data from any of the (up to) three other players on the other game consoles participating in the game. For this scenario, using a predefined encode limit for CPU usage of 1.5 percent and a four-to-one decoder limit for CPU usage of about 1.3 percent, the total would be about 2.8 percent CPU usage on any of the four game consoles being used to play the card game.
FIG. 3illustrates how the multipoint scenario is functionally implemented on each game console, but does not show the other game consoles. However, it will be understood that network170couples the other game consoles in communication with the illustrated game console. As noted above, the game console includes a single stream encoder160, which receives the PCM data produced by the ADC in the voice communication module (not shown inFIG. 3) of the player. The PCM data are input into single stream encoder160, producing voice frames of compressed data in packet form for transmission over network170to the other game consoles. Similarly, packets of compressed data are conveyed through network170from the other game consoles to the illustrated game console. Each player participating in the game (or channel) has a network queue on the game console in which the data packets are temporarily stored, to ensure that jitter and other timing problems are minimized when the packets of compressed data are selected by a selection engine164for mixing by a mixer166and decoding by decoder168. Decoder168produces PCM data that are supplied to the DAC, which produces the analog signal that drives headphone146.
In an alternative embodiment, selection engine164conveys the two selected compressed data streams to DSP156of the voice communication module (shown inFIG. 2) for mixing and decompression. DSP156produces a corresponding PCM signal that is supplied to the DAC in the voice communication module, which in turn, produces the corresponding analog signal that drives headphone146.
As indicated inFIG. 3, network queues162a,162b, and162care respectively provided for each of the other players—up through N players.
In the multipoint scenario discussed above, there are only three network queues, since there are only three other players engaged in the card game. Since mixer166only combines two inputs at a time, decoder168only can provide simultaneous PCM data for two players at a time to the player wearing headphone146. In contrast, an alternative is also shown in which a decoder168′ includes a mixer166′ that combines four data packets from a selection engine164′ at a time, to produce the output provided to headphone146. In this alternative, the player is provided up to four other voice data packets simultaneously.
Alternatively, selection engine164can be employed to convey four selected compressed data streams to DSP156in the voice communication module of an intended recipient. DSP156again produces a corresponding PCM signal that is supplied to the DAC in the voice communication module, producing the corresponding analog signal to drive headphone146.
Functional details for the “multiplayer on game console” scenario are illustrated inFIG. 5where game console102is connected to network170through a network layer206and thus to a game console210, having players216aand216b, to a game console212having a single player218, and to a game console214having four players220a,220b,220c, and220d. Game console102has players200a,200b,200c, and200dconnected thereto, and each player is provided with a game controller having a voice communication module. For this scenario, all of the players on each of consoles210,212, and214have voice communications that are encoded to produce single streams of compressed data packets. Network layer206in game console102conveys the data packets from each of the three other game consoles into three separate network queues, including a network queue162for second game console210, a network queue184for third game console212, and a network queue186for fourth game console214. The output from the three network queues in game console102is input to decoder168, and its output is applied to an output router188that determines the specific headphone that receives voice communications190athrough190d.
An alternative embodiment employs output router188to bypass decoder168and pulls compressed data packets directly from network queues162,184, and186. Output router188conveys the compressed data to the DSP in the voice communication module of the intended recipient, so that the headphone of that player receives voice communications190athrough190d.
Accordingly, each of players200athrough200dreceives only the voice communications intended for that player. Similarly, each of the four players on game console102has a sound input from their corresponding microphones202a,202b,202c, and202dsupplied to an input router204, which selectively applies the PCM data streams to encoder160, which has an output coupled to network layer206. The network layer ensures that the compressed data packets conveying sound data are transported over network170to the appropriate one of game consoles210,212, and214. The output router in each game console with multiple players determines the player(s) who will receive the voice communication from a player using game console102.
Another embodiment bypasses input router204and encoder160by encoding the compressed data using the DSP in the voice communication module of the player who is speaking.
Prioritization/Round Robin Technique for Encoding
FIG. 6illustrates functional aspects regarding prioritization on a game console handling voice communication by up to four players who are using the game console to play a game. During each voice interval, only two of four encoder instances are active, so that there are fewer encoders than there are players having voice communication capability, on the game console. Thus, although there are four microphone211a,211b,211c, and211d, the digital PCM data from the ADCs in the voice communication modules respectively connected to the microphones are not all encoded at the same time. Each stream of PCM data is applied to a voice activation detection algorithm, as indicated in blocks213a,213b,213c, and213d. This algorithm determines when a player is speaking into the microphone and producing PCM data that should be encoded for transmission to one or more other players in a game. In the worse case scenario, all four players might be speaking at the same time so that the voice activation detection algorithm would indicate that PCM data from all four microphones connected to the game console need to be encoded. However, since only two voice streams can be encoded at one time in this preferred embodiment, a prioritizing algorithm in a block215determines or selects the streams of PCM data that are input to the two parallel encoders160′. These encoders produce compressed data in packetized frames that are conveyed over the network (assuming that the game console is connected to one or more other game consoles over a link or network). In the example shown inFIG. 6, the prioritizing algorithm has selected two streams of PCM data, including PCM data217cand217d, as having the highest priority for encoding in the current frame for output over the network. In contrast, PCM data in streams217aand217bare marked as not having a voice input, but will have the highest priority for encoding in the next frame of compressed data if they then include voice data.
A round-robin encoding method is used to enable two parallel encoders to encode voice communications from four players, so that fewer encoders are required on the game console than the total number of players that may be speaking during any given voice data frame.FIG. 12provides details concerning the logical steps that are implemented to enable round-robin encoding of a voice frame, beginning with a start block380. In a step382, an array of the four PCM packets (one for each player) is assembled. In the case where a player does not have a voice communicator, a PCM silence packet is inserted into the array. A decision step384determines if the logic is carrying out a first loop for the current voice frame. If so, a step386provides for preparing priorities in an array using the variable priority (i) where i can have the values 0, 1, 2, or 3. Thereafter, the logic proceeds with a step390.
If the logic is not making a first loop for the current voice frame, it proceeds to a step388, wherein the logic uses the priorities array that was generated in a previous loop for the current voice frame. Thereafter, the logic also proceeds to step390. In step390, the detection of voice activation is carried out so that PCM packets are marked to indicate whether they have voice content. The algorithm detects whether the current sound level is substantially greater than an average (background) level, which indicates that a player with a microphone is probably currently speaking into it. Alternatively, the PCM packets can be analyzed to detect voice characteristics, which differ substantially from background noise characteristics. A step392then initializes the variable priorities index as being equal to zero and a variable encodeops as being equal to zero.
A decision step394determines if the priorities index variable is less than four and whether the encodeops variable is less than two. Since decision step394is initially reached immediately after step392in which these two variables have been initialized to zero, both these criteria are met, leading to a step402. In step402, a variable PCM stream index is set equal to the variable priorities with a value i equal to the priorities index variable. In the initial pass for a voice frame, the PCMstream index variable is set equal to priorities [0].
A decision step404then determines if voice has been detected for PCM packet with an index equal to the PCM stream index. Again, with the initial pass through this logic during a voice frame, the decision step determines if a voice was detected for PCMpacket [PCM stream index]. If so, a step406moves the variable priorities [priorities index], which is at the end of the priorities array and shifts all other elements after it one place forward. A step408then sets the variable encodeops equal to its previous value plus one, thereby incrementing the variable. If voice was not detected in decision step404, a step410sets priorities index equal to priorities index plus one, thereby incrementing that variable. Following either step408or step410, the logic proceeds with decision step394.
Once the priorities index variable is equal to four or the encodeops variable is equal to two, the logic proceeds to a step396. In this step, the logic sets the voice detected property for PCM packets [priorities [0]] and PCM packets [priorities [1]] on false. A step398then provides for parallel encoding of PCM packet [priorities [2]] and PCM packet [priorities [3]]. Finally, in a step400, the logic assembles an array of four compressed data packets for transmission over the network for the current voice frame. Based upon this logic, it will be apparent that if all four players are actually speaking, PCM packets will be encoded to form the compressed packets using this round-robin algorithm so that all of the players on a voice console can communicate with other players in the game.
It may be helpful to work through an example in which it is assumed that players one, two, three, and four are all talking at the same time. A history of the last two voices or players that have been encoded is maintained. The logic starts looking at the current microphone packet for player one. If a voice is detected by the algorithm, it is encoded. Next, the same determination is made for player two, i.e., if a voice is present at player two's microphone, it is encoded in the current voice frame. The initial history starts out with the players ordered [1, 2, 3, 4], but at this point, it is updated so that the order is players [3, 4, 1, 2]. The logic loops back, after a predefined microphone encoding interval, to process the audio data for the two players that were not processed the last time. Currently the history list is [3, 4, 1, 2], so a check is made to determine if player three currently has voice input on his microphone, and if so, it is encoded. However, if player three is no longer talking at this time, the logic instead proceeds to player four, who it is assumed is talking. Accordingly, the digital PCM voice packet for player four is encoded and the history is updated to [3, 1, 2, 4]. Next, the logic proceeds to player one, encoding that player's voice, producing a new history [3, 2, 4, 1]. The logic will then start with players three and two. Assuming that player three still is not speaking so that there is no voice at that player's microphone, the logic encodes the digital PCM packets for players two and four, yielding a history list [3, 1, 2, 4].
In one embodiment, for each PCM packet of a player that is skipped and not encoded, the previous packet for that player is attenuated and replayed for the voice frame. In the worst possible state, when all players are talking and there are actually four different players on the game console who are in different teams, every other PCM packet of each player is skipped. Although this approach may have a slight negative impact on the quality of the voice of each player, it is the worst case scenario, and this scenario typically occurs infrequently during game play.
It should be noted that PCM packets of a player that are skipped and thus must be filled in by repeating the previous packet are not transmitted over the network. Instead, the repeated PCM packet is handled by the receiving game console used by the intended recipient of the packet. Accordingly, at most, two packets are sent from a game console during any one voice frame, instead of the maximum of four. The queue buffers the previous packet and provides it to replace a skipped packet. Alternatively, a skipped packet will not be put into the queue by the receiving game console, but instead, a notification indicating that the packet was skipped by the game console that made the transmission will be inserted into the network queue of the receiving game console, for that channel.
The round-robin encoding technique only operates on two frames of speech at a time and repeats the other frames of those streams that are not currently encoded. As noted above, this can result in degradation of sound when all four players on a game console are speaking, but the technique avoids using additional CPU resources to separately encode the voices of all four players, which might have a negative impact on game play.
In an alternative embodiment, one encoder per player is allocated for encoding speech. However, this embodiment is less desirable, because it requires twice the computational resources as the embodiment discussed above.
Voice Communication over Link/Network
FIG. 10illustrates the general steps applied for enabling voice communications over a link or network. Initially, a game is started in a step330. Next, a decision step332determines if the player is stopped from communicating by voice with other players. This state may result because of the player being banned or suspended from voice communication by the online game service due to violations of a code of conduct or other service policies. Another reason voice may be blocked is due to a determination by an authorized person such as a parent that a minor child should not be permitted to engage in voice communications with other players during a game. This option is available and can be set using options provided on the game console for specific player accounts. Once set, the data are stored on the online game service, and blockage of voice communication is enforced each time the player connects to the service. If the current player's voice communication is blocked, a step334determines that the game console need not process voice communications and instead, proceeds to a next speaker, in a step336. Assuming that the next speaker is not precluded from having voice communication by a setting on the game console, the logic advances to a step338, which gets the PCM data from the ADC in the voice communication module for that player. Next, the logic compresses the PCM speech data into compressed data in a step340. A step342applies any assigned voice effects when compressing the current player's PCM speech data to alter the characteristics of the player's voice. In a step344, the compressed data are transmitted over a network346to an intended receiving game console to reach the intended recipients that have a voice communication module. A step348provides for processing the next speaker on the game console that is transmitting compressed data, thereby returning to decision step332.
On the game console that has received the voice communication over network346, a step352provides for adding the compressed data to a network queue of such data. Next, in a step354, the game console decompresses the compressed data pulled from the queue, producing corresponding PCM data. A step356provides for adding any optional environmental effects. Such effects are generally determined by options provided in a game being played on the game console. For example, an environmental effect might include adding an echo, or introducing a reverberation if the environment of the game is within a cavern, or the environmental effect might involve providing a frequency band equalization, e.g., by adding a bass boost for play of the audio data on small speakers. Next, a step358mixes voice streams received from a plurality of different players into one output voice stream that will be provided to an intended recipient player. The output voice stream is conveyed as PCM data to the DAC associated with the headphone of the intended recipient player in a step360, which produces a corresponding analog signal to drive the headphone. The player thus hears the voice communication from each of the players that were decoded and mixed into the output voice steam.
Muted Voice Communication between Players
Another situation arises whenever a specific player has been muted from voice communication by another player. Once a player has thus been muted, the specific muted player will be unable to either hear or speak with the muting player. The muting player must explicitly unmute the muted player to restore voice communication.
Handling of Network Data Packets
FIG. 11illustrates further details in regard to the receipt of voice communication data as packets over network346. As indicated in block351aand351b, compressed data are received over the network from N other game consoles. Each channel of the compressed data is initially input into one of N queues351a–351b, where a separate queue is provided for each player on a connected game console (one or more players on each game console). A block364then synchronizes the N queues that have been formed to receive the compressed data. In this step, the encoded and compressed compressed packets are obtained from all of the queues for a current voice frame. A selection engine366then determines the compressed packets that should be assembled for input to the decoding engine in a block368. The decoding engine decompresses and decodes the compressed data, converting the data into PCM data that are then applied to each of the connected voice peripheral communications modules370through372to enable the players respectively using those voice communication modules to hear the sound that was transmitted over the network to them.
Details relating to the processing of encoded packets that are received from each queue are shown inFIG. 7. In a block221, the CPU checks each queue to obtain an encoded compressed packet or the queue notifies the client CPU that it does not have a packet from a player, but that a packet for that player should have been in the queue. In this case, the CPU determines if the previous packet obtained for that player from the queue was in fact a valid encoded packet and if so, the CPU copies the previous packet for that player so it can be provided for further processing in the next block. However, if the previous packet for that player was also missing, the CPU does an attenuation on previous packets for that player. The purpose of this step is to minimize the perception of silence caused by a missing packet resulting from skipping packets during round-robin encoding and from dropped packets due to network conditions.
Next, in a block222, the packets that have been obtained in block221are ordered, and all silent packets in the order are eliminated. The result is a subset of the packets originally provided in the queues. Due to the processing noted above, all packets in the subset will contain valid voice data.
Next, a block224provides for applying channel masks to the voice data. Each player is associated with a channel, and all players on a particular channel are able to communicate by voice with each other. For example, one channel may be used for voice communication between a player who is designated as a team leader and team members, enabling that player to communicate with all members of the team. In addition, the team leader may also be able to select another channel for verbal communication with another player designated as a commander, who is able to communicate with a plurality of team leaders, or yet another channel to enable the team leader to communicate only with the other team leaders. In this implementation, each player who is talking is given a 16-bit word that defines the “talker channel” for the player. The game determines what the individual bits of the word for the talker channel mean, e.g., indicating that the talker channel is for a team, a team leader, a commander, etc. In addition, each player can be assigned a “listener channel” on which they can receive speech. When a voice communication comes in over the network, the talker channel is logically “ANDed” with the listener channel for a given player, and if the result is not zero, then that player is able to hear the voice communication. In this manner, the game being played (or each player, within the constraints of the game) is able to select arbitrary permutations that determine the players that are coupled in voice communication with other players.
Referring again toFIG. 7, block224enables each player to choose to listen to only some channels and to employ a channel mask. A channel mask is applied for each player on the game console resulting in up to four subsets of voice streams—one subset for each player listening, based upon the player's individual listener mask. Each person who is listening will have a list of candidate packets included in different voice streams.
In a block226, the muting mask and user defined priorities are applied. While a preferred embodiment enables a player to selectively preclude further voice communications with a selected player, it is also contemplated that a player might selectively only mute voice communications with a specific player during a current game session. In this alternative embodiment, each player on a game console might choose to mute certain people on listening channels. Voice streams from players who have been muted by that player will then be eliminated from the list of candidate voice streams for that player on the game console. Any remaining voice streams for each player are sorted by user-defined priorities. In this step, one voice stream may have the highest priority all the time. For example, the game (or a player—if the game permits this option) may selectively set a channel coupling team member in voice communication with a team leader so that that channel has the highest priority for each of the team members. Loudness of the incoming voice stream can also be a basis for determining the priority of a channel for a given player, so that the player hears the loudest voice streams all of the time. Alternatively, or in addition, if a voice stream has started to render, the game will wait for it to finish regardless of the loudness of the other voice streams that started later so that a sentence is not cut off in “mid-stream,” before it is finished. As a further alternative or in addition, other priorities can be defined for each voice channel. For example, a game-specific role related priority can be applied.
Following block226, decoding is applied to the voice streams resulting from applying the muting masks and user/game defined priorities using either a decoding engine type one as indicated in a block228or a decoding engine type two as indicated in a block230. In block228, decoding engine type one allocates decoders, mixing and decoding for each player method. In this algorithm, for each player, the first N packets in a list of ordered packets are selected. If the list contains less than N elements, silent compressed data packets used instead of the inexistent packets to avoid producing spikes in the CPU processing of the voice packets.
In block230, when applying decoding using engine type two, decoders are allocated for decoding and mixing in a DSP method. In accordance with this algorithm, until the maximum number of decoded packets is reached, or the end of the candidate packet is reach, or the end of the candidate packet list is reached, the current player is obtained from the ordered list of packets, if the list is not empty. If the head of the list of ordered packets has not been chosen before, the head of the list is then chosen to be decoded and the counter is incremented for the decoded packets. Thereafter, the head of the list is eliminated from the ordered list. Next, the algorithm moves to the next player, who then becomes the current player. For example, after player four, player one would then again become the current player. If any decoding slots remain for decoding additional voice packets, silence packets are applied to the parallel decoder to avoid spikes in CPU processing of the voice packets.
Decoding Engines, Types One and Two
InFIG. 8, details relating to the functional aspects of decoding engine type one are illustrated. As shown therein, encoded streams from one through N designated by reference numerals240,242, and244provide compressed data to a selection engine257that chooses two encoded streams for decoding for each player headphone. In this case, an encoded stream1.1and an encoded stream1.2are selected for input to decoder168where the streams are mixed by a mixer252prior to decoding. The output of the decoder is PCM data that are supplied to the DAC within the voice communication module for a headset248. Similarly, for each of the other player headphones, another decoder168receives encoded voice streams as compressed data, which are then mixed and decoded. As shown, the decoder for a fourth player includes a mixer254that mixes encoded voice streams4.1and4.2so that the decoder produces PCM data that are supplied to the DAC that provides the analog signal to drive a headphone250for the fourth player on the voice console. Of course there are instances where less than four players will be using a game console, in which case, fewer than four decoders are required to be active.
An alternative embodiment to both decoding engine type 1 and decoding engine type 2 conveys the prioritized voice streams (at block226) directly to the DSP in the voice communication module of the intended recipient.
Functional aspects of the type two decoding engine are illustrated inFIG. 9A. Again, encoded streams one through N represented by reference numbers240,242, and244are input to a selection engine260, which chooses the maximum four encoder streams, a minimum of one for each player who is listening and has a voice stream addressed to that player. In this case, four parallel decoders262receive the four selected encoded voice streams of compressed data. The decoders then decode the compressed data and supply the resulting PCM data to a mixer for each player to whom any voice stream was intended. In this case, the first player receives two voice streams from other players that are mixed by a mixer270in a mixer identified by reference number264. Although not shown, each of the other players receiving voice communications from other players in the game would also be provided with a separate mixing bin to which the output of the four parallel decoders is applied for mixing. For example, the fourth player receives three voice streams that are mixed by a mixer272in a mixer identified by reference numeral266. The resulting PCM data are then applied to headset250for the fourth player. Thus, each player can receive from one to four voice streams that are mixed by the four-in-one mixing bin assigned to that player.
Another embodiment (at block260) bypasses decoder262and mixers264and266and conveys the compressed data to the DSPs of the voice communication modules coupled to headphones248and250, respectively.
An alternative approach for use in the type two decoding engine is illustrated inFIG. 9B. In this embodiment, the relative disposition of the decoder and the mixers are reversed from that shown inFIG. 9A. Specifically, each player is provided with a two-stream mixer that is coupled to receive and mix the compressed data incoming over the network. A two-stream mixer280is provided for player one, a two-stream mixer282for player two, a two-stream mixer284for player three, and a two-stream mixer286is provided for player four. Up to two voice streams of compressed data are thus input to each of these mixers per player and are mixed, providing a single mixed stream from each mixer for input to a four-stream parallel decoder288. This decoder then decodes the compressed data producing PCM data that is supplied to each player headphone248,252,253, and250who is an intended recipient of a voice communication from another player.
Yet another embodiment provides that the compressed data conveyed to two-steam mixers28,282,284, and286is decoded by the DSPs of the voice communication modules coupled respectively to headphones248,252,253, and250.
Controlling Voice Communication with Other Players
As noted above, a player has the option of precluding further voice communications with a specific player because of behavioral issues or for other reasons. For example, if a specific other player tends to uses excessive profanity, a player may choose not to engage in further communications with that other player. Each game will generally provide an option for a player to mute voice communications with another player for the current and future game sessions, and it is also contemplated that a player might also be enabled to mute voice communications with another player for only a current game session.FIGS. 13,13A, and13B illustrate exemplary dialog boxes that enable this control of voice communication to be implemented in a game called “MY GAME.” This fictitious game lists each of the players, as shown in a player list box430. Player list box430includes six players of which the top listed player has been selected as indicated by a selection bar434. This player, who plays the game using the alias “Avenger,” has voice communications capability, as indicated by a speaker symbol436that is shown in one column of the dialog, in the same row as the alias. Players respectively using the aliases “Iceman” and “Raceox” do not have voice communication capability, as is evident by the lack of speaker symbol436in this column, in the same row as either of these aliases. A radio button438is provided to enable any of the players listed to be muted from voice communication with the current player who is viewing players list box430. In this case, Avenger has been selected by the player, as indicated by radio button438. When the player is selected, a window440opens that identifies the selected player and notes that this player is currently one of the participants in the game and has a voice communication module. If the player viewing player's list box430clicks on a select button442, a voice communication status select450opens that includes an option bar452, which can be toggled to different states. As shown inFIG. 13A, option bar452indicates that the selected player has been enabled to verbally communicate with the player who is selecting this option. InFIG. 13B, the option bar has been toggled to a state454, which indicates that the player viewing the state wants to mute the selected player for the current game session. Depending upon the selection that the player makes, speaker symbol436will change. Instead of that shown inFIG. 13, if the player selected the option to mute the specific player has been chosen a dash box will appear around the speaker symbol shown. This type of muting expires after the current game session ends. On the other hand if the specific player has been selectively locked out, a dash heavy-bar box will be added around speaker symbol436. In this case, the decision to mute a player can only be turned off by the player making that decision from within a game session or using a system control for the game console. Yet another symbol (not shown) is used to indicate that voice communications for corresponding player are being played through loudspeakers (e.g., television or monitor speaker) connected to the game console of the recipient player, rather than through a headphone. This option can be selected by a player, who prefers not to wear a headset, but is less desirable, since the player will not be using a microphone to verbally communicate with other players.
In the event that a number of players provide negative feedback concerning a specific player based upon the verbal behavior of that player being deemed to be unacceptable, such as excessive use of profanity, or use of sexually explicit language, the online game service can automatically determine that the number of complaints received has exceeded a threshold, causing the specific player to be banned from further voice communication. The ban might initially be for a limited period of time such as a week, and then subsequently, if further complaints are received beyond the threshold, the specific player might be banned permanently from voice communication. A specific player that has been banned in this manner will be informed first of the temporary suspension of voice communication capability, and then of the permanent suspension, if the behavior of the player causes that result. Each time a player logs into the online game service on a game console, permission flags are downloaded to the game console as part of the sign in process. These flags include information about various aspects of the system. One of the flags determines whether a specific player has permission to engage in voice chat. Accordingly, in the event that a specific player violates the terms of service or code of conduct, the bit controlling the ability of the player to communicate by voice can be changed to preclude such voice communications.
Once a player has elected to preclude voice communications with a specific player, the identification of the specific player is preferably transmitted to an online game service and stored there in relation to the identity of the player making that election, so that in future sessions of any games, the player who has made such a decision will not receive any voice communication from the specific other player and will not transmit any voice communication to the specific other player. This decision will not be apparent to the specific other player, since the dialog box showing the status of players in a game will simply display an indication on the specific other player's view that the player making that decision lacks voice communication capability, and in the dialog displayed to the player making the decision, the muted status of the specific other player will be indicated. Thus, even though the specific player changes the alias used or signs on with a different game console, the prohibition against voice communication for the specific player made by a player will continue in force.
It is also contemplated that the PCM data will also include lip position information associated with each segment of speech. The lip-sync information will be generated and transmitted to the encoder with the PCM data, converted to compressed data, and transmitted to recipient player so that when a player is speaking, the character represented and controlled by that player in the game appears to be speaking in synchronization with the words spoken by the player. Depending upon the nature of the graphics character representing the player who is speaking, the nature of the “mouth” may differ from that of a normal oral portion of a human's anatomy. For example, a character in a game might be an alien that has mandibles that move when the character speaks. Nevertheless, the synchronization of the oral portion of the character with the word spoken adds to the realism in game play. Details for accomplishing lip-sync using graphic characters and spoken words are disclosed in a commonly assigned U.S. Pat. No. 6,067,095 the disclosure and drawings of which are hereby specifically incorporated herein by reference. Alternatively, lip synchronization information can be extracted from the compressed data during decoding.
One of the advantages of the present invention is that it combines voice streams for all of the players on a game console into a single compressed data stream to more efficiently transmit data over a network within a limited bandwidth. Thus, when players on the same game console are talking to all of the other players participating in a game, all of the voice data for the players on the same console are combined into one network stream. It is not necessary to send multiple voice data streams from the game console.
Another advantage of the present invention is its ability to allocate a maximum number of encoders that is half of the number of players that might be playing a game on a game console. Accordingly, the game designer can determine the amount of resources to be allocated to voice communications and can limit those resources by, for example, providing only two encoders and requiring that the encoders operate in round-robin as discussed above. Although there is a slight negative effect from using previously transmitted packets when carrying out the round-robin approach, the adverse effect on the quality of voice communication is greatly outweighed by the limitation on the use of computing resources for voice communications to minimize adverse effects on the quality of game play.
When participating in a game over the Internet or other network, a player may optionally, depending upon the game being played, choose to play only with players who agree to a specific language in which voice communications are to be conducted. Also, the player can optionally determine that the game will only be played with those players having voice communication capability. Similarly, players without voice communication capability may selectively engage join in games only with those other players who also do not have voice communication capability.
Although the present invention has been described in connection with the preferred form of practicing it, those of ordinary skill in the art will understand that many modifications can be made thereto within the scope of the claims that follow. Accordingly, it is not intended that the scope of the invention in any way be limited by the above description, but instead be determined entirely by reference to the claims that follow.
Claims
- A method for encoding a plurality of audio channels during play of an electronic game, using at least one encoder, but fewer encoders than audio channels to be encoded, each encoder encoding audio signals in an active audio channel and producing corresponding data packets for transmission to at least one recipient participating in the play of the electronic game, comprising the steps of: (a) creating a round robin history of the audio channels that have been encoded by the encoders during successive processing intervals;(b) if more than one audio channel per encoder are simultaneously active, selecting an audio channel to encode with each encoder based upon the round robin history and on the audio channels that are then active, so that an audio channel that is active will be skipped and not encoded more frequently than every other processing interval;and (c) updating the round robin history for each processing interval to indicate each audio channel that was encoded during the processing interval.
- The method of claim 1 , wherein the step of creating the round robin history comprises the step of indicating each audio channel that has just been encoded during a current processing interval, at a lower priority position in the round robin history.
- The method of claim 2 , wherein the round robin history includes indications of the audio channels in successively lower priority positions, from a highest priority to the lowest priority position, and wherein the step of selecting the audio channel to encode comprises the step of checking the audio channels that are indicated in said positions, starting at the highest priority position in the round robin history to determine if the audio channel indicated is active and if so, encoding said audio channel with any available encoder, so that audio channels that are active and have a higher priority position in the round robin history list are selected first for encoding.
- The method of claim 1 , wherein if a data packet for a specific audio channel that is still active was not encoded in a processing interval, further comprising the step of duplicating audio data from a data packet that was encoded and transmitted for said specific audio channel during an immediately prior processing interval, to provide audio data to be played for said specific audio channel for the processing interval in which the audio data packet was not encoded.
- The method of claim 4 , wherein the step of duplicating the audio data is carried out by a recipient of the data packet for the specific audio channel, when playing the audio data for the specific audio channel.
- The method of claim 5 , wherein the duplicate audio packet for the specific audio channel is not transmitted to any recipient.
- The method of claim 1 , wherein there are up to two encoders and up to four audio channels to be encoded, each encoder encoding no more than one data packet during each processing interval.
- A memory medium having machine executable instructions for carrying out the steps of claim 1 .
- A system for encoding a plurality of audio channels during play of an electronic game, comprising: (a) a processor;(b) a memory that is coupled to the processor, said memory storing machine instructions for causing the processor to carry out a plurality of functions, said functions including executing an instance of an electronic game;(c) audio input transducers and audio output transducers, coupled to the processor and employed for input and output of audio signals, each audio input transducer providing an audio signal to a corresponding audio channel to be encoded and transmitted to at least one recipient, each audio output transducer being employed to play an audio signal received from another player participating in the play of an electronic game;(d) at least one encoder, but fewer encoders than audio channels to be encoded, each encoder encoding audio signals in an active audio channel and producing corresponding data packets for transmission to at least one recipient participating in the play of an electronic game, wherein said machine instruction cause the processor to carry out a plurality of functions, including: (i) creating a round robin history of the audio channels that have been encoded by the encoders during successive processing intervals;(ii) if more than one audio channel per encoder are simultaneously active, selecting an audio channel to encode with each encoder based upon the round robin history and on the audio channels that are then active, so that an audio channel that is active will be skipped and not encoded more frequently than every other processing interval;and (iii) updating the round robin history for each processing interval to indicate each audio channel that was encoded during the processing interval.
- The system of claim 9 , wherein the machine instructions further cause the processor to indicate each audio channel that has just been encoded during a current processing interval, at a lower priority position in the round robin history.
- The system of claim 10 , wherein the round robin history includes indications of the audio channels in successively lower priority positions, from a highest priority to the lowest priority position, and wherein the machine instructions cause the processor to check the audio channels that are indicated in successive positions, starting at the highest priority position in the round robin history to determine if the audio channel indicated is active and if so, encoding said audio channel with any available encoder, so that audio channels that are active and have a higher priority position in the round robin history list are selected first for encoding.
- The system of claim 9 , wherein there are up to two encoders and up to four audio channels to be encoded, each encoder encoding no more than one data packet during each processing interval.
- A method for decoding audio channels during play of an electronic game, to produce an audible audio output for at least one player intended as a recipient of audio content from another player participating in playing the electronic game, comprising the steps of: (a) instantiating a selected number of decoders for decoding data packets received, to recover the audio content conveyed by the data packets, wherein each decoder is associated with a different listening channel;(b) creating queues of data packets received from audio sources in different listening channels, each listening channel including data packets from one or more sources for decoding by the decoder associated with the listening channel;(c) if a data packet for an audio source is missing in a stream of data packets in a listening channel, replicating a content of a previous data packet for said source, for use instead of the data packet that was missing;(d) selecting data packets from the queues to be decoded, but not exceeding the number of decoders available;and (e) decoding the data packets that were selected, using the decoders that were instantiated.
- The method of claim 13 , wherein the step of selecting comprises the step of enabling each player to mask any listening channel to which the player does not want to listen.
- The method of claim 13 , wherein the step of selecting comprises the step of enabling each player to selectively mute a specific source having data packets in a queue, so that the data packets from the specific source are not selected for decoding for said player.
- The method of claim 13 , wherein the step of selecting comprises the step of sorting the data packets that will be decoded for each player according to any priority assigned by the player relative to a source of the data packets.
- The method of claim 13 , wherein the step of selecting includes the step of applying a priority defined by the electronic game that is being played, in determining the data packets included in each listening channel to be heard by a player when decoded.
- The method of claim 13 , further comprising the step of ordering the data packets as a function of a volume of the content of the data packets, wherein the step of selecting comprises the step of eliminating each data packet in the queues as thus ordered, that includes a substantially silent content.
- The method of claim 18 , wherein for each player that will listen to the data packets that are decoded, the step of decoding comprises the step of decoding a first predetermined number of the data packets that were ordered, using silent compressed data for the content that will be heard in place of any inexistent data packets.
- The method of claim 13 , further comprising the step of mixing data packets from a plurality of sources before the step of decoding.
- The method of claim 13 , further comprising the step of mixing content from a plurality of sources after the step of decoding.
- The method of claim 13 , further comprising the steps of: (a) ordering the data packets to produce an ordered list for each player receiving and listening to the content of the data packets;(b) selecting a data packet at a head of the ordered list of the data packets to be decoded for a current player, if: (i) a predetermined maximum number of decoded data packets has not yet been reached;(ii) the ordered list is not empty;and (iii) the data packet at the head of the ordered list was not chosen previously;(c) incrementing a counter of decoded data packets that is used to determine if the predetermined maximum number has been reached;(d) eliminating the data packet at the head of the ordered list, in each ordered list in which it appears;and (e) repeating the preceding three steps (b)–(d) for each successive player who will listen to the content of the data packets.
- The method of claim 22 , wherein the step of decoding is carried out by a digital signal processor.
- A memory medium having machine executable instructions for carrying out the steps of claim 13 .
- A system for decoding compressed data conveyed in data packets in a plurality of listening channels during play of an electronic game, comprising: (a) a processor;(b) a memory that is coupled to the processor, said memory storing machine instructions for causing the processor to carry out a plurality of functions, said functions including executing an instance of an electronic game;(c) audio input transducers and audio output transducers, coupled to the processor and employed for input and output of audio signals, each audio input transducer providing an audio signal to a corresponding audio channel to be encoded and transmitted to at least one recipient, and each audio output transducer being employed to play an audio signal received from a source comprising another player participating in the play of an electronic game;(d) a selected number of decoders used to decode the data packets received by the system, to recover the audio content conveyed by the data packets, wherein each decoder is associated with a different listening channel, wherein the machine instructions cause the processor to carry out a plurality functions, including;(i) creating queues of data packets received from audio sources in different listening channels, each listening channel including data packets from one or more sources for decoding by the decoder associated with the listening channel;(ii) if a data packet for an audio source is missing in a stream of data packets in a listening channel, replicating a content of a previous data packet for said source, for use instead of the data packet that was missing;(iii) selecting data packets from the queues to be decoded, but not exceeding the number of decoders available;and (iv) decoding the data packets that were selected, using the decoders.
- The system of claim 25 , wherein the machine instructions further cause the processor to enable each player to mask any listening channel to which the player does not want to listen.
- The system of claim 25 , wherein the machine instructions further cause the processor to enable each player to selectively mute a specific source having data packets in a queue, so that the data packets from the specific source are not selected for decoding for said player.
- The system of claim 25 , wherein the machine instructions further cause the processor to sort the data packets that will be decoded for each player according to any priority assigned by the player relative to a source of the data packets.
- The system of claim 25 , wherein the machine instructions further cause the processor to apply a priority defined by the electronic game that is being played, in determining the data packets included in each listening channel to be heard by a player when decoded.
- The system of claim 25 , wherein the machine instructions further cause the processor to order the data packets as a function of a volume of the content of the data packets, and eliminate each data packet in the queues as thus ordered that includes a substantially silent content.
- The system of claim 30 , wherein for each player that will listen to the data packets that are decoded, the machine instructions cause the processor to decode a first predetermined number of the data packets that were ordered, using silent compressed data for the content that will be heard in place of any inexistent data packets.
- The system of claim 25 , wherein the machine instructions further cause the processor to mix the content of data packets from a plurality of sources, before decoding the data packets.
- The system of claim 25 , wherein the machine instructions further cause the processor to mix the content received from a plurality of sources, after decoding the data packets.
- The system of claim 25 , wherein the machine instructions further cause the processor to (a) order the data packets to produce an ordered list for each player receiving and listening to the content of the data packets;(b) select a data packet at a head of the ordered list of the data packets to be decoded for a current player, if;(i) a predetermined maximum number of decoded data packets has not yet been reached;(ii) the ordered list is not empty;and (iii) the data packet at the head of the ordered list was not chosen previously;(b) increment a counter of decoded data packets that is used to determine if the predetermined maximum number has been reached;(c) eliminate the data packet at the head of the ordered list, in each ordered list in which it appears;and (d) repeat the preceding three steps (b)–(d) for each successive player who will listen to the content of the data packets.
- The system of claim 25 , wherein each decoder comprises a digital signal processor.
Disclaimer: Data collected from the USPTO and may be malformed, incomplete, and/or otherwise inaccurate.
