U.S. Pat. No. 6,733,383
SYSTEMS AND METHODS FOR SIMULATING GAME STATE CHANGES RESPONSIVE TO AN INTERRUPT CONDITION
AssigneeEA
Issue DateMay 17, 2002
U.S. Patent No. 6,733,383: Systems and Methods for Simulating Game State Changes Responsive to an Interrupt Condition
Summary:
The ‘383 patent provides a system in a racing game where the player can simulate either the whole race or a portion of the race. If a player simulates a race (or only a portion of it) the game will calculate the probability of certain events and, using real-world statistics, can simulate the most realist race possible. The computer randomly generates common racing events such as crashes, spinouts, and debris on the track. Each of the computer-controlled drivers have their own attributes (based on the real-life racers they are modeled after) which ensures that each car acts in its own way during the race. Thus, each race will be different depending on what situations arise. A player has the option of simulating the whole race before the race begins, but he can also manually race for part of the race and then simulate until the end if he needs to move on and does not have time to complete the race.
Abstract:
A simulation module simulates events that may occur during a cautionary period based on, e.g., current relative position of vehicles, vehicle and driver attributes and current game statistics for vehicles, and compiles new statistics and attributes that are used in the resumed race. A full race simulation option and a partial race simulation option are also provided. For example, in a season mode, the simulation module simulates events that may occur during a race and compiles statistics that can be used later, e.g., in a later race, for season standings, etc. A complete race may be simulated, or a partial race may be simulated, for example, if a user desires to terminate a race before it is finished, using the compiled statistics, and a new set of statistics compiled to track the simulated race events. Real world statistics are imported and used in some aspects. For example, real world standings, performance statistics and attribute information are stored in a database and are used as a basis for AI-controlled vehicle performance and AI-generated simulation results.
Illustrative Claim:
1. A method of simulating game state changes responsive to an interrupt condition in a computer-implemented racing game, comprising: generating an interrupt condition during game play of the racing game at a first game state, the first game state having a first set of statistics associated therewith; responsive to said interrupt condition, interrupting game play and calculating a second set of statistics associated with a second game state by simulating events that occur after the first game state based on the first set of statistics; and wherein the second game state is a completed game state, and wherein the second set of statistics includes statistics associated with a completed race.
Illustrative Figure
Abstract
No abstract is available for this record.
Description
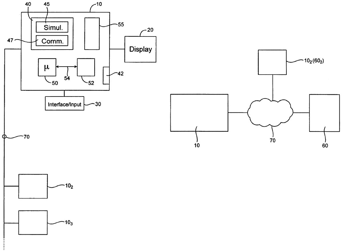
DETAILED DESCRIPTION OF THE INVENTION FIG. 1 illustrates a client computer system 10 configured with a gaming application (application module 40 ) according to the present invention. FIG. 2 illustrates a client-server arrangement for executing a shared gaming application according to another embodiment of the present invention. Client system 10 may operate as a stand-alone system or it may be connected to server 60 and/or other client systems 10 over a network 70 . Several elements in the system shown in FIGS. 1 and 2 include conventional, well-known elements that need not be explained in detail here. For example, a client system could include a desktop personal computer, workstation, laptop, stand-alone game system such as a Sony Playstation2 , X-Box , Nintendo GameCube , etc., or any other computing device capable of executing gaming application module 40 . In client-server or networked embodiments, a client system 10 is configured to interface directly or indirectly with server 60 , e.g., over a network 70 , such as the Internet, or directly or indirectly with one or more other client systems 10 over network 70 . Client system 10 typically runs a browsing program, such as Microsoft's Internet Explorer, Netscape Navigator, Opera or the like, allowing a user of client system 10 to access, process and view information and pages available to it from server system 60 or other server systems over Internet 70 . Client system 10 also typically includes one or more user interface devices 30 , such as a keyboard, a mouse, touchscreen, pen or the like, for interacting with a graphical user interface (GUI) provided on a display 20 (e.g., monitor screen, LCD display, etc.). In preferred aspects, user interface device 30 includes a mouse, joystick, steering wheel, gas pedal, force-feedback controller, or other game-specific controller. Speakers are ...
DETAILED DESCRIPTION OF THE INVENTION
FIG. 1 illustrates a client computer system 10 configured with a gaming application (application module 40 ) according to the present invention. FIG. 2 illustrates a client-server arrangement for executing a shared gaming application according to another embodiment of the present invention. Client system 10 may operate as a stand-alone system or it may be connected to server 60 and/or other client systems 10 over a network 70 .
Several elements in the system shown in FIGS. 1 and 2 include conventional, well-known elements that need not be explained in detail here. For example, a client system could include a desktop personal computer, workstation, laptop, stand-alone game system such as a Sony Playstation2 , X-Box , Nintendo GameCube , etc., or any other computing device capable of executing gaming application module 40 . In client-server or networked embodiments, a client system 10 is configured to interface directly or indirectly with server 60 , e.g., over a network 70 , such as the Internet, or directly or indirectly with one or more other client systems 10 over network 70 . Client system 10 typically runs a browsing program, such as Microsoft's Internet Explorer, Netscape Navigator, Opera or the like, allowing a user of client system 10 to access, process and view information and pages available to it from server system 60 or other server systems over Internet 70 . Client system 10 also typically includes one or more user interface devices 30 , such as a keyboard, a mouse, touchscreen, pen or the like, for interacting with a graphical user interface (GUI) provided on a display 20 (e.g., monitor screen, LCD display, etc.). In preferred aspects, user interface device 30 includes a mouse, joystick, steering wheel, gas pedal, force-feedback controller, or other game-specific controller. Speakers are also provided for audio feedback. Multiple user interface devices may be provided for concurrent use by multiple users such as in a multiplayer mode.
In one embodiment, application module 40 executes entirely on client system 10 , however, in some embodiments the present invention is suitable for use in networked environments, e.g., client-server, peer peer, or multi-computer networked environments where portions of code may be executed on different systems. Interconnection via the Internet is preferred, however, it should be understood that other networks can be used instead of the Internet, such as an intranet, an extranet, a virtual private network (VPN), a non-TCP/IP based network, any LAN or WAN or the like.
According to one embodiment, client system 10 and some or all of its components are operator configurable using gaming application module 40 , which includes computer code executable a central processing unit 50 such as an Intel Pentium processor or the like coupled to other components over one or more busses 54 as is well known. Computer code including instructions for operating and configuring client system 10 to process game and data content, simulate race events and statistics, and render images as described herein is preferably stored on a hard disk, but the entire program code, or portions thereof, may also be stored in any other volatile or non-volatile memory medium or device as is well known, such as a ROM or RAM, or provided on any media capable of storing program code, such as a compact disk (CD) medium, digital video disk (DVD) medium, a floppy disk, and the like. An appropriate media drive 42 is provided for receiving and reading data and code from such a computer-readable medium. Additionally, the entire program code of module 40 , or portions thereof, may be transmitted and downloaded from a software source, e.g., from server system 60 to client system 10 or from another server system or computing device to client system 10 over the Internet as is well known, or transmitted over any other conventional network connection (e.g., extranet, VPN, LAN, etc.) using any communication medium and protocols (e.g., TCP/IP, HTTP, HTTPS, Ethernet, etc.) as are well known. It should be understood that computer code for implementing aspects of the present invention can be implemented in a variety of coding languages such as C, C , Java, Visual Basic, and others, or any scripting language, such as VBScript, JavaScript, Perl or markup languages such as XML, that can be executed on client system 10 and/or in a client server arrangement. In addition, a variety of languages can be used in the external and internal storage of data, e.g., statistics information, according to aspects of the present invention.
According to one embodiment, a game application (represented as module 40 ) executing on client system 10 includes instructions for implementing a racing game, including simulations as described herein. Application 40 is preferably downloaded and stored in a hard drive 52 (or other memory such as a local or attached RAM or ROM), although application module 40 can be provided on any software storage medium such as a floppy disk, CD, DVD, etc. as discussed above. In one embodiment, application module 40 includes various software modules for processing data content, such as a communication interface module 47 for communicating text and data to a display driver for rendering images on display 20 , and for receiving user input signals from user input device 30 . Application module 40 also includes a simulation module 45 including instructions to simulate race events and related statistics using compiled statistics and attribute information as discussed herein. Compiled statistics, attributes and other information are preferably stored in database 55 , which may reside in memory 52 , in a memory card or other memory or storage system, for retrieval by simulation module 45 . It should be appreciated that application module 40 , or portions thereof, as well as appropriate data can be downloaded to and executed on client system 10 .
In the client-server arrangement of FIG. 2 , portions of game module 40 may execute on client 10 while portions may execute on server 60 . For example, a game module shell may execute on client 10 with periodic data, e.g., vehicle positional and statistical information, updates provided to and from server 60 . Similarly, in a networked environment, updates may be provided between computers, such as in a multi-player mode over the Internet.
In preferred aspects, application module 40 implements a simulated vehicle racing game, such as an auto race, bicycle race or motorcycle race, boat race or jet ski race, snowmobile race, etc. It should be appreciated that other racing games may be implemented, such as dog races, horse races or track and field type races, in which case, a living body is typically a user-controlled or computer-controlled vehicle . One or more vehicles may be controlled by one or more users, and one or more vehicles may be controlled by the computer (AI controlled vehicles).
Typically, the simulated race is conducted on a course or a track requiring one or more laps and/or passing required checkpoints. Various viewpoints are typically provided to the user on the display during the course of the race. For example, portions of the course and other vehicles may be displayed from the viewpoint of the user's vehicle, from above, and from a point along the course. Additionally, various other display elements may be concurrently displayed, or alternately displayed as a different window at the request of the user. Such display elements include performance statistics and elements such as speed indicators, speed, average lap time, etc., vehicle attributes such as fuel level indicators, fatigue, temperature and pressure indicators, etc., and other display elements as may be suitable for simulating a real-life racing environment.
The present invention will now be described with reference to an auto race, such as a NASCAR-sanctioned type race, although the present invention is applicable to other races as mentioned above.
In NASCAR racing, a vehicle is required to make multiple laps to complete the race. During the race, it is typically necessary to make pit stops, for example to refuel, change or take on new tires, etc. Additionally, during the race, cautionary events such as wrecks, spinouts, debris on the track, etc., may take place based on, for example, a user input that causes or contributes to the event, or AI-generated events. Typically a Yellow Flag is shown to the racers during such a cautionary event, and a pace car enters the field to pace the cars during the cautionary event. Cars may make pit stops, catch up to the rest of the pack or maintain their present positions as desired or as strategy dictates.
For added reality, cautionary events are added to the gameplay of the present invention. For example, activation of a Yellow Flag option allows the computer to simulate cautionary events as well as the resulting Yellow Flag period.
According to one embodiment, a user selectable Quick Cautions option is added to modify or supplement the Yellow Flag option. When selected, the Quick Cautions option allows the user to skip through much or all of the cautionary event period yet simulate events that occur during the period. For example, a user may select to make a pit stop to refuel, and then is placed back in an appropriate position to restart/resume the race after the pit stop based on AI-generated position changes occurring during the cautionary period.
An example process flow will now be described with reference to examples of visual display characteristics and control characteristics and functions presented to the user. According to one embodiment, an example of a Quick Cautions flow proceeds as follows:
1) Yellow Flag event occurs
Visual: Regular racing view with waving yellow flag indicator.
Control: Regular racing controls until the player crosses the line, unless player stops, significantly slows, or turns around.
2) Player crosses the start/finish line
Visual: Track/demo cameras focused on the player car or track/demo cameras focused on the start finish line.
Control: No player control.
Function: The order of cars lining up correctly will be simulated behind the scenes. The cars will start to line up normally until 2a) occurs. At that point, any remaining movement necessary in to line-up the cars for pacing is simulated when the transition to 3) occurs. Fuel and tire wears are preferably used on a per lap basis, e.g., if a decision to pit is made and before a restart occurs. Fuel usage is simulated on a per lap basis, regardless of whether a decision to pit is made or not. Also, in some situations (e.g., short races) fuel usage is not calculated.
2a) 5 seconds after last player crosses the start/finish line
Visual: Track/demo cameras focused on pace car leaving pit road or track/demo cameras focused on the pace car pulling out in front of the line of cars on the backstretch.
Control: No player control.
Function: After the last player crosses the line, the cars are ordered as they were when they crossed the line. Lapped cars are mixed in where they crossed the line.
3) After Pace car pulls out
Visual: Track/demo cameras focused on the player. Cars in a single-file line led by the pace car on the back stretch. A Pit Under Caution pop-up or other selectable option is displayed. The player's remaining fuel, tires, and damage meters are preferably shown.
Control: Select Yes or No using controller, e.g., D-Pad and X (A for Xbox).
Function: The cars are lined up as in 2a). A pop-up is presented indicating whether or not the player wants to make a pit stop. The player has until the pop-up is scheduled to go away in order to decide to pit. If the player hasn't made a decision, it is taken as No. If there are cars in front of the player, they begin to enter the pit row (if they decide to pit or a decision is made for them to pit) before the pit query is dismissed. If the player selects No, they are taken to 5a) after a set time, e.g., 2 seconds. In multiplayer mode, wait until every player has made a decision.
4) Decision is made to pit.
Visual: Cars continuing to pace and entering pit road using Track/demo cameras focused on the player. A Pit Options menu is preferably displayed, including, e.g., options to refuel, replace tires, etc.
Control: The player uses a controller, e.g., D-pad and X to make selections on the Pit Options menu.
Function: The player is preferably presented with the Pit Options menu as soon as they enter pit road. In multiplayer mode, if all players select Abort, the flow immediately moves to 5a). The Pit Options menu remains on the screen until a selection is made. Then it is taken away and the currently selected option(s) are used. If a Fuel Use mode is set to ON, the amount of fuel remaining in the cars is decreased by the amount of fuel it takes to run the entire caution period. However, the player's fuel cannot go below zero their car will be considered as having successfully coasted to pit road.
5) Pit Stop
Visual: Car entering pit stall with cameras from side or driver's view. A pit timer is preferably presented. AI-controlled cars that made the decision to pit (as determined by simulation module 45 based on statistics and attributes for that car) are preferably made visible moving down pit road or in their stall depending upon their place in the caution line and pit row. After the stop is finished, the car is shown exiting its pit stall.
Control: No player control
Function: The pit stop proceeds with camera cuts and audio. After the car is shown exiting its pit stall, the flow moves to 5a). In multiplayer mode, the lead car's pit stop is preferably presented in a single window.
5a) Fuel Check
Function: At this point, a transition occurs from the Pit Stop (or pace) stage back to the Resume/Restart stage of the flow. Once again, the amount of fuel available to the player (if a Fuel Use mode is set to ON) is decreased in order to represent the amount of fuel which would actually be used during the remainder of the caution period.
6) Resume/Restart
Visual: Similar to race start. The camera is preferably in the player's driving view and the countdown is given. Pace car is already gone or is shown leaving.
Control: Player has regular race countdown controls.
Function: The cars are lined up and ready to start. The current lap is updated to reflect the number of caution laps that were run. If pitting has occurred, position swaps have probably occurred as determined by simulation module 45 . For example, cars who did not pit are moved in front of cars who pitted maintaining their relative initial caution positions. Cars who pitted are ordered behind them in order of pit stop speed. In order to keep the 43 rd car from getting in front of the 1 st car during pitstops, for example, some time based upon a car's position is added to the pitstop time. Lapped cars are lined up on the inside, unless the restart is occurring with 10 or less laps to go. In that case, they are positioned at the end of the line.
Finish Race Under Caution
In certain aspects, a race is allowed to finish under caution if the number of laps remaining is equal to or less than the number of caution laps. For example, if there is only one lap remaining, a view of the pace car leading the cars across the start/finish line is presented after 3). If there are more than 2 laps remaining, proceed as normal until step 6). At that point, the same view of the pace car leading the cars across the start/finish line as above is presented. In other aspects, the race is not allowed to finish under caution. In this aspect, the pace laps are not counted, nor is a calculation of fuel consumption and tire use made.
Exemplary embodiments of full and partial race simulations follows.
Full Race and Partial Race Simulation
In one embodiment, a full race simulation tool is provided. The tool is preferably accessed from within the front end of the game, for example, from a setup screen, or within a season mode configuration screen. In this embodiment, simulation module 45 retrieves all of the necessary driver statistics and attribute information (aggressiveness, control, etc.), vehicle statistics information (e.g., wear, average speed, etc.), so that it can provide a sensible simulation of the next race. For example, where a user has selected to model some or all competitors' cars, or their own car on real-world race cars and drivers, the application uses real world statistics and attributes taken from real world races. For example, real-world statistics and attributes data may be provided with the game application or as separate modules provided on a computer-readable medium, downloaded over a network, input/modified by a user, etc., and stored in the database. Thus, for AI-controlled cars, the simulation module retrieves statistics from the database for simulating events that occur during the race. For simulation of user-controlled cars, the simulation module retrieves statistics based on past races, if any, or randomly generated statistics.
A variety of weighting schemes may be applied to the retrieved statistics, e.g. to determine frequency of cautionary events based on driver aggressiveness and control values, relative performance based on past performance scores and attributes, etc. The simulation module generates a final set of statistics for the race, each car, and/or each driver. the results may be displayed explicitly as a table of results or, preferably as a summary of events that occurred, including for example, order of finish, total lap times, crashes, etc. The simulation module updates the database with all of the necessary race statistics, which are used to calculate season standings, break ties, determine awards winners, as well as all other information that is required to progress through a season. In this manner, the simulation results closely tie in with what a user may expect to see within a race that was actually run.
In one embodiment, a partial race may be simulated. For example, a user may select to simulate the beginning of a race and take over control of a car near the end of the race, a user may select to have an intermediate portion of the race simulated (e.g., Quick Cautions mode), or a user may choose to interrupt a game and quit out of a partially completed race, but have the race finish nonetheless, for example, for maintaining a database of compiled race statistics for a season.
For any simulation mode (Full or Partial Race, or Quick Cautions), the simulation module closely approximates what would happen within a race, e.g., during a cautionary period or if it were to continue until all driving cars cross the line under a checkered flag based upon the AI characteristics. The simulation proceeds similar to the full race simulation described above. As above, the module retrieves statistics for participant cars and generates all of the necessary events (passing, yellow flags, crashes, pit stop decisions, etc.) that are used to calculate the post-simulation statistics. When simulating the beginning of a race, the post simulation statistics are used to position cars for the user to complete the race; for a user quitting out of a race, the post-simulation statistics are recorded to the database for use in standings and/or a later race. The database is appropriately updated with the necessary end race statistics are used within the front end to calculate awards, season rankings, etc.
During any simulation mode the simulation module preferably generates mistakes for the AI-controlled cars, randomly and/or based on history information, driver attributes such as aggressiveness, current game condition of car attributes such as suspension and braking characteristics, track profile and characteristics, weather characteristics, etc. The simulation code generates random wrecks for the simulated drivers. The result of the random wrecks would reflect that the driver wrecked out of the race and any other information that is normally recorded for a wrecked car.
In one embodiment, the simulation results are dumped to a file so that they can be viewed before any calculations are performed on the data. This is not necessary to the design but it may prove to be a valuable tool, e.g., to allow a user to approve of simulation results before being recorded.
While the invention has been described by way of example and in terms of the specific embodiments, it is to be understood that the invention is not limited to the disclosed embodiments. To the contrary, it is intended to cover various modifications and similar arrangements as would be apparent to those skilled in the art. Therefore, the scope of the appended claims should be accorded the broadest interpretation so as to encompass all such modifications and similar arrangements.
Claims
- A method of simulating game state changes responsive to an interrupt condition in a computer-implemented racing game, comprising: generating an interrupt condition during game play of the racing game at a first game state, the first game state having a first set of statistics associated therewith;responsive to said interrupt condition, interrupting game play and calculating a second set of statistics associated with a second game state by simulating events that occur after the first game state based on the first set of statistics;and wherein the second game state is a completed game state, and wherein the second set of statistics includes statistics associated with a completed race.
- The method of claim 1 , wherein the interrupt condition is a computer generated condition.
- The method of claim 2 , wherein the interrupt condition includes a user entered selection responsive to the computer generated condition.
- The method of claim 3 , wherein the computer generated condition includes a yellow flag cautionary event, and wherein the user entered selection includes a decision to make a pit stop.
- The method of claim 2 , wherein the computer generated condition is a randomly generated cautionary event including one of a crash, a spinout and debris on the track.
- The method of claim 1 , wherein the interrupt condition is a user generated interrupt.
- The method of claim 1 , wherein the first set of statistics includes, for each race participant, one or more of remaining fuel, tire wear, vehicle wear, and a relative order.
- The method of claim 1 , wherein the first set of statistics includes driver attributes for each race participant.
- The method of claim 8 , wherein the driver attributes includes at least one of aggressiveness, control and race history information.
- The method of claim 1 , further includes displaying final results associated with the second set of statistics.
- The method of claim 10 , wherein the second set of statistics includes a final order of race participants for the completed race.
- The method of claim 1 , wherein the first set of statistics includes a first order of race participants, and wherein the second set of statistics includes a second order of race participants different from the first order.
- The method of claim 1 , wherein each set of statistics includes performance related statistics and attribute information.
- The method of claim 13 , wherein the performance related statistics includes for each vehicle one or more of lap time, total time, and position relative to each vehicle.
- The method of claim 13 , wherein the attribute information includes for each vehicle one or more of aggressiveness of the driver, vehicle wear, tire wear and suspension wear.
- A computer-readable medium including code for controlling a processor to simulate game state changes responsive to an interrupt condition during a race in a racing game, the code including instructions to: retrieve a first set of statistics associated with a first game state from a database in response to an interrupt condition;interrupt game play of the racing game;calculate a second set of statistics associated with a second game state based on a simulation of events that occur after the first game state based on the first set of statistics;wherein the second game state is a completed game state, and wherein the second set of statistics includes statistics associated with a completed race;and store the second set of statistics to the database.
- The computer-readable medium of claim 16 , wherein the interrupt condition is based on user input.
- The computer-readable medium of claim 16 , wherein the interrupt condition includes a user entered selection responsive to a computer generated interrupt condition.
- The computer-readable medium of claim 18 , wherein the computer-generated interrupt condition includes a yellow flag cautionary event, and wherein the user entered selection includes a decision to make a pit stop.
- The computer-readable medium of claim 16 , wherein the interrupt condition includes a user entered selection to terminate the race.
- The computer-readable medium of claim 20 , wherein the second game state is a completed game state, and wherein the second set of statistics includes statistics associated with a completed race.
- The computer-readable medium of claim 16 , wherein the code further includes instructions to generate the interrupt event based on a portion of the first set of statistics.
- A method of simulating game statistics responsive to a request for game play termination in a computer-implemented racing game, comprising: receiving a termination request during game play of the racing game at a first game state, the first game state having a first set of statistics associated therewith;terminating game play responsive to said termination request;and calculating a second set of statistics associated with an end of the game by simulating events that occur after the first game state based on the first set of statistics until the end of the game.
- The method of claim 23 , further comprising storing the second set of statistics to a memory module.
- A computer implemented method of simulating a complete race in a racing game using game-related statistics, the method comprising: retrieving a first set of statistics for a plurality of vehicles from a memory module in response to a request to simulate a complete race, the first set of statistics being associated with a beginning of the race;and calculating a second set of statistics associated with an end of the race based on the first set of statistics by simulating events that occur during the race, wherein each set of statistics includes performance related statistics and attribute information for each of the plurality of vehicles.
- The method of claim 25 , further including storing the second set of statistics to the memory module.
- The method of claim 25 , wherein the performance related statistics includes for each vehicle one or more of lap time, total time, and position relative to each vehicle.
- The method of claim 25 , wherein the attribute information includes for each vehicle one or more of aggressiveness of the driver, vehicle wear, tire wear and suspension wear.
Disclaimer: Data collected from the USPTO and may be malformed, incomplete, and/or otherwise inaccurate.
