U.S. Pat. No. 10,322,351
MATCHMAKING SYSTEM AND METHOD FOR MULTIPLAYER VIDEO GAMES
AssigneeACTIVISION PUBLISHING, INC.
Issue DateMay 14, 2015
U.S. Patent no. 10,322,351: Matchmaking system and method for multiplayer video games
U.S. Patent no. 10,322,351: Matchmaking system and method for multiplayer video games
Issued June 18, 2019 to Activision Publishing, Inc.
Priority Date July 3, 2014
Summary:
U.S. Patent No. 10,322,351 (the ‘351 Patent) relates to a matchmaking system for multiplayer video games. The ‘351 Patent details a method that optimizes the matchmaking process. Multiplayer games have become increasingly popular over time. Systems have been created that will automatically group players together into groups for multiplayer games. These systems are normally hard-coded and cannot be dynamically adjusted, such as a system only focusing on player skill lever. This may mean that a player never is matched with someone of a higher skill and similarly delays in matchmaking and creation of groups can occur because of these strict parameters the matchmaking system must satisfy. The invention instead analyzes other information, such as historical player data, to better facilitate an optimal mix of players and styles. The system constantly adjusts itself to maintain a high quality of gameplay and player behavior. The system calculates a match score based on the different criteria available to it and then uses this score to create more optimal matches. If a player is performing poorly then the scoring engine will adjust the matches for that player to improve that player’s performance. These improved matchmaking systems could increase the longevity and enjoyment player’s receive from a video game.
Abstract:
A matchmaking system and method is provided that facilitates optimization of player matches for multiplayer video games. The system may provide a generalized framework for matchmaking using historical player data and analytics. The framework may facilitate automatic determinations of an optimal mix of players and styles to produce the most satisfying user experiences. The system may dynamically update analytical processes based on statistical or otherwise observed data related to gameplay at any given time. In this manner, the system may continually tune the matchmaking process based on observations of player behavior, gameplay quality, and/or other information.
Illustrative Claim:
1. A computer implemented method of matchmaking players for gameplay sessions, the method being implemented in a host computer having one or more physical processors programmed with computer program instructions that, when executed by the one or more physical processors, cause the host computer to perform the method, wherein said host computer is in data communication with a plurality of computing devices and wherein each of said plurality of computing devices is configured to interact with an instance of a multiplayer video game, the method comprising: identifying, by the host computer, a potential match of at least a first player and a second player to be placed in a gameplay session to play said multiplayer video game; obtaining, by the host computer, a plurality of match variables used to assess the potential match, the plurality of match variables including at least a first match variable; obtaining, by the host computer, a plurality of coefficients used to provide weights to corresponding ones of the plurality of match variables, the plurality of coefficients including at least a first coefficient corresponding to the first match variable, wherein the first coefficient comprises a first default value; changing the first default value to a first tuned value; generating, by the host computer, a match score for the potential match based on the first match variable and the first coefficient having the first tuned value; determining, by the host computer, whether the first player and the second player should be placed in the gameplay session based a comparison of the match score to an adjusted threshold match score, wherein the adjusted threshold match score is generated by obtaining, using the host computer, at least a first wait time that indicates an amount of time that the first player has been waiting to be matched, adjusting, using the host computer, a threshold match score based on the first wait time, and comparing, by the host computer, the match score to the adjusted threshold match score; and causing, by the host computer, the first player and the second player to be placed in the gameplay session responsive to a determination that the first player and the second player should be placed in the gameplay session.
Illustrative Figure
Abstract
A matchmaking system and method is provided that facilitates optimization of player matches for multiplayer video games. The system may provide a generalized framework for matchmaking using historical player data and analytics. The framework may facilitate automatic determinations of an optimal mix of players and styles to produce the most satisfying user experiences. The system may dynamically update analytical processes based on statistical or otherwise observed data related to gameplay at any given time. In this manner, the system may continually tune the matchmaking process based on observations of player behavior, gameplay quality, and/or other information.
Description
DETAILED DESCRIPTION OF THE INVENTION The invention described herein relates to a matchmaking system and method that facilitates optimization of player matches for multiplayer video games. Exemplary System Architecture FIGS. 1A and 1Beach illustrate a system for providing matchmaking for multiplayer video games, according to one implementation of the invention.FIG. 1Aillustrates an implementation in which server(s)150function as a host computer that hosts gameplay between other devices, such as computer system(s)110.FIG. 1Billustrates an implementation in which a given computer system110functions as a host computer that hosts gameplay between (or with) other devices, such as other computer system(s)110. Unless specifically stated otherwise, the description of various system components may refer to either or both ofFIGS. 1A and 1B. The system may generate a match (e.g., interchangeably referred to herein as engaging in “matchmaking”) between two or more players (e.g., one or more human players and/or one or more non-player characters). In some instances, the match, if accepted by the matched players, may result in initiation of a gameplay session that includes the matched players. In other instances, the match may result in automatic initiation of a gameplay session without intervention or specific action taken by a matched player to accept the match. System100may be used to score potential matches and determine which match will likely lead to positive gameplay outcomes for the matched players. For example, system100may generate matches that are predicted to result in greater performance by the matched players, result in greater satisfaction/enjoyment by the matched players, and/or otherwise will lead to positive gameplay outcomes for the matched players. In one implementation, system100may include one or more computer systems110, one or more servers150, one or more databases160, and/or other components. Computer System110 Computer system110may be configured as a gaming console, a handheld gaming device, a personal computer (e.g., a desktop ...
DETAILED DESCRIPTION OF THE INVENTION
The invention described herein relates to a matchmaking system and method that facilitates optimization of player matches for multiplayer video games.
Exemplary System Architecture
FIGS. 1A and 1Beach illustrate a system for providing matchmaking for multiplayer video games, according to one implementation of the invention.FIG. 1Aillustrates an implementation in which server(s)150function as a host computer that hosts gameplay between other devices, such as computer system(s)110.FIG. 1Billustrates an implementation in which a given computer system110functions as a host computer that hosts gameplay between (or with) other devices, such as other computer system(s)110. Unless specifically stated otherwise, the description of various system components may refer to either or both ofFIGS. 1A and 1B.
The system may generate a match (e.g., interchangeably referred to herein as engaging in “matchmaking”) between two or more players (e.g., one or more human players and/or one or more non-player characters). In some instances, the match, if accepted by the matched players, may result in initiation of a gameplay session that includes the matched players. In other instances, the match may result in automatic initiation of a gameplay session without intervention or specific action taken by a matched player to accept the match.
System100may be used to score potential matches and determine which match will likely lead to positive gameplay outcomes for the matched players. For example, system100may generate matches that are predicted to result in greater performance by the matched players, result in greater satisfaction/enjoyment by the matched players, and/or otherwise will lead to positive gameplay outcomes for the matched players.
In one implementation, system100may include one or more computer systems110, one or more servers150, one or more databases160, and/or other components.
Computer System110
Computer system110may be configured as a gaming console, a handheld gaming device, a personal computer (e.g., a desktop computer, a laptop computer, etc.), a smartphone, tablet computing device, a smart television, and/or other device that can be used to interact with an instance of a video game.
Referring toFIG. 1B, computer system110may include one or more processors112(also interchangeably referred to herein as processors112, processor(s)112, or processor112for convenience), one or more storage devices114(which may store a matchmaking application120), one or more peripherals140, and/or other components. Processors112may be programmed by one or more computer program instructions. For example, processors112may be programmed by matchmaking application120and/or other instructions (such as gaming instructions used to instantiate the game).
Depending on the system configuration, matchmaking application120(or portions thereof) may be part of a game application, which creates a game instance to facilitate gameplay. Alternatively or additionally, matchmaking application120may run on a device such as a server150to determine matches for users in an “online” game hosted by server150.
Matchmaking application120may include instructions that program computer system110. The instructions may include, without limitation, a scoring engine122, an analytics and feedback engine124, a pipelining engine126, a microtransaction engine128, a User Interface (“UI”) engine130, and/or other instructions that program computer system110to perform various operations, each of which are described in greater detail herein. As used herein, for convenience, the various instructions will be described as performing an operation, when, in fact, the various instructions program the processors112(and therefore computer system110) to perform the operation.
Peripherals140
Peripherals140may be used to obtain an input (e.g., direct input, measured input, etc.) from a player. Peripherals140may include, without limitation, a game controller, a gamepad, a keyboard, a mouse, an imaging device such as a camera, a motion sensing device, a light sensor, a biometric sensor, and/or other peripheral device that can obtain an input from and/or relating to a player. Peripherals140may be coupled to a corresponding computer system110via a wired and/or wireless connection.
Server150
Server150may include one or more computing devices.
Referring toFIG. 1A, Server150may include one or more physical processors152(also interchangeably referred to herein as processors152, processor(s)152, or processor152for convenience) programmed by computer program instructions, one or more storage devices154(which may store a matchmaking application120), and/or other components. Processors152may be programmed by one or more computer program instructions. For example, processors152may be programmed by gaming instructions used to instantiate the game.
Depending on the system configuration, matchmaking application120(or portions thereof) may be part of a game application, which creates a game instance to facilitate gameplay. Alternatively or additionally, portions or all of matchmaking application120may run on computer system110or server150.
Matchmaking application120may include instructions that program server150. The instructions may include, without limitation, a scoring engine122, an analytics and feedback engine124, a pipelining engine126, a microtransaction engine128, a User Interface (“UI”) engine130, and/or other instructions that program server150to perform various operations, each of which are described in greater detail herein.
As used herein, for convenience, the various instructions will be described as performing an operation, when, in fact, the various instructions program the processors152(and therefore server150) to perform the operation.
Although illustrated inFIG. 1as a single component, computer system110and server150may each include a plurality of individual components (e.g., computer devices) each programmed with at least some of the functions described herein. In this manner, some components of computer system110and/or server150may perform some functions while other components may perform other functions, as would be appreciated. The one or more processors (112,152) may each include one or more physical processors that are programmed by computer program instructions. Thus, either or both server150and computer system100may function as a host computer programmed by matchmaking application120. The various instructions described herein are exemplary only. Other configurations and numbers of instructions may be used, so long as the processor(s) (112,152) are programmed to perform the functions described herein.
Furthermore, it should be appreciated that although the various instructions are illustrated inFIG. 1as being co-located within a single processing unit, in implementations in which processor(s) (112,152) includes multiple processing units, one or more instructions may be executed remotely from the other instructions.
The description of the functionality provided by the different instructions described herein is for illustrative purposes, and is not intended to be limiting, as any of instructions may provide more or less functionality than is described. For example, one or more of the instructions may be eliminated, and some or all of its functionality may be provided by other ones of the instructions. As another example, processor(s) (112,152) may be programmed by one or more additional instructions that may perform some or all of the functionality attributed herein to one of the instructions.
The various instructions described herein may be stored in a storage device (114,154) which may comprise random access memory (RAM), read only memory (ROM), and/or other memory. The storage device may store the computer program instructions (e.g., the aforementioned instructions) to be executed by processor (112,152) as well as data that may be manipulated by processor (112,152). The storage device may comprise floppy disks, hard disks, optical disks, tapes, or other storage media for storing computer-executable instructions and/or data.
The various components illustrated inFIG. 1may be coupled to at least one other component via a network, which may include any one or more of, for instance, the Internet, an intranet, a PAN (Personal Area Network), a LAN (Local Area Network), a WAN (Wide Area Network), a SAN (Storage Area Network), a MAN (Metropolitan Area Network), a wireless network, a cellular communications network, a Public Switched Telephone Network, and/or other network. InFIG. 1, as well as in other drawing Figures, different numbers of entities than those depicted may be used. Furthermore, according to various implementations, the components described herein may be implemented in hardware and/or software that configure hardware.
The various databases160described herein may be, include, or interface to, for example, an Oracle™ relational database sold commercially by Oracle Corporation. Other databases, such as Informix™, DB2 (Database 2) or other data storage, including file-based, or query formats, platforms, or resources such as OLAP (On Line Analytical Processing), SQL (Structured Query Language), a SAN (storage area network), Microsoft Access™ or others may also be used, incorporated, or accessed. The database may comprise one or more such databases that reside in one or more physical devices and in one or more physical locations. The database may store a plurality of types of data and/or files and associated data or file descriptions, administrative information, or any other data.
FIG. 2Aillustrates an exemplary system configuration200A in which a server hosts a plurality of computer devices to facilitate a multiplayer game, according to an implementation of the invention. In one implementation, one or more servers150(illustrated inFIG. 1) may host a number of computer systems110(illustrated as computer systems110A,110B, . . . ,110N) via a network102. Each computer system110may include one or more peripherals (illustrated as peripherals140A,140B, . . . ,140N). In this manner, one or more servers150may facilitate the gameplay of different players using different computer systems110and/or otherwise provide one or more operations of matchmaking application120(illustrated inFIG. 1).
In some instances, a given server150may be associated with a proprietary gameplay network system, such as, without limitation, SONY PLAYSTATION NETWORK, MICROSOFT XBOX LIVE, and/or another type of gameplay network system. In this implementation, a given computer system110may be associated with a particular type of gaming console. Other types of computer systems110using other types of gameplay networks may be used as well.
FIG. 2Billustrates an exemplary system configuration200B in which a plurality of computer systems110are networked together to facilitate a multiplayer game, according to an implementation of the invention. Any one or more of the computer devices110may serve as a host and/or otherwise provide one or more operations of matchmaking application120(illustrated inFIG. 1).
FIG. 2Cillustrates an exemplary system configuration200C in which a computer system110is used by a plurality of users to facilitate a multiplayer game, according to an implementation of the invention. In an implementation, computer system110may be considered to host the multiplayer game and/or otherwise provide one or more operations of matchmaking application120(illustrated inFIG. 1).
Referring toFIGS. 2A-2C, in an implementation, a host may facilitate the multiplayer game by generating match scores, selecting potential matches, performing analytics, making soft reservations, influencing game-related purchases, and/or performing other operations described herein. In an implementation, at least some of these operations may also or instead be performed by one or more individual computer systems110. Furthermore, the illustrated system configurations are exemplary only and should not be viewed as limiting in any way. Other system configurations may be used as well, as would be appreciated by those having skill in the art.
In an implementation, system100may identify players that are waiting to be matched, such as players whose characters are waiting in a virtual game lobby to join a gameplay session. System100may generate one or more potential matches by grouping two or more of the identified players and/or adding at least one of the identified players to an existing potential match. The number of players placed in each potential match may depend on a number of players waiting to be matched, a number of players needed for a game session (e.g., a number of players needed to form a team), a number of players that can be accommodated by a game session, and/or other information.
Generating a Match Score for Potential Matches
According to an aspect of the invention, scoring engine122may generate a match score for a potential match based on one or more match variables associated with each player in the potential match. A match score may be generated for each potential match and may be used to determine an optimal mix of players in a grouping to produce the most satisfying player experiences. In other words, a match score may indicate a predicted level of satisfaction of players that are placed in a potential match. A match variable may be obtained from a memory (e.g., a database), measured by scoring engine122, and/or otherwise obtained by scoring engine122.
The one or more match variables may relate to at least one player's characteristic that may influence whether a player enjoys gameplay while placed in a match. For example, and without limitation, a match variable may include a latency between players (e.g., a delay time for data communication between players' gaming systems or platforms such that lower latency is preferentially matched), a player skill level, a team composition (e.g., a role played by each player of a potential match), a presence or absence of preferred players (e.g., clan members, friends, etc.), a time that a player has waited to be matched (e.g., a player having a longer wait time may be preferentially matched), a location of a player (e.g., players geographically close to one another may be preferentially matched), one or more explicit user preferences received from a player, and/or other match variables.
Assigning and Tuning Coefficients to Customize the Importance of Match Variables
A given match variable may be associated with a corresponding coefficient that indicates a level of importance of the given match variable. A game designer or others may assign a default value to one or more coefficients. For example, a match variable related to a composition of a team may, by default, be more important than a match variable related to latency and may therefore be weighted more heavily when generating a match score. Other match variables may be weighted as well.
The coefficient may be expressed as a multiplier, a percentage, and/or other value that can be used to weight a match variable relative to one or more other match variables. The coefficient may be set to zero (or an equivalent metric) such that the given match variable is not considered when generating a match score. For example, if the latency variable is assigned with a coefficient of zero (or other value that indicates that latency should not be used), scoring engine122may ignore the latency variable when generating a match score. In this manner, a game designer or others may determine which match variables will be used to generate match scores and/or weights for the match variables. Alternatively or additionally, the game designer or others may remove match variables from consideration altogether (and/or add new match variables).
A given coefficient may be tuned by modifying the default value to generate a tuned value, which may be used instead of the default value. In an implementation, two or more coefficients may be tuned together. For example, a first match variable may be de-emphasized by adjusting a first coefficient downward while a second match variable may be emphasized by adjusting a second coefficient upward. In this manner, one match variable may be weighted more heavily and another match variable may be weighted less heavily. In some instances, the tuning of one coefficient may necessarily result in the tuning of another coefficient. For example, when the value of a coefficient is expressed as a ratio that sums to 1, increasing the value of a first coefficient may necessitate decreasing the value of a second coefficient.
A coefficient may be tuned in various ways (and responsive to various conditions) to adjust how its corresponding match variable will be weighted. A tuned coefficient may itself be iteratively tuned. In this manner, the generation of match scores, and therefore matches made, may be tuned according to particular needs, preferences, changing conditions, and/or other information. For example, a game developer, a player, scoring engine122, and/or others may tune the coefficients.
A game designer or match administrator (e.g., a computerized or human game session moderator), for example, may tune one or more coefficients based on what the game designer or match administrator believes are more important match variables, and/or based on game requirements to suit the particular game for which matchmaking is performed. In one example, a game designer may assign relatively high coefficients (e.g., high relative to other coefficients) to a match variable related to latency for games in which a high degree of collaboration with other players is required.
In some instances, a player may tune one or more coefficients (e.g., coefficients originally assigned by a game developer or others) according to user preferences through a game User Interface, a settings interface, or other interface. For example, a player may indicate a preference to play with friends, in which case the player may tune a coefficient associated with a match variable that relates to preferred players such that the coefficient is weighted more heavily than other coefficients. The tuned coefficient may affect a matchmaking decision.
For example, a potential match that includes the player and strangers may receive a low value for the match variable related to the presence of preferred players. The tuned coefficient may cause the low value to affect the overall match score more so than other match variables. Thus, the corresponding match score may be skewed toward a value that indicates a poor match and the potential match will not be selected. In this manner, tuning of one or more coefficients by the player may impact match scores and therefore matchmaking decisions.
In another example, the player may tune a coefficient related to game roles to be high (to more heavily weight game roles when considering a match score) and set a value of a match variable related to game roles to be “sniper.” In this example, a potential match in which the player would play using a sniper role (e.g., those matches where a sniper role is possible or otherwise available) will have a higher match score than a potential match in which the player would not play as a sniper role. In this manner, the player may indicate a preference for being matched in a gameplay session in which the player plays as a sniper role.
In yet another example, a player may value a better match over shorter wait times. The player may therefore tune a coefficient related to wait times to be low (or zero) so that wait times are not weighted heavily (or at all) when generating potential matches for the player.
According to an aspect of the invention, scoring engine122may tune the one or more coefficients based on changing circumstances, game history, and/or other analytical data. For example, If a given player has performed poorly during previous game sessions (as determined from historical gameplay information), scoring engine122may adjust one or more coefficients for the player such that gameplay becomes easier for the player. For example, if a player has been getting killed at a rate higher than the player's historical rate, scoring engine122may dynamically tune a coefficient associated with a match variable related to skill level to match him with easier opponents, higher-skilled collaborative team members, game sessions that are more suited to the player's gameplay style (e.g., a map that favors snipers), and/or other coefficients that can affect the outcome of a match score.
Scoring engine122may also tune the one or more coefficients based on system requirements unrelated to user preferences or game design. For example, scoring engine122may determine (e.g., measure or receive an indication) that a load on a given server that offers minimal latency compared to other servers needs to be reduced and load-balanced onto another server with greater latency. In this scenario, scoring engine122may adjust the coefficient related to the latency match variable so that latency is disregarded or its importance in generating a match score is diminished (for potential matches that would have been hosted by the given server). In another example, scoring engine122may determine that a given server is associated with a higher network cost and should be avoided. Scoring engine122may adjust coefficients for match variables that may affect whether a potential match will play on the given server, in order to minimize or eliminate matches that will use the given server.
Table 1 (depicted below) illustrates a non-limiting example of four match variables, their corresponding coefficients, and resulting match score for a potential match between two more players. Table 1 is presented solely for illustrative purposes and should not be viewed as limiting. Any number of other match variables and coefficients may be used. Furthermore, other techniques to generate the match score may be used as well.
TABLE 1Value of MatchMatch VariableVariableCoefficientWeighted ValueLatency80.10.8Team Composition20.51.0Skill Level90.43.6Match Score:5.4
As illustrated in Table 1, each of three exemplary match variables (latency, team composition, and skill level) may be normalized to have a value that ranges from 0 to 10 (e.g., “0” referring to a “poor” value, and 10 referring to a “good” value—although other numerical values and/or ranges may be used). The coefficients may be expressed as a ratio that sums to one. Thus, tuning one coefficient will cause another coefficient to be tuned as well. In this manner, the match score may be have a maximum value of 10 (10 being the best match score and zero being the worst match score). In the foregoing example, the various values may be based on percentiles from a population of players. For example, the 95thto 100thpercentile may be associated with a value of “10”, the 90thto 95this “9”, 80 to 90 is 8, etc. The percentile ranges may be equal in size or different in size.
For instance, a match variable related to latency may be associated with a value of 8. In this case, latency is considered to be “good” for the group of players in the potential match. In other words, latency between devices associated with the group of players is considered to be low. The precise translation between the actual latency measurement (which may be measured in milliseconds) and a value of a match variable (in this example, 8) may be made using a predefined translation scale. Other match variables may be similarly translated from corresponding raw measurements or data. A value of the coefficient corresponding to the match variable related to latency may be set (e.g., by default or tuned) to be 0.1, indicating a relatively low importance relative to the other coefficients. The weighted value is 8×0.1, or 0.8.
The match variable related to team composition may be a relatively low 2, indicating that a good mix of players for the particular gameplay session is “poor.” However, the value of the corresponding coefficient may be a relatively high 0.5, indicating that team composition is relatively important for the gameplay session. The weighted value is 2×0.5, or 1.0.
The value of the match variable related to skill level is a relatively high 9, indicating that the level of skill of the players is a good mix for the gameplay session. The value of the corresponding coefficient is a relatively high 0.4. Thus, the weighted value is 9×0.4, or 3.6.
Summing the weighted values of all match variables, the match score for the potential match may be determined to be 5.6.
In an implementation of the invention, scoring engine122may score a match based on emulating match variables that are used to match players who are experiencing actual conditions similar to virtual or game conditions. For instance, an external match variable may include, without limitation, a time of day, weather conditions, trending news, and/or other environmental or contextual information.
Use of the time of day external match variable may take into account a virtual time of day with actual time of day for potential players. For example, scoring engine122may favor matches that include players from actual (physical) locations that correspond to nighttime (e.g., as determined based on the geographic location, current time, and sunset time) for a gameplay session involving a nighttime game (virtual) scene. Use of the weather conditions may be similarly used as well (e.g., snow scenes in a gameplay session may be used to match players having actual, physical, snow at their geographic location). In this manner, players may be matched that are experiencing similar environmental conditions as other players and an in-game environmental conditions, more fully immersing such players in a given gameplay session.
Use of trending news or other contextual information may take into account such contextual information. For instance, scoring engine122may be used to emulate current events at a location (e.g., a high profile police chase occurring at a particular city may be used to match players interested in racing games or match players who live in the particular city). In this manner, the emulating match variables may be used to generate match scores to emulate current events or other contextual information.
Selecting Potential Matches
Scoring engine122may select a potential match based on match scores. For example, scoring engine122may determine whether a match score exceeds a predefined threshold match score. The predefined match score may be determined as a function of a wait time, (e.g., a duration of time in which a player has been waiting to be matched, such as in game lobby). For example, scoring engine122may lower the threshold match score (assuming higher match scores are associated with higher match quality) when a given player has been waiting to be matched for a predetermined period of time. In some instances, the system may progressively lower the threshold match score as the player continues to wait to be matched until the player is eventually matched. In this manner, the system may allow a player to be matched using lower quality matches if the player has been waiting to be matched.
The threshold match score may further be adjusted, as described below with respect to analytics and feedback engine124.
If the threshold match score is exceeded, scoring engine122may automatically select the potential match (thereby making a match) or present the potential match to a player for selection (e.g., confirmation that the player would like to join a game session with the players from the potential match).
If multiple potential matches are being considered, scoring engine122may automatically select the potential match having the highest match score, automatically select a potential match based on aggregate potential matches, randomly (and automatically) select a potential match that exceeds the threshold match score, present one or more potential matches that exceed the threshold match score to the player for selection, and/or present all potential matches to the player for selection.
When automatically selecting a potential match based on aggregate potential matches, scoring engine122may take into account other potential matches such that each player is matched into a match of at least threshold quality, but maximizing scores across more than just one match. In other words, scoring engine122may take into account aggregate scores for multiple matches. For example, if player A is considering matches Y (having a match score=6) and Z (having a match score=8) and player B is considering matches W (having a match score=7) and X (having a match score=8), scoring engine122may select match W for player B if by selecting X it forces player A into match Y. That is, the aggregate score of player A placed into match Z and player B placed into match W is 7+8=15. An aggregate score of player B placed into match X and player A placed into match Y is 8+6=14.
When presenting either a single match or multiple potential matches to the player for selection, scoring engine122may provide match description information that describes the match so that the player can make a selection based on the provided information. The match description information may include, without limitation, one or more match scores, one or more match variables, one or more coefficients, and/or other information to the user so that the user may make a selection based on the provided information. For example, an exemplary match description may include the following: likely two other clan members included in a gameplay session, 100 millisecond average latency, five-versus-five gameplay, average “good” skill level, spread of skill level, map, player styles, and/or other information.
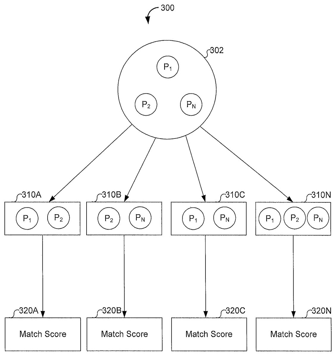
FIG. 3depicts a schematic diagram300illustrating the generation of an initial match between players, according to an implementation of the invention. Various players (P) (illustrated inFIG. 3as players P1, P2, . . . , and PN), may be waiting to be matched to start a gameplay session. For example, players (P) may be waiting in a game lobby302. The system may identify one or more potential matches310(illustrated inFIG. 3as matches310A,310B,310C, . . . ,310N) between one or more players (P). Different potential matches310may include different combinations of different players (P), which may include different numbers of players (P). The system may generate potential matches310randomly (e.g., randomly place players into a potential match), all potential matches (e.g., consider all combinations of players waiting to be matched), some subset of all potential matches (e.g., consider all combinations of within a geographic region or based on a maximum latency) and/or based on a player profile of each player (e.g., make potential matches based on preferences to be matched with friends).
In one implementation of the invention, the system may assess possible matches driven through rules or machine learning heuristics that facilitate searching various permutations of potential matches in a reasonable time. In some instances, the system may filter out certain matches using such rules or machine learning heuristics. For example, the system may filter out unfavorable matches (and matches of similar composition) and unfavorable combinations of players. In particular, if players A and B are deemed to be incompatible (as determined from one or more rules or heuristics), the system may ignore (e.g., not consider) any potential matches involving players A and B. In this manner, the search space of potential matches may be reduced.
Each potential match310may be assigned with a match score320(illustrated inFIG. 3as match scores320A,320B,320C, . . . ,320N). A potential match310may be automatically selected based on its corresponding match score320, or may be presented to players (P) involved in the potential match310for selection by each player. For example, a potential match310may be automatically selected if its corresponding match score320crosses (e.g., meets or exceeds) a threshold match score. In some instances, a potential match310may be selected to achieve higher level goals, such as higher overall aggregate scores, as described herein. Likewise, a potential match310may be provided to players (P) for selection if its corresponding match score320crosses a threshold match score. In some implementations, players (P) may be presented with a predefined number of potential matches310(e.g., the top 3 matches or the top 3 matches crossing a certain threshold match score).
FIG. 4depicts a schematic diagram400illustrating the addition of a player to a group of matched players, according to an implementation of the invention. Potential matches410(illustrated inFIG. 4as potential matches410A,410B, . . . ,410N) may be formed with existing players (P), illustrated inFIG. 4as players P1-6) who are awaiting the addition of new players to start a gameplay session. A player PNmay be waiting to matched. The system may place player PN(for scoring purposes) into each potential match410to generate a corresponding match score420(illustrated inFIG. 4as match score420A,420B, . . . ,420N). The system may automatically select a potential match410to place player PNinto or may present the potential matches410to player PNfor selection. Such automatic selection or presentation to player PNfor selection may be based on a determination of whether a corresponding match score420crosses a threshold match score. In an implementation, before player PNis placed in a potential match410, the system may request approval from existing players P1-6in that potential match. In an implementation, the system may provide the existing players P1-6and/or PNwith match scores, player profiles, and/or other information so that each player may make informed decisions about their matches.
Generating a Quality Score for Gameplay Sessions
Referring back toFIG. 1, scoring engine122may generate match scores in order to predict good quality matches that will lead to satisfying gameplay for players in a match. In order to make such predictions in a meaningful way, the system may identify match variables, coefficients, threshold scores, and/or other information that are correlated with good match quality. However, to do so may require an understanding of what constitutes “good match quality” (e.g., whether or not gameplay was satisfying).
Analytics and feedback engine124may generate a quality score for a gameplay session to obtain an understanding of what constitutes “good match quality.” The quality score may indicate a level of satisfaction by one or more players involved in a gameplay session. For example, a quality score may indicate a level of satisfaction of an individual player involved in the gameplay session, all players involved in the gameplay session, all players belonging to a particular clan or team, all players belonging to a particular role (e.g., snipers, archers, point guards, etc.), and/or others involved in the gameplay session. When relating to more than one player, a quality score may include an average, a median, and/or other cumulative statistic that represents an overall level of satisfaction of multiple players. In this manner, analytics and feedback engine124may provide an analytical framework that uses gameplay statistics and information to assess a quality of a given gameplay session as experienced by one or more players.
In some instances, analytics and feedback engine124may take into account the level of satisfaction of all the players in a given gameplay session. For instance, analytics and feedback engine124may determine that a “good match quality” is one in which each player achieved a certain level of satisfaction. In this manner, analytics and feedback engine124may assign a higher quality score to a first match in which each player achieved a certain level of satisfaction than a second match in which only some of the players achieved a high level of satisfaction but other players achieved a low level of satisfaction (even if some, but not all, of the players in the second match achieved a much higher level of satisfaction than the players in the first match). Thus, analytics and feedback engine124may help to ensure that 100% of the players of a given match have a good experience versus ensuring that 80% of the players have a great experience and 20% of the players have a bad experience.
Analytics and feedback engine124may determine a quality score based on one or more quality factors that are used to gauge whether gameplay associated with a given match was satisfying. A quality factor may include an observable metric that indicates a player's level of satisfaction with gameplay.
Examples of quality factors include, without limitation, a player quitting a match or gameplay session while other players are still playing (indicating dissatisfaction), a duration of a game session (e.g., a longer duration may indicate greater satisfaction), a gameplay performance factor (e.g., a kill-to-death ratio in a shooter game, a lap time in a racing game, etc., where greater performance may indicate greater satisfaction), a player engagement factor (e.g., a speed of player input, a level of focus as determined from camera peripherals, etc., where greater engagement may indicate greater satisfaction), a competition level of a game (e.g., whether lopsided or not, where evenly matched games may indicate greater satisfaction), a biometric factor (e.g., facial expressions, pulse, body language, sweat, etc.), explicit feedback from a player (e.g., responses to a survey), and/or other observable metrics related to gameplay.
In some implementations of the invention, analytics and feedback engine124may determine a quality score based on one or more business factors that describe a business value derived from a given gameplay session. For example, and without limitation, a business factor may include a business concern such as an amount of revenue derived from a given gameplay session (e.g., number or amount of in-game purchases, number of impressions of an advertisement or other ad-based revenue stream, etc.), a level of customer engagement, and/or other information that can be used to assess a level of value derived from a given gameplay session. It should be noted that analytics and feedback engine124may generate a quality score based on a combination of one or more quality factors and one or more business or customer engagement factors may be used as well.
Training the Quality Scoring System and Adjusting the Threshold Quality Score
Analytics and feedback engine124may identify quality factors that correlate with an a priori (accepted as true) quality of a gameplay session. For example, and without limitation, explicit feedback from a player may serve as an a priori quality of a gameplay session. In this example, analytics and feedback engine124may identify quality factors that correlate with explicit feedback from a player. In a particular example, analytics and feedback engine124may determine that long game sessions (e.g., game sessions that exceed a predefined amount of time) strongly correlate with explicit feedback from players that indicate they enjoyed their respective gameplay sessions. On the other hand, using the same or different explicit feedback, analytics and feedback engine124may determine that a competition level is not correlated to the quality of the gameplay session. By analyzing various gameplay sessions over time, analytics and feedback engine124may identify relevant quality factors that reflect a true quality of gameplay sessions.
In a similar manner, analytics and feedback engine124may determine a threshold quality score that should be used to identify good quality gameplay sessions. A threshold quality score may be used as a cutoff to determine which quality scores represent “good quality” gameplay sessions (and therefore matches associated with those gameplay sessions). For example, based on a priori information regarding quality (e.g., explicit player feedback), analytics and feedback engine124may identify a minimum quality score that correlates with a good quality gameplay session and use the minimum quality score as a basis for the threshold quality score. By analyzing various gameplay sessions over time, analytics and feedback engine124may continually refine the quality threshold score.
A quality score may be used to profile games that result in satisfying gameplay, profile players to determine their interests, and/or fine tune match scores. In this sense, the quality scoring system may provide an analytical framework in which to assess information that results in satisfying gameplay and in particular to identify matches that should be made.
Generating Game and Player Profiles
Analytics and feedback engine124may generate a game profile for a gameplay session based on gameplay information, which may be monitored and/or otherwise obtained by analytics and feedback engine124. Gameplay information may describe various game characteristics of a gameplay session that may influence the quality of gameplay. For example, gameplay information may include, without limitation, a number of players, types of roles (e.g., snipers), types of in-game items used or purchased (e.g., weapons, vehicles, armor, custom suits, custom paint, tires, engine modifications, etc.), composition of teams or clans (e.g., number and/or types of roles in each clan), maps or game levels played (e.g., battle zones, racetracks, sporting arenas, etc.), duration of gameplay (e.g., how duration of a given gameplay session), player skill levels, player styles (e.g., aggressive, prefers to be a sniper, etc.), and/or other information related to a gameplay session.
A game profile may be specific for a given gameplay session (e.g., different game profiles may be associated with different gameplay sessions) and/or may be used to generate a broader game profile for a particular game (e.g., different games may be associated with different game profiles). In this manner, a given game or gameplay session may be characterized using a game profile.
Analytics and feedback engine124may likewise generate a player profile for a player based on player information. The player information may be monitored and/or otherwise obtained by analytics and feedback engine124. The player information may describe various characteristics of a player, which may be used to assess whether the player will enjoy a given gameplay session, a match, and/or a game.
For example, player information may include, without limitation, a style of gameplay (e.g., aggressive), a role preference (e.g., an explicit indication by the player of such preference), a role actually played, a duration of gameplay sessions, a number of gameplay sessions played in a given login session, in-game items used or purchased by the player, membership in a clan or team, preference to play with clan mates or friends, demographic information of the player (e.g., geographic location, gender, income level, etc.), win/loss records, scores, and/or other information that may be used to determine whether a player will enjoy a given gameplay session, a match, and/or a game.
Information from a player profile may be indexed by time. For example, the foregoing player information may include all player information known about a player, a subset of all information (e.g., information related to the last day, week, month, previous “N” number of game sessions, login sessions, etc.). In this manner, a player profile may relate to all-time gameplay of the player, recent gameplay of the player, time of day (e.g., a player may be associated with different player profiles at different times of the day, such as having an aggressive play style during evening hours and a more relaxed play style during morning hours), and/or other subset.
The game profiles, the player profiles, and/or other information described herein may, for example, be stored in one or more profile databases, such as a database160.
Applying the Game Profiles, Player Profiles, and Quality Scores to Tune Match Scores
Analytics and feedback engine124may correlate information from a game and/or player profile with quality scores determined for a gameplay session. For example, a game profile may include certain characteristics that are correlated with a high quality gameplay session. For a given game, a particular combination of role types (e.g., four snipers, six run-and-gunners, and four resource campers) for a gameplay session may be correlated with high quality scores, indicating that the players involved in the given gameplay session enjoyed playing the game.
Using such correlations, analytics and feedback engine124may drive the tuning of match variables and/or coefficients. For example, analytics and feedback engine124may determine that types of roles are important considerations when matchmaking and therefore scoring engine122should use and assign a high coefficient to match variables related to types of roles. In particular, scoring engine may make matches based on a clan composition of different types of roles, as informed by the correlation of the composition of roles to quality scores.
Other information from game profiles and/or player profiles may be used as well. Furthermore, different permutations and combinations of game profile and player profile information may be correlated with quality scores so that matches align with high quality scores. For example, a combination of types of game maps and player styles may be correlated with high quality scores based on observations of gameplay sessions having different game maps and player styles. The combination may be used to identify match variables and/or tune coefficients in a manner that leads to higher match scores for matches that include the combination of game maps and player styles. In this manner, analytics and feedback engine124may provide an automated process to provide feedback on match score generation. In particular, analytics and feedback engine124may identify match variables that are important indicators of match quality and tune coefficients in a manner that more accurately predicts match quality.
In an implementation, using subsets of the player profile information, analytics and feedback engine124may tune matchmaking in real-time for a given player. For example, if a player is determined to be on a losing streak within the past several gaming sessions, analytics and feedback engine124may cause a coefficient related to player skill level to become more important. This may result in, for example, the player being pitted against lower-skilled opponents and/or teamed with higher-skilled players to increase the chance that the player will win or otherwise perform better.
Making Soft Reservations for Subsequent Gameplay Sessions
According to an aspect of the invention, pipelining engine126may generate one or more “soft reservations” for a player based on a match score, a game profile, a player profile, and/or other information. A soft reservation may comprise a match between two or more players for one or more subsequent gameplay sessions that are reserved for the players. The match may be generated as described herein (e.g., based on match scores exceeding a threshold match score). Pipelining engine126may anticipate an interest in a subsequent gameplay session (e.g., based on a game profile and/or a player profile) and make a soft reservation for two or more players. For example, a soft reservation may be generated before the players have expressed an interest in the subsequent gameplay sessions.
For example, and without limitation, pipelining engine126may analyze a game progression of a player (e.g., which may be stored in a player profile) and predict a game mode (e.g., capture the flag) that will likely interest the player. Pipelining engine126may then make a soft reservation for the player for a gameplay session that includes the game mode.
In another example, pipelining engine126may determine whether clan members or friends of a given player have logged on. Upon obtaining information that indicates that a player's clan members or friends have logged on and that the player prefers to play with clan members or friends, pipelining engine126may make a soft reservation for the player to play in a subsequent gameplay session with the clan members or friends.
In an implementation, pipelining engine126may continuously place players who are currently logged on and/or playing in a gameplay session into potential matches, assess the potential matches as described herein, and make soft reservations for potential matches having match scores that exceed a match threshold score. For example, pipelining engine126may match a player who is already playing in a current gameplay session so that the player may join a subsequent gameplay session when the current gameplay session ends (e.g., the player completes the gameplay session and then joins the future gameplay session) or is otherwise exited by the player (e.g., the player quits the current gameplay session early to join the subsequent gameplay session). In this manner, a player may be pre-matched with other players for a subsequent gameplay session while the player is still playing in a current gameplay session.
In some instances, a match score for a player may be influenced by soft reservations. For instance, a player for whom a soft reservation has been made for a gameplay session that starts in ten minutes may be preferentially placed in a match for a second gameplay session that is expected to last less than ten minutes. In this example, the system may score matches for which gameplay sessions are expected to last less than ten minutes higher than those that are expected to last more than ten minutes (or otherwise eliminate any potential matches associated with gameplay sessions expected to last greater than ten minutes).
In an implementation, pipelining engine126may make a soft reservation for a player who has not yet logged on based on a history of previous logins. For example, if a given player is observed to login to play in one or more gameplay sessions at a certain time, pipelining engine126may predict that the given player will login at the certain time and make a soft reservation for the given player. In this manner, pipelining engine126may predict when a given player will login and make a soft reservation for the given player before the given player logs in such that a time to wait to be matched is minimized.
Managing the Start of Gameplay Sessions Associated with Soft Reservations
Once a soft reservation has been made, a player may be invited to join an associated gameplay session. The player may accept the invitation, in which case the player may start playing in the gameplay session. On the other hand, if the player rejects the invitation, then other players may be invited to join the gameplay session to replace the player. Such acceptances and rejections may be added to a player profile so that future soft reservations may be fine-tuned based on acceptances (which may indicate a relevant soft reservation was made) and rejections (which may indicate a non-relevant soft reservation was made).
Because a player may reject an invitation to join a gameplay session associated with a soft reservation, pipelining engine126may make soft reservations for a number of players that exceeds a maximum number allowed by a given gameplay session. For example, if a maximum number players in a clan for a gameplay session is ten, pipelining engine126may make a soft reservation for a greater number of players (e.g., fifteen) for the gameplay session. In this manner, pipelining engine126may expect a certain number (e.g., five in the foregoing example) of rejections to be made and may therefore “overbook” the number of soft reservations (hereinafter, “overbook number”).
An overbook number may be predefined or automatically determined based on a game profile, a player profile, and/or other information. For example, certain game modes, games, players, etc., may be associated with a propensity to accept soft reservations than others. Pipelining engine126may monitor such tendencies over time to dynamically adjust the overbook number for a game mode, a game, a player, etc.
In one implementation, pipelining engine126may score players for which a soft reservation has been made (for a gameplay session) such that top-scored players are invited first to join the gameplay session. The scoring may be based on respective match scores for each player (e.g., players having the highest match scores will be scored higher).
In an implementation, a player for which a soft reservation has been made (for a gameplay session) may be added to the gameplay session “in progress” (after it has started). For example, a player who has a soft reservation for a particular gameplay session may join the particular gameplay session after the player's current gameplay session is over. In this manner, the particular gameplay session may be reserved for the player even after the gameplay session has started. In other instances, a soft reservation for a player may be cancelled if the player is unavailable (e.g., still playing in another gameplay session, is logged off, etc.) when a gameplay session for which the soft reservation relates has started or is about to start. In this manner, other players may be matched to play in the gameplay session.
Pipelining engine126may require a player to join the particular gameplay session within a predefined time after the particular gameplay session has started. In this manner, the particular gameplay session may be reserved for the player for only a limited time. After the expiration of the predefined time, pipelining engine126may remove the soft reservation for the player. To fill the opening (resulting from removal of the player), pipelining engine126may invite or otherwise allow another player (who may or may not have a soft reservation) to join the particular gameplay session.
In an implementation, allowing a player to join after the gameplay session has started and/or allowing other players to join the particular gameplay session to fill any openings may be subject to approval by players who have joined the gameplay session. For example, pipelining engine126may present a prompt to the other players (e.g., via their individual game UI), who may allow or disallow such delay and/or addition.
Scheduling Gameplay Sessions to Minimize Wait Times
A player waiting to be matched into a future gameplay session may be required to wait for the future gameplay session to start. For example, a first player who prefers to play with friends may prefer to wait to be matched with friends, instead of being placed into a gameplay session with only strangers. If the two friends of the first player are currently playing in a gameplay session, which has not yet completed, pipelining engine126may make a soft reservation for the three players to play together in a future gameplay session.
In the meantime, the first player can continue to wait until the two friends are available or may join a gameplay session that pipelining engine126determines will likely finish at approximately the same time that the two friends' gameplay session is expected to finish. For example, pipelining engine126may determine that the two friends will complete their gameplay session in ten minutes and may match the first player into a gameplay session that is expected to be complete in ten minutes. In this manner, all three friends may be expected to become available at around the same time.
In one implementation, pipelining engine126may coordinate the gameplay sessions for multiple players so that they synchronize to start a subsequent gameplay session (with soft reservations made for each of the players for the subsequent gameplay session). For example, continuing with the foregoing example (in which a player is waiting to be matched with two friends), a first friend's current gameplay session may be expected to end in five minutes, while the second friend's current gameplay session is expected to end in ten minutes. Pipelining engine126may place the player into a gameplay session expected to last ten minutes, place the first friend into a gameplay session expected to last five minutes after the first player's gameplay session is over, and wait for the second friend's gameplay session to end in ten minutes. In this manner, multiple players may be synchronized to start a subsequent gameplay session.
In an implementation, pipelining engine126may match the first player into a temporary gameplay session with other players who are similarly waiting until their respective future gameplay sessions have started (e.g., when their soft reservations become available). The temporary gameplay session may be such that players may enter and leave at any time so that they may play until their soft reservations become available. Matchmaking for such temporary gameplay sessions may be performed as described herein (e.g., using match scores, game profiles, player profiles, etc.). For example, a temporary gameplay session may include a practice mode area, where game statistics and skill ratings may or may not be affected by gameplay.
In another example, a player may prefer to play a particular type or mode of a game that requires a certain number of players for a match to be made, but the number of currently available players is insufficient. Such preference may be explicitly made by the player and/or be based on a player profile. Pipelining engine126may match the player in a gameplay session that is predicted to end when the certain number of players is expected to become available (e.g., based on expected end times of current gameplay sessions for other players, expected number of logons by suitable players who will be able to join the gameplay session, etc.). In an implementation, pipelining engine126may place the player into a temporary gaming session described herein until the number of currently available players becomes sufficient.
The number of subsequent gameplay sessions that are “soft” reserved for a player may be based on the expected total logon time for the player (e.g., how long the player is expected to stay logged on) based on a player profile, an expected duration of each of the subsequent gameplay sessions that are scheduled, and/or other information.
Influencing Game-related Purchases Through Targeted Matchmaking
According to an aspect of the invention, microtransaction engine128may arrange matches to influence game-related purchases. Game-related purchases may include an acquisition by a player of an item in exchange for a fee, such as a real currency fee, a virtual currency fee, and/or other type of fee. The item may include an in-game item (e.g., a power-up, virtual weaponry, a virtual vehicle, an extra life, an extended life, etc.), a new level or map, and/or other item that may be used in relation to a game.
For example, microtransaction engine128may match a more expert/marquee or otherwise influential player (e.g., clan leader) with a junior player to encourage the junior player to make game-related purchases. A junior player may wish to emulate a marquee player by obtaining weapons or other items used by the marquee player. Other types of pairings and/or other groupings of players may be used as well.
Microtransaction engine128may analyze various items used by marquee players and, if at least one of the items is currently being offered for sale (with or without a promotion), match the marquee player with another player (e.g., a junior player) that does not use or own the item. Similarly, microtransaction engine128may identify items offered for sale, identify marquee players that use or possess those items, and match the marquee players with other players who do not use or possess those items. In this manner, microtransaction engine128may leverage the matchmaking abilities described herein to influence purchase decisions for game-related purchases.
In an implementation, microtransaction engine128may target particular players to make game-related purchases based on their interests. For example, microtransaction engine128may identify a junior player to match with a marquee player based on a player profile of the junior player. In a particular example, the junior player may wish to become an expert sniper in a game (e.g., as determined from the player profile). Microtransaction engine128may match the junior player with a player that is a highly skilled sniper in the game. In this manner, the junior player may be encouraged to make game-related purchases such as a rifle or other item used by the highly skilled sniper.
In an implementation, when a player makes a game-related purchase, microtransaction engine128may encourage future purchases by matching the player (e.g., using matchmaking described herein) in a gameplay session that will utilize the game-related purchase. Doing so may enhance a level of enjoyment by the player for the game-related purchase, which may encourage future purchases. For example, if the player purchased a particular weapon, microtransaction engine128may match the player in a gameplay session in which the particular weapon is highly effective, giving the player an impression that the particular weapon was a good purchase. This may encourage the player to make future purchases to achieve similar gameplay results.
In an implementation, UI engine130may provide a match interface used to interact with match information. For example, a player may tune coefficients using the interface, select potential matches to join (which may include match description information such as match scores, clan compositions, etc.), and/or interact with match information. Through the match interface, a player may be provided with a list of one or more potential matches that may be selected by the player. The list may be ranked according to a match score. The player may select a potential match (and enter a gameplay sessions associated with the selected match) or wait until other potential matches are provided/become available.
The match interface may be provided to the player upon entry into a lobby room, by request, and/or responsive to other inputs.
Clan Formation and Management of Non-Player Characters (“NPCs”)
The matchmaking systems and methods herein may be used in contexts in addition to or other than for matching players for a given gameplay session. For example, matchmaking described herein may be applied to clan formation, management of non-player characters (“NPCs”), and/or other applications.
The matchmaking described herein may be used to suggest clans or teams. For example, one or more players may wish to form or join a clan for a given game, but not know what would be an appropriate mix of player styles, player roles, skill levels, and/or other player characteristics that would make an optimal clan, given the player's own characteristics.
The system may identify optimal clan composition based on matchmaking-related information such as, without limitation, a game profile, a player profile (e.g., explicit preferences, purchases made, player styles, player geography, player historical play schedules, etc.), prior match scores, prior quality scores, and/or other information. Optimal clans may be those that have performed successfully (e.g., accomplished the most wins, objectives, etc.), are associated with the highest player enjoyment (e.g., based on quality scores), play together most frequently, and/or are otherwise deemed to be desirable.
The matchmaking described herein may be used to manage NPCs. For example, the system may be used to select/generate a NPC to fill a gap in a clan or team (e.g., a sniper-style NPC), generate a team or clan of NPCs, analyze NPCs post-game to identify successful NPCs, and/or perform other actions with respect to NPCs.
The system may identify a gap in a number of players required for a given gameplay session, such as in a game that requires ten players in a clan, but only nine (or less) human players have joined. In this case, the system may assign one or more NPCs to play along with the human players in the clan. The system may generate potential matches between the human players who have joined and potential NPCs to fill the gaps. The system may score each potential match and select NPCs that are associated with the highest match scores. For example, in a game in which the system has determined that five snipers and five run-and-gunners represent an optimal mix of player roles, the system may select NPCs to fill gaps such that the desire combination of five snipers and five run-and-gunners is achieved to the extent possible (because potential matches having this ratio will have higher match scores).
The system may identify one or more NPCs to serve as an opponent to one or more human players. For example, a combination of NPCs having higher match scores where coefficients related to performance are highly weighted may represent a “more difficult” to beat opponent than those with lower match scores. The system may therefore dynamically select NPC opponents based on match scores and an appropriate level of difficulty to be provided to the player (e.g., more skilled players may be presented with NPCs having higher match scores).
The system may generate NPC profiles analogous to player profiles. In this manner, the system may analyze NPCs in a manner similar to player analysis. The system may therefore continually improve NPC performance and selection based on NPC profiles, which may take into account NPC logic, strategy, and/or other NPC characteristics.
FIG. 5depicts a process500of providing statistical matchmaking for multiplayer video games, according to an implementation of the invention. The various processing operations and/or data flows depicted inFIG. 5(and in the other drawing figures) are described in greater detail herein. The described operations may be accomplished using some or all of the system components described in detail above and, in some implementations, various operations may be performed in different sequences and various operations may be omitted. Additional operations may be performed along with some or all of the operations shown in the depicted flow diagrams. One or more operations may be performed simultaneously. Accordingly, the operations as illustrated (and described in greater detail below) are exemplary by nature and, as such, should not be viewed as limiting.
In an operation502, a potential match may be determined. The potential match may include two or more players that may be grouped to play in a gameplay session.
In an operation504, a match variable related to a potential match may be obtained. A match variable may relate to at least one player's characteristic that may influence whether a player enjoys gameplay while placed in a match. The value of a match variable may be quantified in a normalized manner. For example, a given match variable may be assigned with a value that ranges from, without limitation, 1 to 10. In the examples that follow, 10 will be considered the “best” value and 1 will be considered the “worst” value—although the converse may be true and other values may be used as well. Furthermore, the examples of latency and player preference will be used, although other match variables may be (and typically are) used as well.
A value of a match variable may refer to the potential match as a whole, which may be determined differently for different match variables. For example, a latency match variable may describe an average latency of all players in a potential match such that different ranges of latency are assigned with values ranging from 0 to 10. High latency times (e.g., longer delays) may be associated with a value closer to (or at) 0, while low latency times (e.g., shorter delays) may be associated with a value closer to (or at) 10. The particular arrangement of such values may be predefined and/or tuned as described herein.
In another example, a value for a player preference match variable may be assigned with a value that depends on whether preferences of each of the players in a potential match are fulfilled by the potential match. For example, if all player preferences have been fulfilled (e.g., they will play in the potential match as a player role that they each prefer), then the value for the player preference match variable may be set to 10, while if no player preferences have been fulfilled, then the player preference match variable may be set to zero. The range between zero and 10 may be determined in various ways, such as being dependent on a number of players in the potential match whose player preferences have been fulfilled.
In this manner, each match variable may be associated with a normalized value in order to generate an overall match score for the potential match.
In an operation506, one or more coefficients may be obtained and applied to the match variables. For example, each match variable may be associated with its corresponding coefficient, which may be defined by game developer, defined by a player, tuned automatically by the system, and/or otherwise defined using a value. The coefficient may be applied to its corresponding match variable to weight, or determine a relative importance of, the corresponding match variable. The coefficient may be expressed as a fraction, a multiplier, and/or other manner to indicate a relative importance of a match variable.
For example, the coefficient may be expressed as a fraction of one such that a sum of all coefficients for all match variables equals one. Assuming only two equally-weighted match variables are used (although other numbers of match variables may be and are typically used), each coefficient may be assigned with a value of 0.5 (e.g., one-half). If a first match variable is three times as important as a second match variable, a first coefficient associated with the first match variable may be assigned with a value of 0.75 while a second coefficient associated with the second match variable may be assigned with a value of 0.25. In this manner, the value of match variables may be weighted with respect to one another.
In an operation508, a weighted value may be determined for a match variable based on the value of the match variable and its coefficient.
In an operation510, a determination of whether more match variables are to be considered may be made. If more match variables are to be considered, processing may return to operation504, where the next match variable to considered may be obtained.
In an operation512, responsive to a determination that no more match variables are to be considered, a match score for the potential match may be determined based on the weighted values of the match variables. Continuing the foregoing example, a given match score may range from zero to ten. For example, if a latency score is 8 and its coefficient is 0.75, then the weighted value for latency may be 6 (8×0.75). If a player preference score is 4 and its coefficient is 0.25, then the weighted value for player preference may be 1 (4×0.25). The overall match score may be 7 (6+1).
In implementations where a player may tune coefficients, a match score may be custom-generated for that player (because of the use of coefficients specific for that player). Other players in the potential match may be provided with their own custom match scores if they tuned the coefficients as well. Otherwise, a system and/or game provided coefficient may be used.
In an operation514, a determination of whether the match score crosses a predetermined match score threshold may be made. If the match score does not cross the predetermined match score threshold, then the potential match may no longer be considered in an operation516. On the other hand, if the match score crosses the predetermined match score threshold, then the potential match may be automatically selected or provided to the player(s) in the potential match for selection in an operation518. In an implementation, processing may then proceed to portion “A” of process600, which is illustrated inFIG. 6. Referring to operations514,516, and518, in an alternative implementation, a predefined number of potential matches or all potential matches (regardless of whether they cross a predetermined match score threshold) may be provided to a player for selection.
FIG. 6depicts a process600of analyzing matchmaking scores and feedback to fine tune the matchmaking process, according to an implementation of the invention. The various processing operations and/or data flows depicted inFIG. 6(and in the other drawing figures) are described in greater detail herein. The described operations may be accomplished using some or all of the system components described in detail above and, in some implementations, various operations may be performed in different sequences and various operations may be omitted. Additional operations may be performed along with some or all of the operations shown in the depicted flow diagrams. One or more operations may be performed simultaneously. Accordingly, the operations as illustrated (and described in greater detail below) are exemplary by nature and, as such, should not be viewed as limiting.
In an operation602, one or more quality factors may be obtained in relation to a selected match (e.g., a match that has been used to initiate a gameplay session). A quality factor may include an observable metric that indicates a player's level of satisfaction with gameplay. The one or more quality factors may be obtained during a gameplay session associated with the selected match to assess a quality of the match during gameplay and/or after the gameplay session has been completed. Each quality factor may be normalized on some predetermined scale (e.g., having values ranging from zero to 10).
In an operation604, a quality score may be generated based on the one or more quality factors. For example, the one or more quality factors may be summed (or otherwise calculated) to obtain a quality score.
In an operation606, a determination of whether the quality score crosses a threshold quality score may be made.
In an operation608, if the quality score does not cross a threshold quality score, a determination that a quality of the match was poor (e.g., undesirable) may be made. In other words, a match may be determined to be unsatisfying for the players involved in the match based on observations and/or analysis of objective metrics associated with a gameplay session for which the match was made. In some instances, a quality score for each individual player in a given session may be generated (as described herein with respect to generating quality scores) and assessed. In this example, individual player statistics may be analyzed for each given match (which may be aggregated with other individual player statistics from other matches). As such, players in a given match may be assessed as a unit and/or individually.
In an implementation, a threshold score may not be used. Instead, one or more ranges of values may correspond to different levels of “poor” quality matches and/or one or more ranges of values may correspond to different levels of “good” quality matches.
In an operation610, one or more match variables and/or one or more coefficients used to generate a match score for the match may be identified and correlated with a poor quality match. In this manner, process600may identify match variables and/or coefficients that tend to result in poor quality matches.
Returning to operation606, if the quality score crosses a threshold quality score, a determination that a quality of the match was good (e.g., desirable) may be made in an operation612. In other words, a match may be determined to be satisfying for the players involved in the match based on observations and/or analysis of objective metrics associated with a gameplay session.
In an operation614, one or more match variables and/or one or more coefficients used to generate a match score for the match may be identified and correlated with a good quality match. In this manner, process600may identify match variables and/or coefficients that tend to result in good quality matches.
In an operation616, the one or more variables and/or the one or more coefficients may be tuned based on whether each are associated with a poor quality match or a good quality match. In addition, a level of tuning may be based on a level of poor quality or a level of good quality.
FIG. 7depicts a process700of scheduling gaming sessions, according to an implementation of the invention. The various processing operations and/or data flows depicted inFIG. 7(and in the other drawing figures) are described in greater detail herein. The described operations may be accomplished using some or all of the system components described in detail above and, in some implementations, various operations may be performed in different sequences and various operations may be omitted. Additional operations may be performed along with some or all of the operations shown in the depicted flow diagrams. One or more operations may be performed simultaneously. Accordingly, the operations as illustrated (and described in greater detail below) are exemplary by nature and, as such, should not be viewed as limiting.
In an operation702, first availability information for a first player may be obtained. The first availability information may indicate a time and/or date that a first player will be available to join a gameplay session. For example, the first availability information may include, without limitation, information indicating that the first player is: waiting to be matched, not yet logged on but predicted to login at the indicated time/date, is currently playing in a gameplay session that is expected to end at the indicated time/date, and/or will otherwise become available.
In an operation704, a subsequent gameplay session that is relevant to (e.g., will likely interest) the first player may be identified based on a game profile, a player profile, and/or other information.
In an operation706, a soft reservation may be made for the first player to play in the subsequent gameplay session.
In an operation708, second availability information for a second player who may be interested in playing with the first player and/or playing in the subsequent gameplay session may be obtained. Similar to the first availability information, the second availability information may indicate a time and/or date that a second player will be available to join a gameplay session. The second player's interest in playing with the first player and/or in the subsequent gameplay session may be determined based on a game profile, a player profile, and/or other information.
In an operation710, a soft reservation may be made for the second player to play in the subsequent gameplay session.
In an operation712, a determination of whether the first player and the second player will become available at the same time (e.g., when the subsequent gameplay session is set to start) may be made.
In an operation714, responsive to a determination that the first player and the second player will not become available at the same time (and at least one of the players will become available before the other), an interim gameplay session may be provided to whichever player becomes available to occupy the player until the other player becomes available. Processing may return to an operation712, where a determination of whether the first player and the second player will become available at the same time is made.
In an operation716, responsive to a determination that the first player and the second player will become available at the same time, the first and second players may be invited to accept the soft reservation (e.g., start a gameplay session associated with the soft reservation).
FIG. 8depicts a process800of influencing in-game purchases through targeted matchmaking, according to an implementation of the invention. The various processing operations and/or data flows depicted inFIG. 8(and in the other drawing figures) are described in greater detail herein. The described operations may be accomplished using some or all of the system components described in detail above and, in some implementations, various operations may be performed in different sequences and various operations may be omitted. Additional operations may be performed along with some or all of the operations shown in the depicted flow diagrams. One or more operations may be performed simultaneously. Accordingly, the operations as illustrated (and described in greater detail below) are exemplary by nature and, as such, should not be viewed as limiting.
In an operation802, an in-game item that may be relevant for (e.g., of interest to) a first player may be identified. The in-game item may be identified based on a preference of the first player (e.g., a desire to play as a sniper may cause sniper weapons to be identified), and/or a usefulness to a player (e.g., an in-game item that may be suited for a particular level that the player has repeatedly failed may be identified).
In an operation804, a second user that has acquired (e.g., purchased), used, or otherwise possesses the in-game item may be identified.
In an operation806, a value of a match variable and/or a coefficient related to the match variable may be tuned to cause a match score between the first player and the second player to increase (or otherwise indicate a good match) to thereby increase a likelihood (or guarantee) that the first player and the second player will be matched.
In an operation808, the first player and the second player may be matched based on the match score such that the first player and the second player play in a gameplay session.
In an operation810, a determination of whether the first player purchased the in-game item may be made. For example, process800may monitor the activity of the first player during and/or after the gameplay session or otherwise obtain purchase information of the first player.
In an operation812, responsive to a determination that the first player purchased the in-game item, the player profile may be updated to reflect the purchase and the first player may be matched (e.g., match variables and/or coefficients tuned) to play a second gameplay session in which the in-game item is suitable to be used. For example, if the in-game item is a weapon (e.g., an accurate and powerful sniper rifle), the second gameplay session may be selected because the weapon is highly effective in the second gameplay session. Doing so may encourage the first player to make subsequent purchases due to the satisfaction of effectively using the in-game item during the second gameplay session.
In an operation814, responsive to a determination that the first player did not purchase the in-game item, the player profile may be updated to reflect such non-purchase so that future targeted marketing of in-game items and other game-related purchases may be adjusted based on what has not been successful at enticing a given player to make a game-related purchase.
Other implementations, uses and advantages of the invention will be apparent to those skilled in the art from consideration of the specification and practice of the invention disclosed herein. The specification should be considered exemplary only, and the scope of the invention is accordingly intended to be limited only by the following claims.
Claims
- A computer implemented method of matchmaking players for gameplay sessions, the method being implemented in a host computer having one or more physical processors programmed with computer program instructions that, when executed by the one or more physical processors, cause the host computer to perform the method, wherein said host computer is in data communication with a plurality of computing devices and wherein each of said plurality of computing devices is configured to interact with an instance of a multiplayer video game, the method comprising: identifying, by the host computer, a potential match of at least a first player and a second player to be placed in a gameplay session to play said multiplayer video game;obtaining, by the host computer, a plurality of match variables used to assess the potential match, the plurality of match variables including at least a first match variable;obtaining, by the host computer, a plurality of coefficients used to provide weights to corresponding ones of the plurality of match variables, the plurality of coefficients including at least a first coefficient corresponding to the first match variable, wherein the first coefficient comprises a first default value;changing the first default value to a first tuned value;generating, by the host computer, a match score for the potential match based on the first match variable and the first coefficient having the first tuned value;determining, by the host computer, whether the first player and the second player should be placed in the gameplay session based a comparison of the match score to an adjusted threshold match score, wherein the adjusted threshold match score is generated by obtaining, using the host computer, at least a first wait time that indicates an amount of time that the first player has been waiting to be matched, adjusting, using the host computer, a threshold match score based on the first wait time, and comparing, by the host computer, the match score to the adjusted threshold match score;and causing, by the host computer, the first player and the second player to be placed in the gameplay session responsive to a determination that the first player and the second player should be placed in the gameplay session.
- The method of claim 1 , wherein the plurality of match variables includes a second match variable and the plurality of coefficients includes a second coefficient corresponding to the match variable, the method further comprising: changing a second default value of the second coefficient to a second tuned value, wherein the change from the first default value to the first tuned value comprises a decrease to de-emphasize the first match variable and the change from the second default value to the second tuned value comprises an increase to emphasize the second match variable.
- The method of claim 1 , the method further comprising: receiving a first gameplay preference of a first player, wherein the first default value is changed to the first tuned value responsive to the first gameplay preference.
- The method of claim 3 , wherein the first gameplay preference is received from the first player.
- The method of claim 3 , wherein the first gameplay preference is obtained from a first player profile associated with the first player, wherein the first player profile is generated based on a historical gameplay of the first player.
- The method of claim 3 , wherein the first gameplay preference relates to a preference to play with preferred players, the method further comprising: causing one or more match scores for one or more potential matches to be adjusted higher based on the first tuned value to increase a likelihood that the first player is matched with one or more preferred players.
- The method of claim 3 , wherein the first gameplay preference relates to a preference to play as a particular role, the method further comprising: causing one or more match scores for one or more potential matches to be adjusted higher based on the first tuned value to increase a likelihood that the first player is matched to play as the particular role.
- The method of claim 1 , the method further comprising: identifying a change in circumstance related to gameplay, wherein the change from the first default value to a first tuned value is made responsive to the change in circumstance.
- The method of claim 8 , wherein the change in circumstance is associated with a poor performance of the first player during gameplay, the method further comprising: causing one or more match scores for one or more potential matches to be adjusted higher based on the first tuned value to increase a likelihood that the first player is matched with an easier opponent and/or higher skilled team mates.
- The method of claim 8 , wherein the change in circumstance relates to a length of time that the first player has waited to be matched, the method further comprising: causing one or more match scores for one or more potential matches to be adjusted higher based on the first tuned value to increase a likelihood that the first player is matched in a less amount of time compared to the first default value.
- The method of claim 1 , the method further comprising: obtaining one or more quality factors used to assess player satisfaction of the gameplay session;and determining a quality of the gameplay session based on the one or more quality factors.
- The method of claim 11 , the method further comprising: correlating the first match variable and/or the first coefficient with the quality of the gameplay session;and tuning the first coefficient based on the correlation, wherein the tuned first coefficient is used to match the first player and/or the second player in a subsequent gameplay session.
- The method of claim 1 , wherein the first match variable comprises: a latency between the first player and the second player, a player skill level, a team composition, a presence or absence of preferred players, the first wait time that indicates the amount of time that the first player has been waiting to be matched, a location of the player, and/or one or more explicit user preferences received from the first player.
- A system of matchmaking players for gameplay sessions, the system comprising: a host computer, wherein said host computer is in data communication with a plurality of computing devices, wherein each of said plurality of computing devices is configured to interact with an instance of a multiplayer video game and wherein said host computer has one or more physical processors programmed by computer program instructions that, when executed, cause the host computer to: identify a potential match of at least a first player and a second player to be placed in a gameplay session to play said multiplayer video a game;obtain a plurality of match variables used to assess the potential match, the plurality of match variables including at least a first match variable and a second match variable;obtain a plurality of coefficients used to provide weights to corresponding ones of the plurality of match variables, the plurality of coefficients including at least a first coefficient corresponding to the first match variable and a second coefficient corresponding to the second match variable, wherein the first coefficient comprises a first default value;change the first default value to a first tuned value;change a second default value of the second coefficient to a second tuned value, wherein the change from the first default value to the first tuned value comprises an increase to emphasize the first match variable and the change from the second default value to the second tuned value comprises a decrease to de-emphasize the second match variable;generate a match score for the potential match based on the first match variable and the first coefficient having the first tuned value;determine whether the first player and the second player should be placed in the gameplay session based on the match score;and cause the first player and the second player to be placed in the gameplay session responsive to a determination that the first player and the second player should be placed in the gameplay session.
- The system of claim 14 , wherein to determine whether the first player and the second player should be placed in the gameplay session based on the match score, the host computer is programmed to: obtain at least a first wait time that indicates an amount of time that the first player has been waiting to be matched;adjust a threshold match score based on the first wait time;and compare the match score to the adjusted threshold match score.
- The system of claim 14 , wherein the host computer is further programmed to: receive a first gameplay preference of a first player, wherein the first default value is changed to the first tuned value responsive to the first gameplay preference.
- The system of claim 16 , wherein the first gameplay preference is received from the first player.
- The system of claim 16 , wherein the first gameplay preference is obtained from a first player profile associated with the first player, wherein the first player profile is generated based on a historical gameplay of the first player.
- The system of claim 16 , wherein the first gameplay preference relates to a preference to play with preferred players, wherein the host computer is further programmed to: cause one or more match scores for one or more potential matches to be adjusted higher based on the first tuned value to increase a likelihood that the first player is matched with one or more preferred players.
- The system of claim 16 , wherein the first gameplay preference relates to a preference to play as a particular role, wherein the host computer is further programmed to: cause one or more match scores for one or more potential matches to be adjusted higher based on the first tuned value to increase a likelihood that the first player is matched to play as the particular role.
- The system of claim 14 , wherein the host computer is further programmed to: identify a change in circumstance related to gameplay, wherein the change from the first default value to a first tuned value is made responsive to the change in circumstance.
- The system of claim 21 , wherein the change in circumstance is associated with a poor performance of the first player during gameplay, wherein the host computer is further programmed to: cause one or more match scores for one or more potential matches to be adjusted higher based on the first tuned value to increase a likelihood that the first player is matched with an easier opponent and/or higher skilled team mates.
- The system of claim 21 , wherein the change in circumstance relates to a length of time that the first player has waited to be matched, wherein the host computer is further programmed to: cause one or more match scores for one or more potential matches to be adjusted higher based on the first tuned value to increase a likelihood that the first player is matched in a less amount of time compared to the first default value.
- The system of claim 14 , wherein the host computer is further programmed to: obtain one or more quality factors used to assess player satisfaction of the gameplay session;and determine a quality of the gameplay session based on the one or more quality factors.
- The system of claim 24 , wherein the host computer is further programmed to: correlate the first match variable and/or the first coefficient with the quality of the gameplay session;and tune the first coefficient based on the correlation, wherein the tuned first coefficient is used to match the first player and/or the second player in a subsequent gameplay session.
- The system of claim 14 , wherein the first match variable comprises: a latency between the first player and the second player, a player skill level, a team composition, a presence or absence of preferred players, a time that the first player has waited to be matched, a location of the player, and/or one or more explicit user preferences received from the first player.
- A computer readable non-transitory medium storing computer program instructions for matchmaking players for gameplay sessions, the instructions, when executed by one or more physical processors of a host computer, cause the host computer to: communicate with a plurality of computing devices, wherein each of said plurality of computing devices is configured to interact with an instance of the multiplayer video game;identify a potential match of at least a first player and a second player to be placed in a gameplay session to play a said multiplayer video game;obtain a plurality of match variables used to assess the potential match, the plurality of match variables including at least a first match variable;obtain a plurality of coefficients used to provide weights to corresponding ones of the plurality of match variables, the plurality of coefficients including at least a first coefficient corresponding to the first match variable, wherein the first coefficient comprises a first default value;change the first default value to a first tuned value;generate a match score for the potential match based on the first match variable and the first coefficient having the first tuned value;determine whether the first player and the second player should be placed in the gameplay session based on a comparison of the match score to an adjusted threshold match score, wherein the host computer determines by obtaining at least a first wait time that indicates an amount of time that the first player has been waiting to be matched, adjusting a threshold match score based on the first wait time, and comparing the match score to the adjusted threshold match score;and cause the first player and the second player to be placed in the gameplay session responsive to a determination that the first player and the second player should be placed in the gameplay session.
Disclaimer: Data collected from the USPTO and may be malformed, incomplete, and/or otherwise inaccurate.
