Results for the query

Showing matches for "KABUSHIKI KAISHA SQUARE ENIX".

104 records found

Figure Patent No. Title Assignee Issue Date
U.S. Pat. No. 11,383,160 U.S. Pat. App. No. 16/996,296 VIDEO GAME PROCESSING APPARATUS AND VIDEO GAME PROCESSING PROGRAM PRODUCT KABUSHIKI KAISHA SQUARE ENIX August 18, 2020
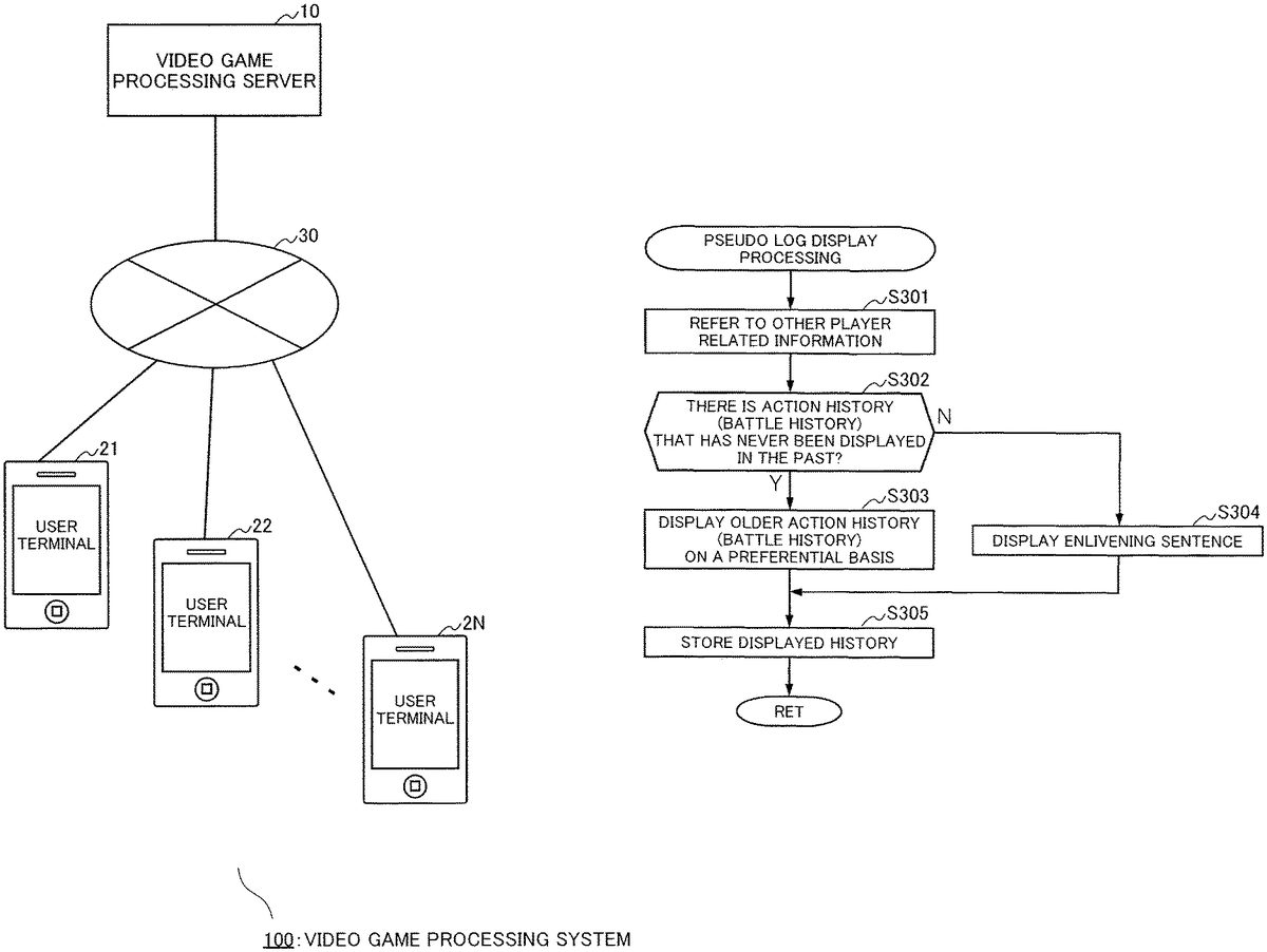
U.S. Pat. No. 11,504,621 U.S. Pat. App. No. 16/922,546 VIDEO GAME PROCESSING PROGRAM, VIDEO GAME PROCESSING SYSTEM AND VIDEO GAME PROCESSING METHOD KABUSHIKI KAISHA SQUARE ENIX July 7, 2020
U.S. Pat. No. 11,491,403 U.S. Pat. App. No. 16/902,913 VIDEO GAME PROCESSING PROGRAM AND VIDEO GAME PROCESSING SYSTEM KABUSHIKI KAISHA SQUARE ENIX June 16, 2020
U.S. Pat. No. 11,344,798 U.S. Pat. App. No. 16/822,857 VIDEO GAME PROCESSING APPARATUS AND VIDEO GAME PROCESSING PROGRAM KABUSHIKI KAISHA SQUARE ENIX March 18, 2020
U.S. Pat. No. 11,103,791 U.S. Pat. App. No. 16/746,235 AUTOMATIC MOVEMENT OF PLAYER CHARACTER IN NETWORK GAME KABUSHIKI KAISHA SQUARE ENIX January 17, 2020
U.S. Pat. No. 10,780,345 U.S. Pat. App. No. 16/719,135 VIDEO GAME PROCESSING APPARATUS AND VIDEO GAME PROCESSING PROGRAM PRODUCT KABUSHIKI KAISHA SQUARE ENIX December 18, 2019
U.S. Pat. No. 10,722,794 U.S. Pat. App. No. 16/715,429 VIDEO GAME PROCESSING PROGRAM, VIDEO GAME PROCESSING METHOD, AND VIDEO GAME PROCESSING SYSTEM KABUSHIKI KAISHA SQUARE ENIX December 16, 2019
U.S. Pat. No. 10,994,212 U.S. Pat. App. No. 16/597,668 VIDEO GAME PROCESSING APPARATUS AND VIDEO GAME PROCESSING PROGRAM KABUSHIKI KAISHA SQUARE ENIX October 9, 2019
U.S. Pat. No. 11,110,357 U.S. Pat. App. No. 16/544,387 VIDEO GAME PROCESSING PROGRAM, AND VIDEO GAME PROCESSING SYSTEM KABUSHIKI KAISHA SQUARE ENIX August 19, 2019
U.S. Pat. No. 10,974,131 U.S. Pat. App. No. 16/507,583 VIDEO GAME PROCESSING APPARATUS AND VIDEO GAME PROCESSING PROGRAM KABUSHIKI KAISHA SQUARE ENIX July 10, 2019

Disclaimer: Data collected from the USPTO and may be malformed, incomplete, and/or otherwise inaccurate.