Results for the query

Showing matches for "A63F2300/65".

136 records found

Figure Patent No. Title Assignee Issue Date
U.S. Pat. No. 8,540,570 U.S. Pat. App. No. 13/244,925 ONLINE GAME WITH MECHANIC FOR COMBINING VISUAL DISPLAY PARAMETERS OF VIRTUAL OBJECTS Zynga Inc. September 26, 2011
U.S. Pat. No. 8,425,308 U.S. Pat. App. No. 13/226,571 COUNTER-BALANCING IN-PLAY VIDEO GAME INCENTIVES/REWARDS BY CREATING A COUNTER-INCENTIVE International Business Machines Corporation September 7, 2011
U.S. Pat. No. 8,172,656 U.S. Pat. App. No. 13/204,536 ATTRIBUTE-DRIVEN GAMEPLAY Sony Interactive Entertainment LLC August 5, 2011
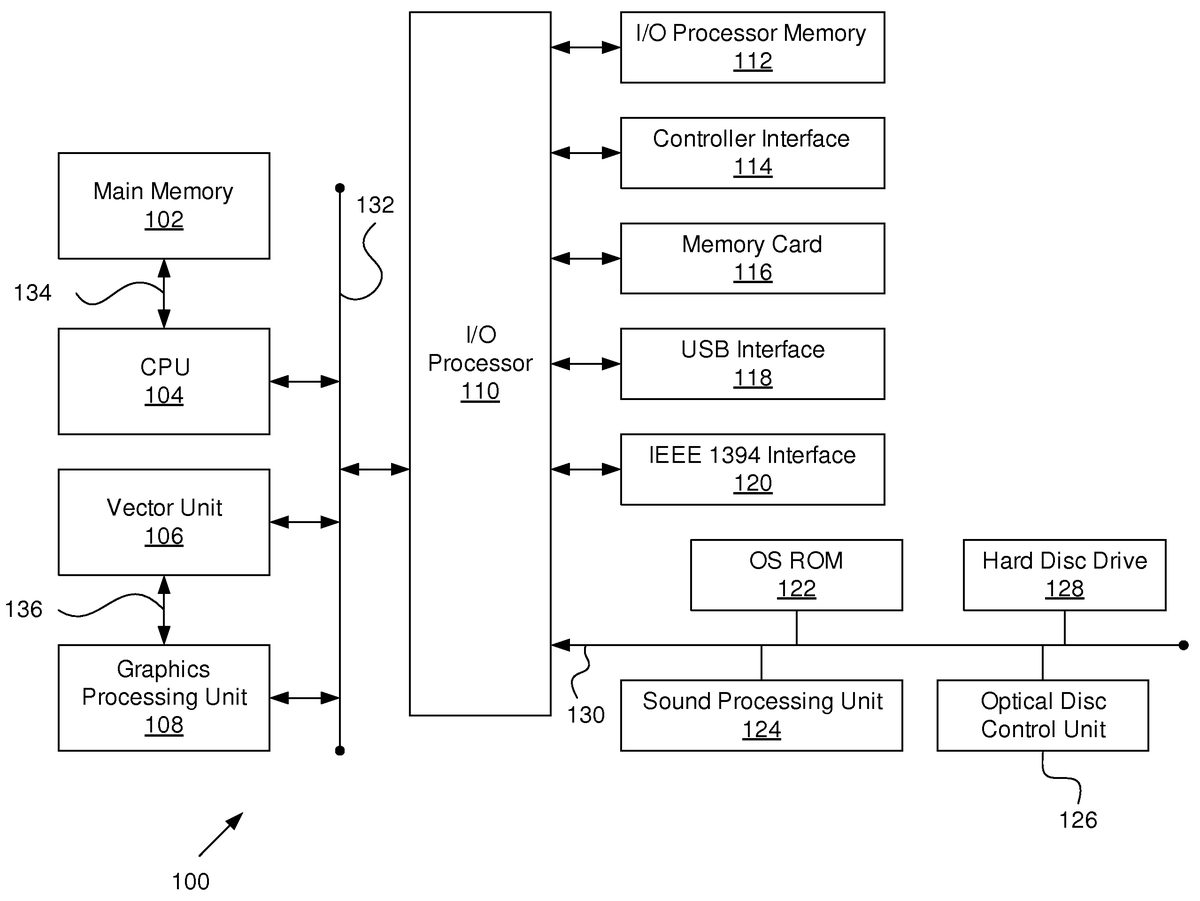
U.S. Pat. No. 8,914,136 U.S. Pat. App. No. 13/145,745 GAME CONTROL PROGRAM AND GAME DEVICE Sega Corp. July 21, 2011
U.S. Pat. No. 8,251,810 U.S. Pat. App. No. 13/175,979 VIDEO GAME THAT GENERATES CHARACTERS FROM OTHER CHARACTERS Leviathan Entertainment, LLC July 5, 2011
U.S. Pat. No. 8,974,309 U.S. Pat. App. No. 13/158,705 VIDEO GAME PROCESSING APPARATUS AND VIDEO GAME PROCESSING PROGRAM Kabushiki Kaisha Square Enix June 13, 2011
U.S. Pat. No. 9,381,430 U.S. Pat. App. No. 13/109,959 INTERACTIVE VIDEO GAME USING GAME-RELATED PHYSICAL OBJECTS FOR CONDUCTING GAMEPLAY Activision Publishing, Inc. May 17, 2011
U.S. Pat. No. 8,323,068 U.S. Pat. App. No. 13/091,441 VILLAGERS IN A VIRTUAL WORLD WITH UPGRADING VIA CODES Ganz April 21, 2011
U.S. Pat. No. 8,535,153 U.S. Pat. App. No. 12/978,764 Video Game System and Methods of Operating a Video Game Unknown assignee December 27, 2010
U.S. Pat. No. 8,282,454 U.S. Pat. App. No. 12/893,861 VIDEO GAME SYSTEMS AND METHODS INCLUDING MOVING THE PROTECTED CHARACTER BASED WITH THE MOVEMENT OF UNPROTECTED GAME CHARACTER(S) Nintendo Co., Ltd. September 29, 2010

Disclaimer: Data collected from the USPTO and may be malformed, incomplete, and/or otherwise inaccurate.