Results for the query

Showing matches for "A63F13/792".

119 records found

Figure Patent No. Title Assignee Issue Date
U.S. Pat. No. 11,439,916 U.S. Pat. App. No. 16/949,367 FOOD ORDERING VIA EMBEDDED LINKS IN VIDEO GAME ADVERTISING Paradigm Shift Technologies LLC October 27, 2020
U.S. Pat. No. 11,413,540 U.S. Pat. App. No. 17/021,628 SYSTEM AND METHOD FOR DYNAMICALLY DETERMINING CRAFTING PARAMETERS BASED ON USER USAGE RATE OF A VIRTUAL SPACE Kabam, Inc. September 15, 2020
U.S. Pat. No. 11,484,799 U.S. Pat. App. No. 17/018,432 SYSTEM AND METHOD FOR PROVIDING A QUEST FROM A PROBABILITY ITEM BUNDLE IN AN ONLINE GAME Kabam, Inc. September 11, 2020
U.S. Pat. No. 11,224,818 U.S. Pat. App. No. 16/944,840 SYSTEMS AND METHODS FOR TRANSFER OF RIGHTS PERTAINING TO GAME ASSETS BETWEEN USERS OF AN ONLINE GAMING PLATFORM Mythical, Inc. July 31, 2020
U.S. Pat. No. 11,148,063 U.S. Pat. App. No. 16/787,398 SYSTEMS AND METHODS FOR PROVIDING A CROWD ADVANTAGE TO ONE OR MORE PLAYERS IN THE COURSE OF A MULTI-PLAYER VIDEO GAME PLAY SESSION Activision Publishing, Inc. February 11, 2020
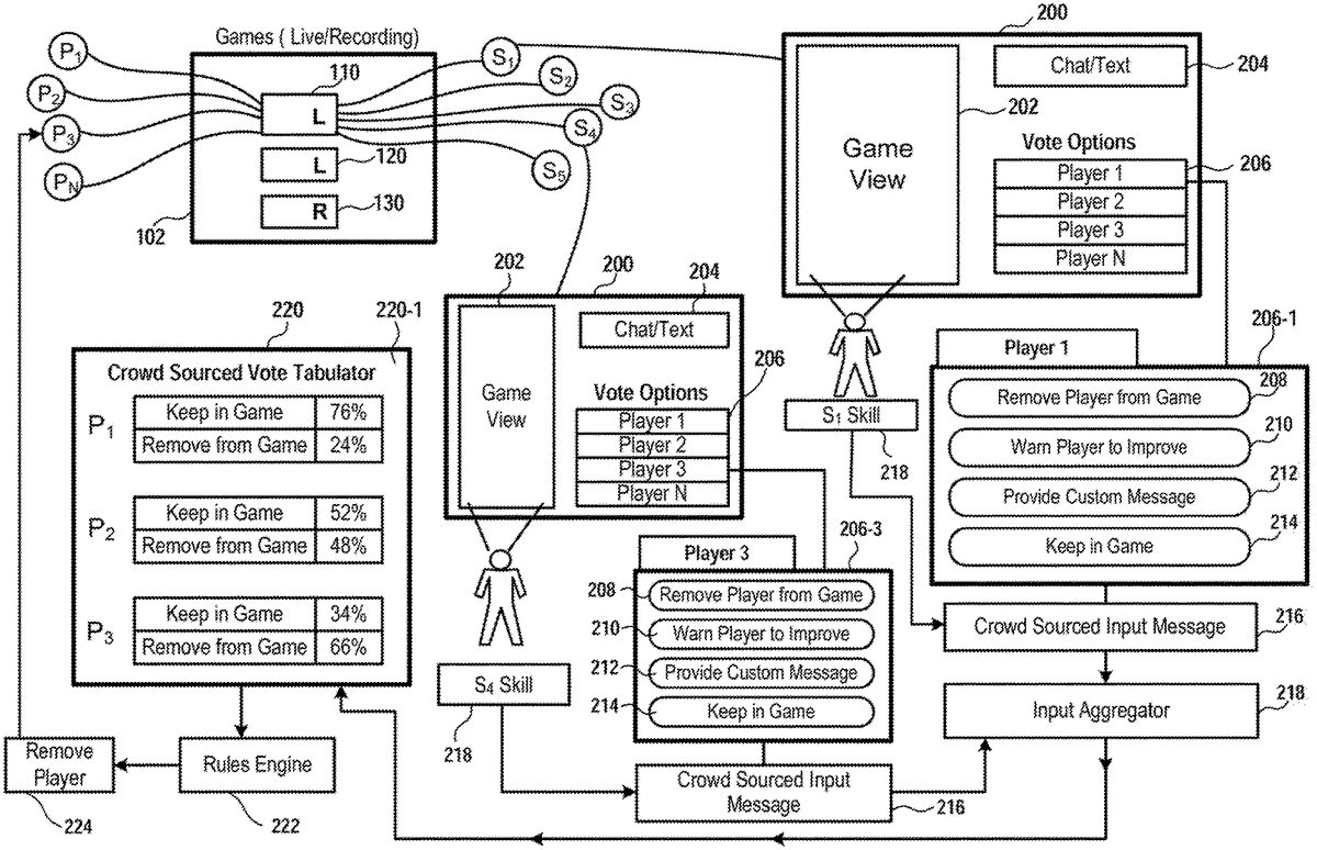
U.S. Pat. No. 11,148,061 U.S. Pat. App. No. 16/744,086 SPECTATORS VOTE TO BENCH PLAYERS IN A VIDEO GAME Sony Interactive Entertainment Inc. January 15, 2020
U.S. Pat. No. 10,786,741 U.S. Pat. App. No. 16/710,818 SYSTEMS AND METHODS FOR TRANSFER OF RIGHTS PERTAINING TO GAME ASSETS BETWEEN USERS OF AN ONLINE GAMING PLATFORM Mythical, Inc. December 11, 2019
U.S. Pat. No. 11,027,205 U.S. Pat. App. No. 16/703,516 VIDEO GAME PAGE PROVIDING INFORMATION AND FUNCTIONALITIES BASED ON VIDEO GAME LIFECYCLE AND USER CONTEXT Sony Interactive Entertainment Inc. December 4, 2019
U.S. Pat. No. 11,103,794 U.S. Pat. App. No. 16/657,571 POST-LAUNCH CROWD-SOURCED GAME QA VIA TOOL ENHANCED SPECTATOR SYSTEM Sony Interactive Entertainment Inc October 18, 2019
U.S. Pat. No. 10,799,796 U.S. Pat. App. No. 16/425,703 SYSTEM AND METHOD FOR DYNAMICALLY DETERMINING CRAFTING PARAMETERS BASED ON USER USAGE RATE OF A VIRTUAL SPACE Kabam, Inc. May 29, 2019

Disclaimer: Data collected from the USPTO and may be malformed, incomplete, and/or otherwise inaccurate.