Results for the query

Showing matches for "A63F2300/554".

158 records found

Figure Patent No. Title Assignee Issue Date
U.S. Pat. No. 11,423,944 U.S. Pat. App. No. 16/750,447 Method and System for Generating Audio-Visual Content from Video Game Footage Sony Interactive Entertainment Europe Limited January 23, 2020
U.S. Pat. No. 11,103,791 U.S. Pat. App. No. 16/746,235 AUTOMATIC MOVEMENT OF PLAYER CHARACTER IN NETWORK GAME KABUSHIKI KAISHA SQUARE ENIX January 17, 2020
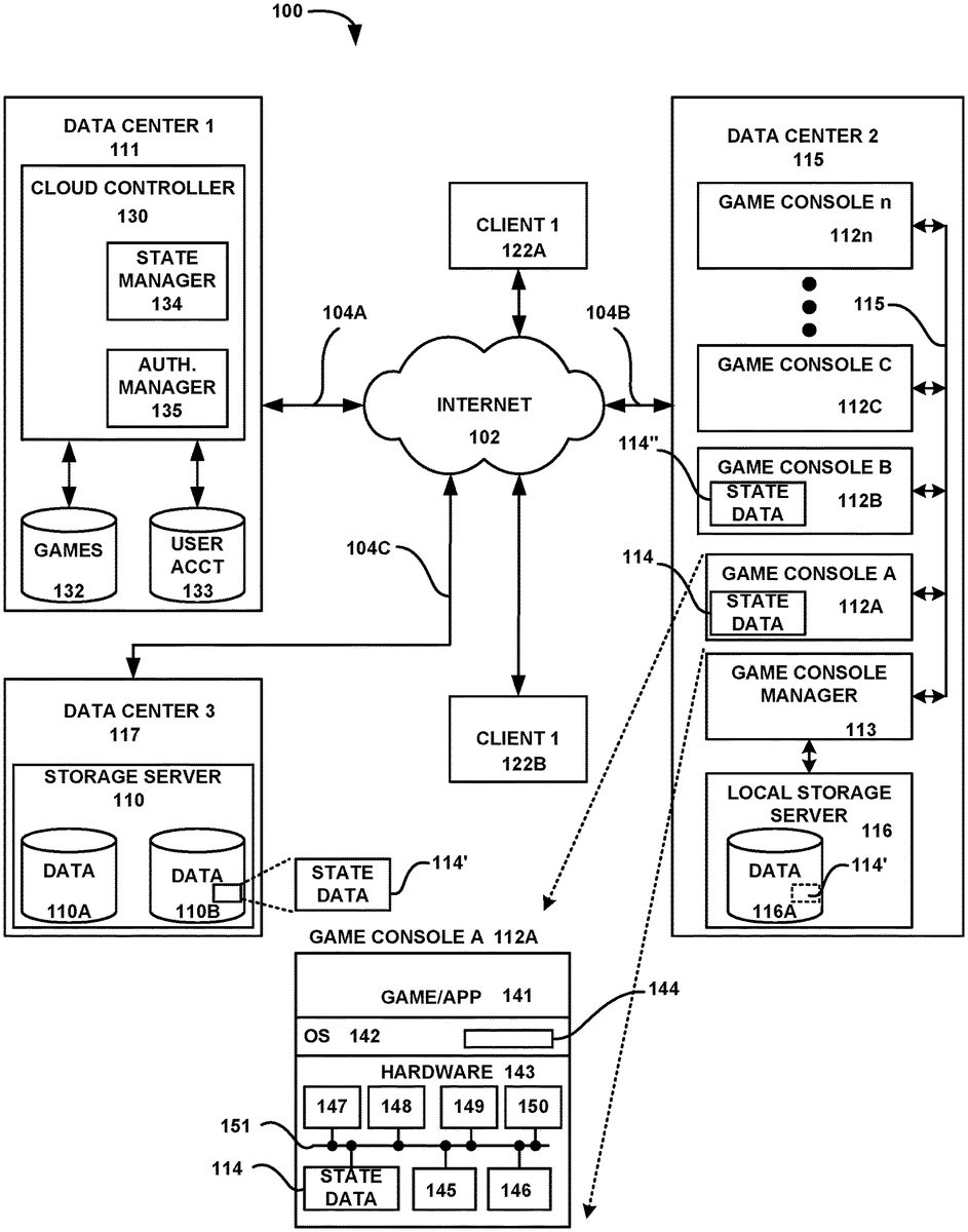
U.S. Pat. No. 10,814,227 U.S. Pat. App. No. 16/726,655 GAME STATE SAVE, TRANSFER AND RESUME FOR CLOUD GAMING Sony Interactive Entertainment LLC December 24, 2019
U.S. Pat. No. 11,590,419 U.S. Pat. App. No. 16/693,898 Web-Based Game Controller Sony Interactive Entertainment LLC November 25, 2019
U.S. Pat. No. 11,504,618 U.S. Pat. App. No. 16/687,410 SERVER-BASED VIDEO HELP IN A VIDEO GAME Sony Interactive Entertainment Inc. November 18, 2019
U.S. Pat. No. 10,918,939 U.S. Pat. App. No. 16/533,694 System and Method for Streaming Game Video Sony Interactive Entertainment LLC August 6, 2019
U.S. Pat. No. 10,946,281 U.S. Pat. App. No. 16/369,458 USING PLAYSTYLE PATTERNS TO GENERATE VIRTUAL REPRESENTATIONS OF GAME PLAYERS Nvidia Corp March 29, 2019
U.S. Pat. No. 10,493,364 U.S. Pat. App. No. 16/181,311 SYSTEMS AND METHODS FOR FITNESS AND VIDEO GAMES Unknown assignee November 5, 2018
U.S. Pat. No. 10,898,803 U.S. Pat. App. No. 16/177,874 VIDEO GAME PROCESSING APPARATUS AND VIDEO GAME PROCESSING PROGRAM KABUSHIKI KAISHA SQUARE ENIX November 1, 2018
U.S. Pat. No. 10,695,676 U.S. Pat. App. No. 16/034,507 STORAGE MEDIUM STORING GAME PROGRAM, INFORMATION PROCESSING SYSTEM, INFORMATION PROCESSING DEVICE, AND GAME PROCESSING METHOD Nintendo Co., Ltd. July 13, 2018

Disclaimer: Data collected from the USPTO and may be malformed, incomplete, and/or otherwise inaccurate.