Results for the query

Showing matches for "A63F13/10".

344 records found

Figure Patent No. Title Assignee Issue Date
U.S. Pat. No. 10,173,134 U.S. Pat. App. No. 15/396,169 VIDEO GAME OVERLAY Sony Interactive Entertainment America LLC December 30, 2016
U.S. Pat. No. 10,405,050 U.S. Pat. App. No. 15/299,118 METHODS AND APPARATUS FOR MONITORING VIDEO GAMES The Nielsen Company (US), LLC October 20, 2016
U.S. Pat. No. 9,821,228 U.S. Pat. App. No. 15/234,856 VIDEO GAME SYSTEMS AND METHODS Nintendo Co., Ltd. August 11, 2016
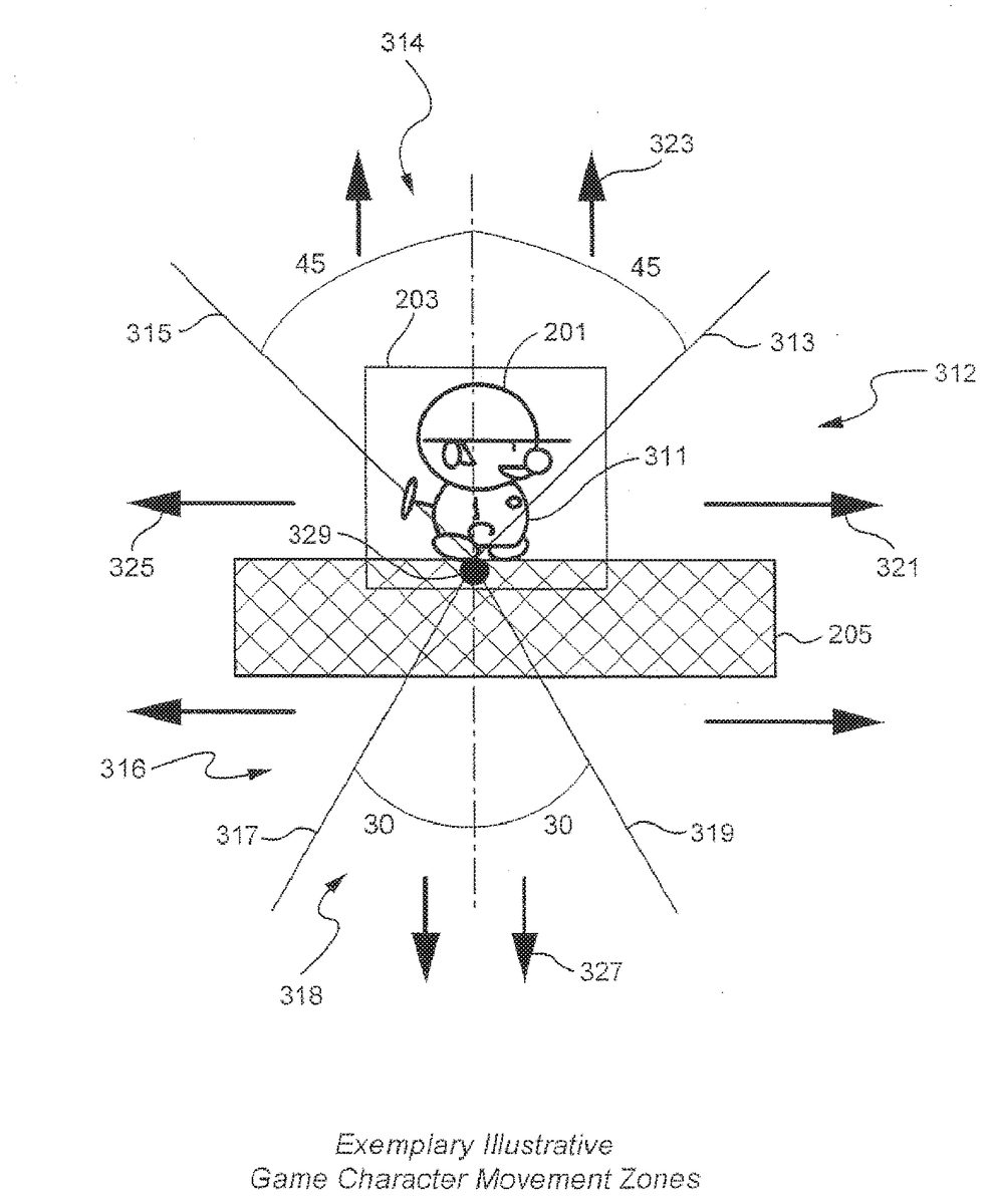
U.S. Pat. No. 9,604,133 U.S. Pat. App. No. 15/225,005 TOUCH-CONTROLLED GAME CHARACTER MOTION PROVIDING DYNAMICALLY-POSITIONED VIRTUAL CONTROL PAD Nintendo Co., Ltd. August 1, 2016
U.S. Pat. No. 9,770,652 U.S. Pat. App. No. 15/211,910 WIRELESS INTERACTIVE GAME HAVING BOTH PHYSICAL AND VIRTUAL ELEMENTS MQ Gaming, LLC July 15, 2016
U.S. Pat. No. 10,363,481 U.S. Pat. App. No. 15/198,324 SYSTEM FOR MULTI-USER COMMUNICATIONS USING DISCRETE VIDEO GAME PLATFORMS Nintendo Co., Ltd. June 30, 2016
U.S. Pat. No. 9,628,584 U.S. Pat. App. No. 15/184,231 Unified Location & Presence, Communication Across Real and Virtual Worlds AT&T Intellectual Property I, L.P. June 16, 2016
U.S. Pat. No. 9,962,612 U.S. Pat. App. No. 15/169,308 Apparatus, Method and Computer Readable Storage Medium for Guiding Game Play Via a Show Me Button Zynga Inc. May 31, 2016
U.S. Pat. No. 9,849,386 U.S. Pat. App. No. 15/168,830 Incorporating Player-Generated Audio in an Electronic Game SONY INTERACTIVE ENTERTAINMENT AMERICA LLC May 31, 2016
U.S. Pat. No. 10,258,880 U.S. Pat. App. No. 15/084,198 DYNAMIC SELECTION OF VOICE QUALITY OVER A WIRELESS SYSTEM MICROSOFT TECHNOLOGY LICENSING, LLC March 29, 2016

Disclaimer: Data collected from the USPTO and may be malformed, incomplete, and/or otherwise inaccurate.