Results for the query

Showing matches for "A63F13/352".

264 records found

Figure Patent No. Title Assignee Issue Date
U.S. Pat. No. 8,360,867 U.S. Pat. App. No. 13/556,375 VIDEO GAME WHICH DELIVERS AN OFFER TO A PLAYER Leviathan Entertainment, LLC July 24, 2012
U.S. Pat. No. 8,360,866 U.S. Pat. App. No. 13/556,322 PRODUCTS AND PROCESSES FOR TARGETING OFFERS TO PLAYERS IN A VIDEO GAME Leviathan Entertainment, LLC July 24, 2012
U.S. Pat. No. 8,907,891 U.S. Pat. App. No. 13/539,310 Methods and Systems for Playing Video Games with a Controller Having a Display that Shares Content with a Main Display Sony Computer Entertainment Inc. June 30, 2012
U.S. Pat. No. 9,339,728 U.S. Pat. App. No. 13/495,904 SYSTEM AND METHOD FOR MANAGING AUDIO AND VIDEO CHANNELS FOR VIDEO GAME PLAYERS AND SPECTATORS Sony Interactive Entertainment America LLC June 13, 2012
U.S. Pat. No. 8,636,589 U.S. Pat. App. No. 13/457,337 SYSTEMS AND METHODS THAT ENABLE A SPECTATOR'S EXPERIENCE FOR ONLINE ACTIVE GAMES Riot Games Inc April 26, 2012
U.S. Pat. No. 9,108,112 U.S. Pat. App. No. 13/370,781 GAME SYSTEM, GAME APPARATUS, STORAGE MEDIUM, AND GAME CONTROLLING METHOD FOR GAME PLAY USING A PLURALITY OF GAME APPARTUSES Nintendo Co Ltd February 10, 2012
U.S. Pat. No. 8,657,677 U.S. Pat. App. No. 13/266,969 CLIENT ACCOUNT MANAGING ARRANGEMENT ON AN ONLINE GAMING SYSTEM Ongame Services AB February 10, 2012
U.S. Pat. No. 8,613,646 U.S. Pat. App. No. 13/354,418 SYSTEMS AND METHODS FOR CONTROLLING PLAYER CHARACTERS IN AN INTERACTIVE MULTIPLAYER STORY Unknown assignee January 20, 2012
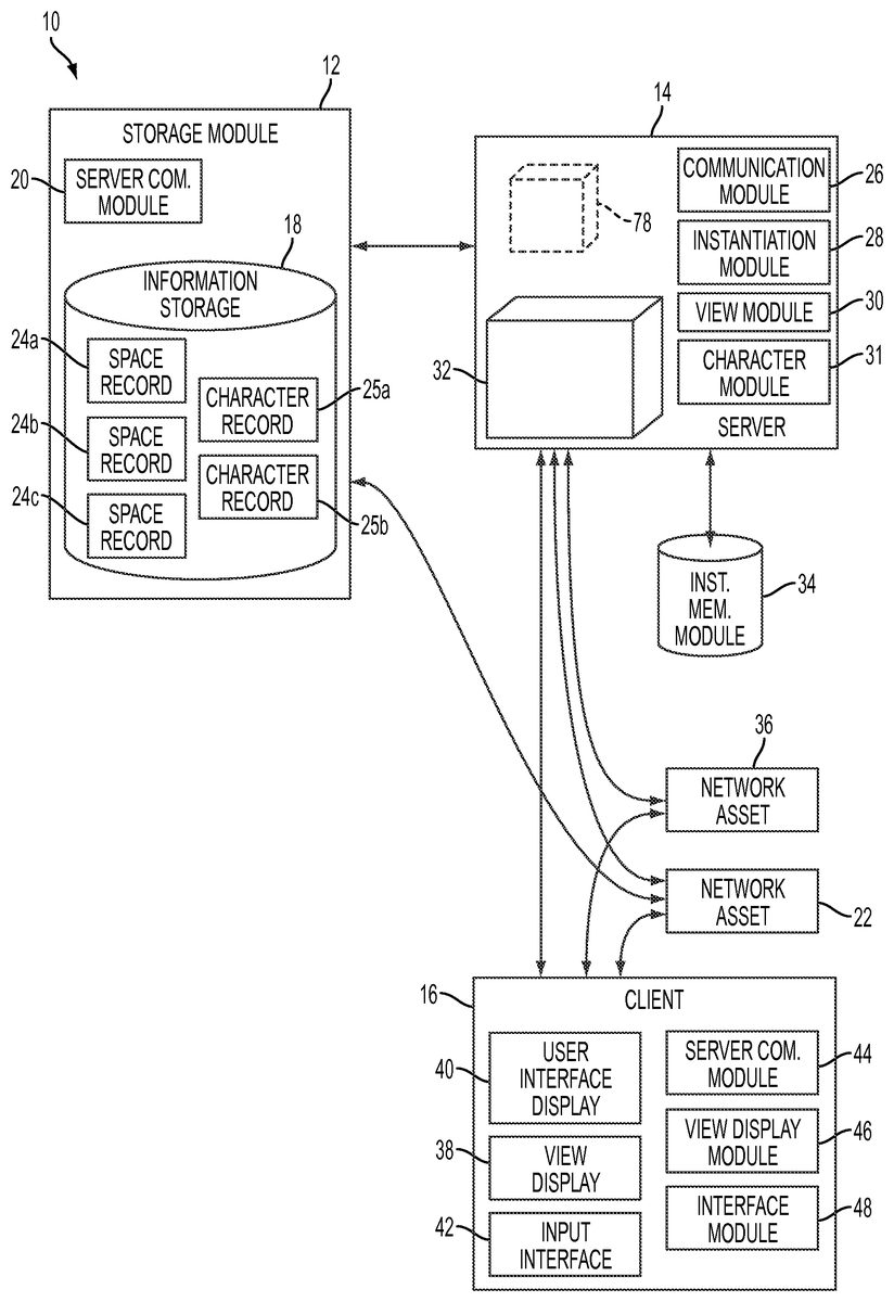
U.S. Pat. No. 9,550,121 U.S. Pat. App. No. 13/298,595 System and Method for Enabling Characters to be Manifested Within A Plurality of Different Virtual Spaces Disney Enterprises, Inc. November 17, 2011
U.S. Pat. No. 9,731,198 U.S. Pat. App. No. 13/244,857 MOBILE DEVICE INTERFACE FOR ONLINE GAMES Zynga Inc. September 26, 2011

Disclaimer: Data collected from the USPTO and may be malformed, incomplete, and/or otherwise inaccurate.