Results for the query

Showing matches for "A63F2300/8082".

160 records found

Figure Patent No. Title Assignee Issue Date
U.S. Pat. No. 8,425,322 U.S. Pat. App. No. 11/682,281 SYSTEM AND METHOD FOR COMMUNICATING WITH A VIRTUAL WORLD Sony Computer Entertainment America Inc. March 5, 2007
U.S. Pat. No. 7,493,558 U.S. Pat. App. No. 11/591,878 SYSTEM AND METHOD FOR ENABLING USERS TO INTERACT IN A VIRTUAL SPACE Worlds Inc November 2, 2006
U.S. Pat. No. 7,666,096 U.S. Pat. App. No. 11/471,280 Method for generating the left and right perspectives in a 3D videogame TDVision Corporation S.A. DE C.V. June 19, 2006
U.S. Pat. No. 7,699,755 U.S. Pat. App. No. 11/350,284 ISOMETRIC EXERCISE SYSTEM AND METHOD OF FACILITATING USER EXERCISE DURING VIDEO GAME PLAY IALabs-CA, LLC February 9, 2006
U.S. Pat. No. 8,585,476 U.S. Pat. App. No. 11/281,812 LOCATION-BASED GAMES AND AUGMENTED REALITY SYSTEMS Unknown assignee November 16, 2005
U.S. Pat. No. 7,690,975 U.S. Pat. App. No. 11/243,481 IMAGE DISPLAY SYSTEM, IMAGE PROCESSING SYSTEM, AND VIDEO GAME SYSTEM Sony Computer Entertainment Inc. October 4, 2005
U.S. Pat. No. 7,828,655 U.S. Pat. App. No. 10/798,531 APPLICATION PROGRAMMING INTERFACE FOR GEOGRAPHIC DATA IN COMPUTER GAMES Navteq North America, LLC March 11, 2004
U.S. Pat. No. 7,090,576 U.S. Pat. App. No. 10/609,507 PERSONALIZED BEHAVIOR OF COMPUTER CONTROLLED AVATARS IN A VIRTUAL REALITY ENVIRONMENT Microsoft Corporation June 30, 2003
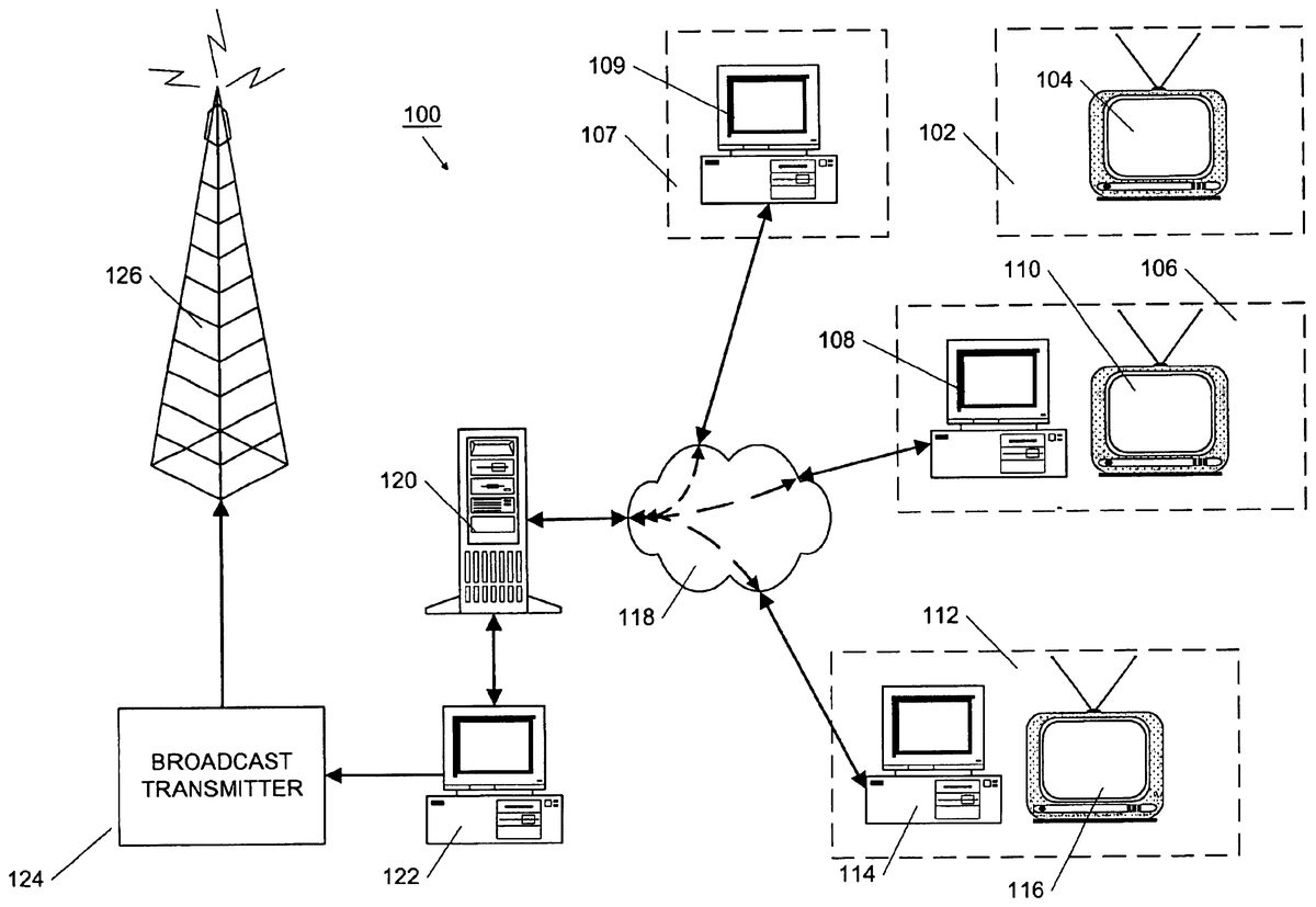
U.S. Pat. No. 6,783,460 U.S. Pat. App. No. 10/228,613 METHOD AND APPARATUS FOR COORDINATING AN INTERACTIVE COMPUTER GAME WITH A BROADCAST TELEVISION PROGRAM Unknown assignee August 26, 2002
U.S. Pat. No. 7,275,987 U.S. Pat. App. No. 09/976,519 VIRTUAL WORLD SYSTEM, SERVER COMPUTER AND INFORMATION PROCESSOR Sony Computer Entertainment Inc. October 12, 2001

Disclaimer: Data collected from the USPTO and may be malformed, incomplete, and/or otherwise inaccurate.